아이온큐가 특허로 '기술 신뢰도'를 쌓은 법

양자컴퓨팅 시대, IP 전략 제시

by 특허법인BLT
8ee48ae3a3a11.png


양자 컴퓨팅은 막대한 연구개발(R&D) 비용과 장기적인 투자가 필수적인 차세대 혁신 기술 분야입니다. 이처럼 불확실성이 높고 초기 투자 부담이 큰 영역에서 특허는 기업과 국가의 핵심 자산을 보호하는 가장 강력한 수단입니다. 특허는 어렵게 개발한 원천 기술과 알고리즘에 대한 독점적 권리를 법적으로 보장하여, 경쟁사들의 무단 도용을 막고 막대한 투자금을 회수할 수 있는 기반을 마련해 줍니다. 나아가, 강력한 특허 포트폴리오는 기술의 우위성을 입증하고 추가 투자를 유치하는 데 결정적인 역할을 하며, 향후 기술 상용화 시점에서 시장 진입 장벽을 구축하고 로열티 수입을 창출하는 핵심 도구가 됩니다. 결국, 치열한 글로벌 기술 패권 경쟁 속에서 양자 컴퓨팅 특허 확보는 단순한 기술 보호를 넘어 미래 시장의 주도권을 선점하기 위한 필수 생존 전략입니다.

이러한 상황에서 양자 컴퓨팅의 대표기업인 '아이온큐(IonQ)'가 구축하고 있는 'IP 포트폴리오'는 단순한 방어막을 넘어섭니다. 이는 기술력을 객관적으로 '실증'하는 증거이자, 기업 가치를 기하급수적으로 끌어올리는 핵심 자산으로 작동하고 있습니다.

'아이온큐(IonQ)'가 구축하고 있는 'IP 포트폴리오'는 단순한 방어막을 넘어섭니다. 이는 자사의 기술력을 객관적으로 '실증'하는 증거이자, 기업 가치를 기하급수적으로 끌어올리는 핵심 자산으로 작동하고 있습니다.



1. 아이온큐의 3중 계층 'IP 포트폴리오': 기술 신뢰도를 쌓아 올리는 설계도

아이온큐의 특허 전략이 무서운 이유는, 단순히 많은 수의 특허를 보유해서가 아닙니다. 그들은 양자 컴퓨팅 스택(stack) 전체를 지배하기 위해 설계된, 다각화되고 입체적인 3중 계층의 특허망을 구축하고 있습니다.

제1계층: 핵심 하드웨어의 '실증' (기술적 신뢰도 확보)

모든 기술 기업의 근간은 핵심 원천 기술입니다. 아이온큐는 자사의 '이온 트랩' 방식 하드웨어와 운영 시스템을 독점하기 위한 특허에 집중합니다.

그 중 US 12,424,344(Electrode fabrication and die shaping for metal-on-glass ion traps) 특허는 주목할 만합니다. 이는 '높은 개구수(NA)의 광학적 접근성'이라는, 큐비트 제어의 핵심 난제를 해결한 구체적인 반도체 공정 기술을 명시합니다.


62a17ae79d95c.png <US 12,424,344 Fig.7 : 금속-은 유리 이온 트립에 사용될 수 있는 젖극 구조의 예시>


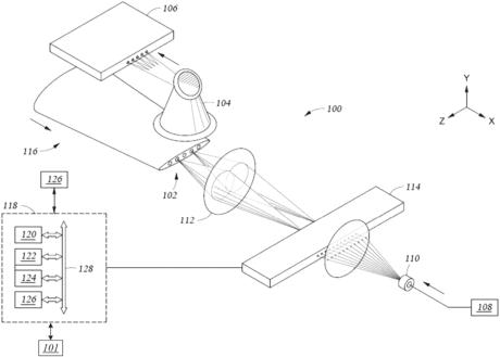
US 12,412,112(Improving quantum gate infidelity in trapped ion quantum computers) 특허 역시, 높은 게이트 충실도를 방해하는 노이즈 문제를 해결하는 실질적인 엔지니어링 해법을 제시합니다.


150f91ba2dc98.png <US 12,412,112 Fig.1 : 이온 트랩 양자 컴퓨터의 개념도.>


이러한 특허들은 아이온큐의 기술이 단순한 이론이나 실험실 수준의 아이디어가 아님을 증명합니다. 특허 명세서는 그 기술이 '실제로 구현 가능함'을 입증해야 하기에, 특허 포트폴리오 그 자체가 바로 가장 강력한 '기술 실증 자료'이자 '신뢰도의 원천'이 됩니다.


제2계층: 인터페이스 및 응용 SW '통제' (시장 가치 창출)

아이온큐는 하드웨어를 넘어, 사용자와 고전 컴퓨터가 양자 컴퓨터와 상호작용하는 소프트웨어 및 클라우드 접속 계층까지 특허로 통제하려 합니다. 최근 이들이 집중하는 G06N-010/40 (양자 컴퓨팅을 이용한 AI/ML) 분야 특허는, 자신들의 하드웨어가 실제 산업(AI, 머신러닝)에서 어떻게 '가치'를 창출할 수 있는지를 구체적으로 보여줍니다.

이는 투자자들에게 "우리는 칩만 만드는 회사가 아니라, 이 칩을 활용한 솔루션 시장 전체를 노리고 있다"는 명확한 메시지를 전달하며 기업 가치를 배가시킵니다.

제3계층: 미래 시장 '선점'

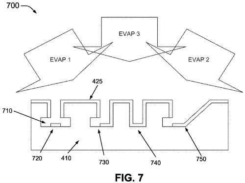
가장 공격적인 전략은 M&A 및 기술이전을 통한 미래 시장 선점입니다. 아이온큐가 인수한 기술 중 하나인 '분산 양자 컴퓨팅' 및 네트워킹 특허(예: US 12,260,113 "양자 네트워크 노드를 위한 휴대용 양자 메모리 패키지")는 현재의 경쟁을 넘어섭니다.



fe956ed935e7f.png <US 12,260,113 Fig. 1A, Fig, 1B: 외부 패키지 내에 양자 메모리 및 양자 메모리 제어 장치가 포함된 양자 리피터와 같은 패키지형 양자 메모리 장치>


이는 설령 경쟁사가 더 나은 프로세서를 개발하더라도, 결국 아이온큐가 표준을 선점한 '양자 인터넷' 기술에 종속될 수밖에 없게 만드는 장치입니다. 이 전략은 기업의 '지속가능성'과 '미래 가치'를 담보합니다.



2. 다각화된 특허 전략이 기업 가치를 극대화하는 이유

아이온큐의 사례는 특허 전략이 왜 스타트업의 기업 가치 평가에 결정적인 영향을 미치는지 명확히 보여줍니다.

첫째, 기술의 '객관적 신뢰도'를 입증합니다.

특히 양자 컴퓨팅이나 AI, 바이오와 같은 딥테크 분야는 기술이 너무 복잡하여 투자자나 시장이 그 실체를 파악하기 어렵습니다. 이때 특허청의 엄격한 심사를 통과한 '등록 특허'는 해당 기술이 독창적이며 실현 가능함을 국가 기관이 공인해 준 '신뢰의 징표' 역할을 합니다. 하드웨어부터 응용 소프트웨어까지 다각화된 포트폴리오는 특정 부품이 아닌, '시스템 전체의 완성도와 신뢰도'를 증명합니다.

둘째, 강력한 '경제적 해자(Moat)'를 구축합니다.

시장은 냉정합니다. 아무리 뛰어난 기술이라도 경쟁사가 쉽게 모방할 수 있다면 가치는 급락합니다. 아이온큐가 구축한 1,000건 이상의 IP 포트폴리오는 경쟁사들이 자사의 핵심 기술을 우회하는 것을 거의 불가능하게 만듭니다. 이 강력한 진입 장벽은 아이온큐가 시장의 과실을 독점할 수 있는 권리를 보장하며, 이는 그대로 기업 가치에 반영됩니다.

셋째, R&D 투자를 '수익화 자산'으로 전환합니다.

아이온큐는 2025년 4분기부터 본격적인 특허 라이선싱을 통한 수익 창출을 예고하고 있습니다. 이는 막대한 R&D 비용을 '지출'이 아닌 '수익을 창출하는 자산'으로 전환시키는 전략입니다. 특허는 방어용 방패일 뿐만 아니라, 그 자체로 수억 달러의 로열티 수익을 가져다줄 수 있는 공격용 창입니다. 기업 가치를 평가할 때, 이러한 '무형 자산의 수익화 가능성'은 핵심적인 플러스 요인입니다.



3. 대한민국 스타트업을 위한 제언: 신뢰도와 가치를 위한 'IP 포트폴리오' 준비

아이온큐의 사례는 현대 기술 기업의 성공 공식이 핵심 기술 R&D와 다각화된 IP 전략이 공존해야 가능함을 시사하고 있습니다.

많은 한국 스타트업이 제품 개발(1계층)에만 몰두하다가, 그 제품을 활용한 응용 서비스(2계층)나 차세대 기술(3계층)에 대한 IP 확보를 놓치고 있습니다. 이는 마치 성문은 견고하게 지켰으나, 성으로 들어오는 길목과 미래 식량 수급로를 모두 적에게 내어준 것과 같습니다.

R&D와 IP 전략을 동시에 기획하십시오. 기술 개발 방향과 특허 포트폴리오 전략은 처음부터 한 몸처럼 움직여야 합니다.

핵심 기술뿐만 아니라 '응용 기술'과 '미래 기술'까지 다각화하십시오. 우리 기술이 어떻게 사용될지(소프트웨어), 그리고 어떻게 연결될지(네트워킹)까지 특허로 선점해야 합니다.

IP를 '비용'이 아닌 '기업 가치를 증명하는 자산'으로 인식하십시오. 강력한 특허 확보는 기술의 신뢰도를 높이고, 투자 유치를 이끌며, 미래 수익을 담보하는 전략입니다.

아이온큐의 'IP 포트폴리오'는 이미 완성을 향해 가고 있습니다. 이 '특허 전쟁'은 양자 분야를 넘어 AI, 바이오 등 모든 딥테크 산업으로 확산될 것입니다.

우리 기업이 기술적 신뢰도를 증명하고 압도적인 기업 가치를 인정받기 위한, 우리만의 견고하고 다각화된 'IP 포트폴리오' 구축하여 아이온큐에 버금가는 기업가치를 인정받기를 바랍니다.




BLT 칼럼은 BLT 파트너변리사가 작성하며 매주 1회 뉴스레터를 통해 발행됩니다.

뉴스레터 구독신청


필자 소개
박기현 변리사는 카이스트 전기 및 전자공학부를 졸업하고 2015년 52기 변리사 시험에 합격했습니다.
국내 대기업의 기술 권리화, 특허 분쟁 대응 및 컨설팅 경험을 보유하고 있으며, 자율 주행, 영상 처리, 의료기기, 기계학습, 디스플레이, 단말 UI/UX, IP 포트폴리오 설계 및 IP 심판 소송 분야를 담당하고 있습니다.


특허법인 BLT

누군가는 특허를 만들 때, BLT는 당신의 사업의 성공을 만들어 냅니다. The Only Firm for Your Success!

#아이온큐 #양자컴퓨팅 #특허 #특허전략 #IP전략 #IP포트폴리오 #기술신뢰도 #기업가치 #경제적해자 #R&D전략 #딥테크 #지식재산권 #특허법인 #변리사


keyword