최민정·김길리의 금빛 레이스

‘투혼’ 뒤에 설계된 특허 기술의 힘

by 특허법인BLT
최민정 김길리 2.png


며칠 전 막을 내린 2026 밀라노-코르티나 동계 올림픽에서 최민정, 김길리 선수를 포함하여 팀 코리아가 거둔 눈부신 금메달 소식은 대한민국 쇼트트랙의 저력을 다시 한번 증명했다. 빙판 위의 찰나의 순간에 승부를 결정지은 것은 선수의 강인한 정신력이었지만, 그 이면에는 선수의 모든 움직임을 완벽하게 뒷받침하도록 정밀하게 설계된 특허 기술의 힘이 있었다. 대한민국 에이스들이 밀라노의 빙판 위를 지배할 수 있었던 기술적 설계도를 분석한다.



1. 0.01mm의 오차도 허용하지 않는 정밀 공학: 스케이트 날 벤딩 기술

쇼트트랙의 승부는 찰나의 코너링에서 결정된다. 선수가 빙판에 거의 누운 채 원심력을 견뎌내며 아웃코스를 돌 때, 스케이트 날이 얼음을 파고드는 정밀한 궤적은 곧 메달의 색깔을 결정한다. 과거에는 숙련자의 감각에만 의존하던 날의 곡률 조정이 이제는 정밀 공학의 영역으로 들어왔다.


dc155c74116a0.png
93659bae0a5b3.png
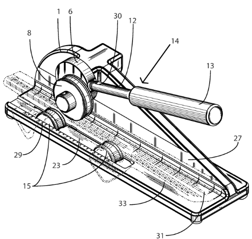
EP 3 624 909 B1의 도면


감각의 수치화(EP 3 624 909 B1 등): 이 장치는 비틀림 강성을 극대화한 일체형 본체 구조(1)를 통해 날에 가해지는 벤딩 압력을 정밀하게 제어한다.\


이 장치를 통해 장인의 ‘손맛’으로 불리던 영역이 기술적 표준으로 전환되었다. 작업자는 장치 상단에 설계된 핸드 그립 레일(28)을 통해 가해지는 압력을 손끝으로 직접 느끼며 피드백을 얻을 수 있고, 눈금 마크(29)를 활용해 선수마다 다른 최적의 곡률을 언제든 완벽하게 반복 재현해낸다.



2. 데이터로 완성하는 완벽한 훈련: 스마트 자세 분석 기술

결승선을 가장 먼저 통과하기 위해서는 레이스 내내 공기 저항을 최소화하고 완벽한 신체 안정성을 유지해야 한다. 특허 기술을 통해, 선수의 미세한 움직임을 데이터로 치환하여 보이지 않는 약점까지 보완할 수 있게 되었다.

운동 능력 정밀 추정 (KR 10-2865385 B1 등): 웨어러블 장치로부터 수집된 센서 데이터를 통해 선수의 유연성, 근력, 코어 안정성 등 운동 능력을 과학적으로 추정하고, 훈련 조건에 따라 실시간으로 저항력의 세기를 변경하여 최적의 훈련 부하를 적용한다.


자세의 실시간 보정 (KR10-2024-0123201 A 등): 선수의 머리 자세를 기준으로 좌표계를 실시간 변환하여 자세값을 보정함으로써, 극한의 레이스 중에도 가장 효율적인 자세를 유지하도록 즉각적인 피드백을 제공한다.


훈련은 이제 감이 아닌 데이터의 영역이다. 하드웨어에 소프트웨어적 데이터를 입히는 특허 기술을 바탕으로, 선수에게 최적의 훈련 효과를 제공할 수 있다.



3. 물리적 제약을 뛰어넘은 트레이닝 인프라: 지상 훈련용 시뮬레이터 기술

빙상 훈련은 장소와 시간의 제약이 크다. 시뮬레이션 기술을 통해, 선수들이 올림픽을 준비하며 빙판 밖에서도 실전 감각을 날카롭게 유지하도록 도울 수 있게 되었다.


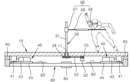
3d84718e5fc2a.png KR 10-1375101 B1의 도면

지상 훈련의 과학(KR 10-1375101 B1 등): 회전판(10)과 회전축 모듈(50)을 활용하여 지상에서도 직선 및 곡선 주로를 선택적으로 연습할 수 있게 구현한다.


가이드바(56)를 통해 훈련자의 자세를 구속하고, 실제 빙판 위에서의 회전력과 저항감을 지상에서 정밀하게 재현함으로써 사계절 내내 중단 없는 훈련 환경을 제공할 수 있으므로, 외부 환경의 리스크에 구애 받지 않고 핵심 역량을 강화할 수 있게 되었다.



4. 선수를 지키는 마지막 안전망: 방탄 소재 기술

충돌이 잦은 쇼트트랙에서 날카로운 스케이트 날에 의한 부상 위험은 선수 생명과 직결된다. 특허 기술을 통해, 선수들이 안전하게 경기에 집중할 수 있게 되었다.

칼날을 무력화하는 기술 (US 9,896,586 B2 등): 이 특허는 단순히 질긴 섬유를 쓰는 것을 넘어, 고성능 폴리에틸렌(HPPE) 필라멘트에 미세한 무기물 입자나 섬유(유리 섬유, 미네랄 울 등)를 결합하는 기술로, 날카로운 칼날이 닿는 순간 그 끝을 무디게 만들어 섬유가 잘리지 않도록 보호한다.


더욱이, 이 소재는 매우 가벼우면서도 신축성이 뛰어나 선수의 폭발적인 움직임을 전혀 방해하지 않는다.



마무리하며

이번 밀라노의 영광은 선수들의 투혼과 이를 뒷받침한 촘촘한 기술적 그물망이 만들어낸 필연적인 결과다. 비즈니스라는 빙판 위에서도 승리의 원리는 같다. 눈에 보이지 않는 기술적 자산을 '특허'라는 명확한 권리로 치환하고, 이를 비즈니스 전략과 결합하는 '설계된 혁신'만이 치열한 시장에서 지속적인 승리를 담보한다. 우연에 기대지 않는 강력한 IP 포트폴리오는, 기업이 어떤 위기 상황에서도 가장 날카로운 속도를 낼 수 있게 만드는 최고의 장비가 될 것이다.




BLT 칼럼은 BLT 파트너변리사가 작성하며 매주 1회 뉴스레터를 통해 발행됩니다.

뉴스레터 구독신청


필자 소개

서일효 파트너 변리사는 서울대 전기공학부를 졸업하고 2009년 46기 변리사 시험에 합격했습니다. 국내 대기업의 국내외 특허출원 업무와 해외 대기업의 국내 특허출원 업무에 대한 경험을 가지고 있으며, 현재 중소기업의 특허출원 업무 및 특허 컨설팅 업무를 주로 진행하고 있습니다. 직무발명 컨설턴트로도 활동하고 있으며, 기술임치나 영업비밀과 같이 특허와 더불어 기업을 보호할 수 있는 제도에 대하여 관심이 많습니다.


특허법인 BLT

누군가는 특허를 만들 때, BLT는 당신의 사업의 성공을 만들어 냅니다. The Only Firm for Your Success!!

#특허 #쇼트트랙 #최민정 #김길리 #스케이트 #웨어러블 #시뮬레이터 #방탄유니폼 #지식재산권 #특허법인 #변리사