brunch
매거진 애플뉴스

3월 다섯째주, 애플 루머 & 소식 정리!

by 케이머그
ios9-logo.png?type=w1200

Safari 등의 링크가 반응하지 않는 문제가 수정된 iOS 9.3.1 소프트웨어 업데이트.


Apple이 iTunes와 iOS 기기의 소프트웨어 업데이트를 통해 'iOS 9.3.1 소프트웨어 업데이트를 제공합니다. 이 업데이트에서는 Safari 및 기타 App에서 링크를 탭 하면 App이 반응하지 않던 문제 수정되었습니다.



investor_hero.jpg?type=w1200

2016년 2분기 실적을 한국 시간 4월 26일 화요일 발표.


Apple은 한국 시간으로 4월 26일 화요일 오전 6시부터 2016년 2분기 (2016년 1 ~ 3월) 실적 발표에 따른 콘퍼런스 콜을 예정한다고 합니다. 이번엔 어떤 기록을 보여줄지 기대됩니다.



ios_device_cases_2x.jpg?type=w1200

iOS 기기의 케이스 설계 가이드 문서인 Case Design Guidelines for Apple Devices Release R11 업데이트.


Apple은 iOS 기기의 케이스 설계 가이드 문서인 Case Design Guidelines for Apple Devices Release R11가 업데이트 되었습니다. 이 문서에는 iPhone SE , iPad Pro (9.7-inch)의 크기가 추가되어 있습니다. 가이드라인은 강제는 아니지만 따르지 않는 경우 Apple Store에서 판매되지 않습니다.

이번 업데이트에는 보호 필름의 두께에 대해 지금까지 0.3mm 이하에서 0.1mm 이하로 변경되었습니다. 또한, 기기의 아랫부분에 위치한 사운드 출력 포트 방향에 대한 세세한 규정이 추가되어 있습니다. 원래 케이스는 스피커 또는 마이크 포트를 방해해서는 안된다고만 표시되었지만, 이번에는 구체적인 수치를 표현했습니다.



160224162849_apple_vs_fbi_scale_780x439.jpg?type=w1200

법무부, FBI 수사에서 Apple과 소송 취하.


로이터에 따르면, 법무부는 3월 20일 용의자의 iPhone을 잠금 해제하는 방법 알고 있다는 제3의 인물이 FBI에 접촉을 했다고 전하며, 공청회를 연기하였습니다. 그동안 제3의 인물이 용의자의 iPhone을 해제에 성공하였고 데이터에 액세스할 수 했다며 소송 자체를 철회했습니다.

법무부는 재판 자료에서 Apple의 지원은 더 이상 필요 없다. 고 코멘트하며 연방 지방 법원 판사에 대해 Apple에 수사 협력을 명령 판단의 철회를 요구했다고 합니다.



kuntz_ipad_1280_o6mw23yq_18kfldwj.jpg?type=w1200

메이저 리그 팀에 iPad Pro 공급 계약 체결.


메이저 리그 팀에서 감독과 코치가 사용할 태블릿으로 iPad Pro가 선정되며 공급될 예정이라고 합니다.

각 감독과 코치들은 iPad Pro로 MLB dugout 앱을 이용하여 과거의 게임 데이터 및 비디오를 보며 분석 할 수 있고, 또 투수와 타자의 궁합을 시뮬레이션해보는 등을 여러 가지 일들을 할 수 있다고 합니다. Apple 월드 와이드 마케팅 수석 부사장, Philip Schiller는 "우리는 기존의 종이 바인더를 태블릿에서 대체 하자는뿐만 아니라 이전에는 불가능했던 것을 실현할 수 있도록 보여 줄 것이다. "라고 코멘트하고 있습니다.

*2013년 Microsoft는 내셔널 풋볼 리그와 Surface 공급 계약하였습니다.


16350_13087_16038_12613_15673_12092_12807_7076_iphone6_tricolor_l_l_l_l.jpg?type=w1200

궈밍치, iPhone 7은 곡면 유리 케이스를 채용하고 5.8인치 AMOLED 디스플레이를 탑재?


KGI Securities의 애널리스트 궈밍치는 차기 iPhone 7에 대해 iPhone 4 / 4S와 같은 강화 유리를 채용 한 케이스와 유사한 디자인으로 측면은 금속과 플라스틱이나 세라믹 등을 탑재할 것으로 예측된다고 전하고 있습니다. 또한 Apple은 5.8인치 AMOLED 디스플레이를 채용할 계획을 갖고 있지만, 필요한 부재 조달 수가 어려운 경우 5.5 인치 TFT LCD 디스플레이를 채택할 수밖에 없다고 합니다.

새롭게 출시될 iPhone 7은 무선 충전, FaceTime 카메라를 이용한 얼굴 인증 시스템이나 눈의 인증 등 새로운 생체 인증 시스템을 채택할 가능성도 있는 것 같습니다. 이 정보와 관련하여 차기 iPhone에 관한 최종 사양 결정은 2016년 4월 마무리될 것 같고, 현재 최종 사양 결정을 위해 제안의 구체화가 되고 있다고 합니다.


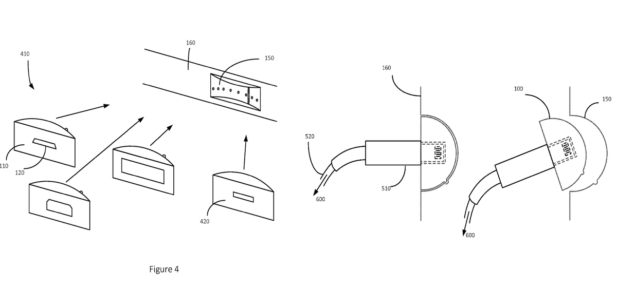
apple-patent-universal-magnetic-adapter.png?type=w1200

유니버설 마그네틱 어댑터 특허 출원.

Apple은 각종의 케이블을 사용하여 Mag Safe를 이용할 수 있는 어댑터에 대한 특허를 출원하고 있습니다.



ShowImage.jpg?type=w1200

애플 우주선 캠퍼스 2. 3월 다섯째 주 공사 현장 모습.

미국 캘리포니아주 쿠퍼티노시는 Apple의 신사옥 Apple Campus 2의 새로운 항공 사진을 공개합니다.

Apple Campus 2는 2013년 4분기에 착공되었으며, 2016년 4분기 완공 예정입니다.



fb_ad.jpg?type=w1200



더 읽어보면 재밌는 글

글.구성 : 케이머그

애플에 대한 모든 것. 케이머그

http://m.kmug.co.kr

https://brunch.co.kr/@kmug


keyword
매거진의 이전글애플 40주년 기념 파티 현장