brunch
매거진 M투데이 픽

차량 내에 드론이 탑재? 벤틀리, 신형 기술 특허 출원

by M투데이
521978_140759_341.jpg 출처=벤틀리모터스 SNS


영국 럭셔리 카 브랜드 벤틀리모터스가 차량 내 드론을 탑재할 수 있는 새로운 기능을 특허로 출원했다.


해외 자동차 전문매체 카스쿱스가 공개한 특허 이미지에 따르면, 해당 기능은 차량의 보닛에 네 개의 작은 프로펠러와 '플라잉 B' 배지를 갖춘 소형 드론을 배치한 것이 특징이다.

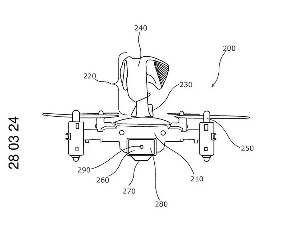
521978_140760_3435.jpg 사진 : 벤틀리가 출원한 드론 특허 이미지


무게가 250g 수준으로 매우 가벼운 이 드론은 교통 체증을 피할 수 있는 대체 경로 또는 주차 공간을 찾거나, 소유주를 차량으로 안내하는 등 다양한 용도로 활용할 수 있을 것으로 예상된다.


소유주의 스마트폰이나 태블릿, 컴퓨터 등을 통해 조작 가능하며, 차량의 인포테인먼트 시스템으로 제어할 수 있다. 사용 후에는 차량의 보닛 내부에서 충전한다.

521978_140761_3446.jpg 사진 : 벤틀리가 출원한 드론 특허 이미지


특허 이미지를 통해 확인 가능한 드론 디자인은 아직 초기 단계인 것으로 알려졌는데, 벤틀리는 플린스(Plinth, 받침대) 또는 코핀(coffin, 관) 형태의 드론을 목표로 하고 있으며, 플라잉 B 배지 등에 조명도 추가할 계획이다.


특허 출원만으로 벤틀리가 이러한 소형 드론 탑재 기술을 시장에 출시할 계획이 있는지 여부를 판단하기는 어렵지만, 많은 고민이 이루어진 만큼 가능성은 충분할 것으로 보인다.




keyword
매거진의 이전글위장막 드러낸 신형 스포티지, 쏘렌토 판박이네!