brunch

삼성디스플레이, 진동 감지 디스플레이 특허 공개

by M투데이
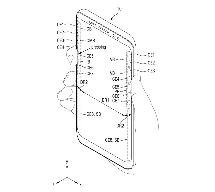
524770_147721_054.jpg 삼성디스플레이가 출원한 '포스 센서와 진동 발생기를 포함한 디스플레이 장치' 특허 (출처 : USTPO)

삼성디스플레이가 터치하는 곳에만 진동이 감지되는 패널 기술을 개발했다.


지난 12일(현지시간) 미국특허청(USPTO)는 지난 5일(현지시간) 삼성디스플레이가 출원한 '포스 센서와 진동 발생기를 포함한 디스플레이 장치(Display Device including Force Sensor and Vibration Generator)'라는 제목의 특허를 공개했다. 지난해 2월 신청한지 1년 9개월여 만이다.


삼성디스플레이의 특허는 터치 기능을 물리적 버튼 대신 활용하는 방안을 담고 있다. 디스플레이 가장자리에 여러 개의 작은 진동 장치와 터치나 압력을 감지하는 센서를 배치해 볼륨, 전원, 애플리케이션 실행 버튼 등으로 이용할 수 있게 하는 것이다.


진동 장치를 차폐로 둘러싸 진동의 정확도를 높였다. 터치 지점에 바로 진동 피드백을 줘 이용자가 실제 버튼을 누르는 느낌을 받을 수 있도록 한다. 접착제 층과 프레임 등의 구성 요소를 함께 고정하고 추가 방수 처리로 먼지와 습기도 차단한다.


특히, 물리적 버튼을 없애고 가장자리가 곡면인 ‘엣지’ 디스플레이를 연상케 해 삼성전자의 차세대 갤럭시 스마트폰 디자인에 변화가 생길지 이목이 쏠린다.


삼성디스플레이 관계자는 "터치 패널은 편리성 덕분에 키패드와 같은 기존의 물리적 입력 수단을 점점 더 대체하고 있다"며, "또한 디스플레이 장치에 힘 센서를 사용하여 다양한 입력을 받는 터치 패널에 대한 관심이 커지고 있다"고 특허 출원의 배경을 설명했다.


신규 특허 기술이 삼성디스플레이 최대 고객인 삼성전자의 차세대 스마트폰에 적용될지 여부는 미지수다. 하지만 실제 구현될 경우 '엣지 디스플레이의 귀환'과 '버튼 제거'라는 대대적인 디자인 변화로 업계 관심이 집중될 것으로 예상된다.


삼성전자는 진동 피드백 성능 품질을 개선하기 위해 기술적 변화를 꾀하고 있다. 작년 출시한 '원 UI 6.0'에서 세부적인 진동 피드백 제어 기능을 도입한 바 있다. 타이핑은 물론 터치 상호작용, 다이얼 키패드, 알림 설정 등에 세밀한 진동 설정을 가능하도록 했다.




keyword
매거진의 이전글LG에너지솔루션 버테크, ESS 공급계약 체결