brunch

안전벨트에 통풍을? 한국인들 눈 돌아갈 깜짝 옵션 등장

by 뉴오토포스트
옵션-안전벨트-2.jpg ZF 열선 안전벨트 / 사진 출처 = 'Car and Driver'

여름과 겨울의 특성이 뚜렷한 국내 기후 특성상 시트 열선과 통풍 기능은 이제 필수 사양으로 여겨진다. 특히 통풍 시트의 경우 한 번도 안 써본 사람은 있지만 한 번만 써본 사람은 없는 편의 사양으로 꼽힌다. 각종 온라인 커뮤니티에는 통풍 시트를 처음 써봤을 땐 그 효과를 체감하지 못했으나 통풍 시트가 없는 차를 탔을 때 역체감이 확실했다는 후기가 종종 올라오기도 한다.


이미 에어컨과 통풍 시트만으로도 충분하다고 느껴지지만 안전벨트까지 시원해진다면 어떤 느낌일까? 최근 안전벨트에 에어컨 바람을 불어넣는 '통풍 안전벨트'가 등장해 이목이 집중된다.

옵션-안전벨트-3.jpg ZF 열선 안전벨트 / 사진 출처 = 'The Autopian'
옵션-안전벨트-4.jpg ZF 열선 안전벨트 / 사진 출처 = 'Top Gear'

이미 존재하는 열선 안전 벨트

GM의 특허는 어떻게 다를까?

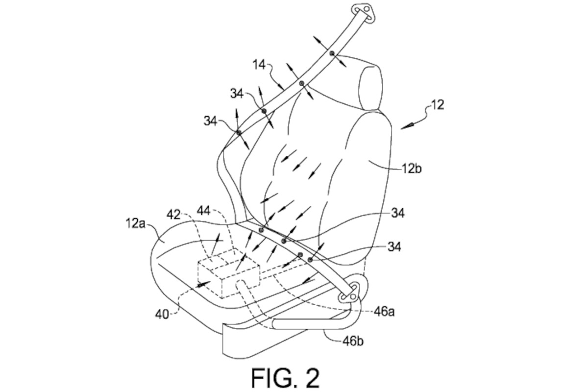
외신 카버즈(CarBuzz)의 9월 26일(현지 시각) 보도에 따르면 제너럴모터스(이하 GM)은 최근 열선 및 통풍 기능을 내장한 안전벨트 특허를 출원했다. 열선 안전벨트의 경우 앞서 포드, 독일 자동차 부품 업체 ZF 등에서 특허를 출원한 바 있다. 이들의 특허는 안전벨트와 열선을 함께 직조한 방식이었다.


테슬라는 안전벨트를 포함한 모든 용기에 주입할 수 있는 가열 액체에 대한 특허를 출원하기도 했다. 이번에 GM이 공개한 열선 및 통풍 안전벨트는 포드, 테슬라가 제시한 기존 특허와 완전히 다른 방식으로 작동한다. 특허 출원 내용에 따르면 GM의 안전벨트는 기존 공조 시스템을 활용한다.

옵션-안전벨트-5.jpg GM 통풍 및 열선 안전벨트 / 사진 출처 = '독일 특허청'
옵션-안전벨트-6.jpg 사진 출처 = 온라인 커뮤니티

기존 공조 장치와 연동

에너지 효율 개선 기대

GM의 열선/통풍 안전벨트에는 다공성 슬리브가 내장된다. 해당 사양은 공조 시스템의 효율을 극대화하고자 시트의 열선 및 통풍 기능과도 연동하도록 설계됐다. 작동 원리는 탑승자가 원하는 공조 온도를 선택하면 안전벨트 내부의 다공성 슬리브에 공기가 공급되는 간단한 방식을 따른다.


에어컨을 가동하는 상황에서는 안전벨트에도 시원한 공기를 공급하는 게 일반적일 테니 안전벨트에 별도의 온도 설정 기능을 추가하지 않은 것으로 풀이된다. 탑승자는 안전벨트와 맞닿은 신체 부위에도 부가적인 냉난방 효과를 누리게 되는 만큼 공조 장치의 작동을 최소화할 수 있다는 장점이 있다.

옵션-안전벨트-7.jpg 사진 출처 = 'CarBuzz'
옵션-안전벨트-8.jpg 캐딜락 셀레스틱 / 사진 출처 = 유튜브 채널 'Speed Phenom'

기존 방식 단점도 보완

어떤 모델에 적용될까?

GM 안전벨트의 다공성 슬리브 구조는 발열체나 가열 액체를 활용한 기존 방식의 단점을 보완한다. 기존 방식은 열선이나 액체가 벨트에 내장된 만큼 벨트와 몸이 직접적으로 닿는 부위에만 냉난방이 공급된다는 점이 한계로 지적됐다. 하지만 다공성 슬리브는 공조 시스템과 연결된 공기를 뿜어내는 방식인 만큼 더 포괄적인 냉난방이 가능하다는 이점이 있다.


업계는 다공성 안전벨트 대량 생산이 가능한 공급 업체만 찾는다면 GM의 열선/통풍 안전벨트의 상용화가 충분히 가능할 것으로 보고 있다. 이 혁신적인 편의 사양은 캐딜락 에스컬레이드, 셀레스틱 등 플래그십 모델에 우선 탑재될 것으로 예상된다.


지금 이 시각 가장 핫한 자동차 소식들


keyword
작가의 이전글판매량 난리 난 기아 EV9, 결국 마지막 수단 꺼냈다