brunch

미래의 iPhone은 침수도 Ok?

by 오자서

순간의 부주의로....iPhone이 물에 풍덩해도 전하(電荷)와 음향을 사용하여, 스피커와 마이크의 구멍으로 물을 배출 시키는 기술을 Apple이 개발하고 있는 것으로 밝혀졌다.


- 전하(電荷)를 이용한 새로운 액체 배출법

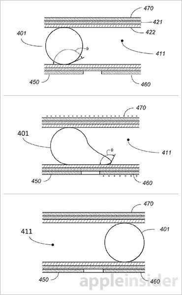
미국 특허 상표청(USPTO)이 공개 한 Apple의 "Liquid expulsion from an orifice(구멍으로 액체를 배출하는)" 기술에 관한 특허는 iPhone 등에서 물 등의 액체를 배출하기 위한 혁신적인 방법이 설명되어 있다.


<미래의 상상속의 iPhone>

대략적으로 말하면, 전하에 의해 도체 소자는 물에 융합되지 않는 성질을 갖게되고, 스피커와 마이커의 챔버에 물을 모아 배출하는 것이다.


음향 모듈 내부의 센서 등으로 습기를 탐지, 액체가 침투하고 있다는 것이 판명되면, 전하를 띤 도체 소자에 의해 액체를 이동시켜, 출구쪽으로 돌출, 배출한다는 원리라고 한다.


지금까지의 특허뿐만 아니라 Apple이 액체 배출에 관한 특허를 즉시 제품에 적용한다고는 생각되지 않지만, 회사가 iPhone 등으로 내수 대책을 추진하고 있는 것만은 확실한 것 같다.



예를 들어, iPhone 6s는 디스플레이 주변에 물의 침입을 방지하기 위한 가스켓(기밀성, 액체 밀도를 구현하기 위한 고정용 씰)이 되어 있으며, 케이블은 실리콘으로 밀봉되어 있다. 또한 Apple Watch도 공식적으로 방수는 없다고 해도, IPX7 등급의 방수 성능을 갖추고 있다.


Source:AppleInsider


함께보면 좋은 글~


- iPhone으로 Google Maps, 조만간 오프라인으로 액세스 가능?


- "iOS 10" 탑재, 베젤없는 iPhone 7 컨셉 동영상 등장


- "Apple Pencil"은 iPhone 7에서도 사용가능?

작가의 이전글페이스북, 메신저 게시물을 자동 삭제하는 기능 테스트