brunch

충전 안 해도 사용 가능한 애플의 차세대 펜슬 특허

by 송의석


IT매체 애플인사이더는 애플이 전력을 사용하지 않는 애플펜슬 특허를 미국 특허청에 출원했다고 보도했습니다.


어떻게 충전 없이 펜슬을 사용할 수 있을까요?


해당 기술을 알기위해 특허 명세서를 분석해보겠습니다.

우선, 가장 중요한 청구항 1을 살펴보겠습니다.

구성요소를 보면,

1. 감지 표면을 가진 커버 재료;

2. 커버 재료 아래에 배열된 광검출기 배열;

3. 그리고 광검출기와 커버 재료 사이에 배열된 첫 번째 광차단층;

으로 구성되는 것을 알 수 있습니다.


이때, 추가적인 한정사항으로

1. 첫 번째 광차단층이 광검출기로 입사하는 첫 번째 임계각보다 작은 감지 각을 가진 빛을 차단하기 위해 구성된 복수의 첫 번째 개구를 포함하는 특징

2. 여기서 첫 번째 임계각은 커버 재료와 커버 재료와 접촉하는 첫 번째 매질에 따라 결정되며, 감지 표면에 대해 수직인 것을 기준으로 정의되는 특징

을 가지고 있습니다.


이렇게 보면, 이 특허는 펜슬 자체에 대한 기술이 아니라, 빛을 검출할 수 있는 검출기를 포함하는 터치 스크린에 대한 기술로 볼 수 있을 것 같습니다.


이렇게 봐서는 내용을 정확히 모르겠네요. 관련 내용을 조금 더 보겠습니다.

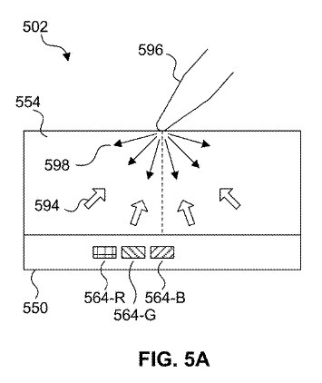
도면들을 살펴보다보니, 아래 도면이 직관적으로 발명의 내용을 설명하고 있는 것 같네요.

명세서 내용을 보면, 다음과 같이 설명하고 있습니다.



[0117] 그림 5A는 통합 터치 스크린 502의 단면도를 보여주고 있으며, 마이크로 LED들 564, 커버 재료 554, 그리고 스타일러스와 같은 물체 596의 근접과, 경계를 통한 빛의 전달을 포함합니다. 그림 5A의 예에서, 전도성 레이어 550은 표시 레이어를 포함하고 있으며, 다수의 마이크로 LED들 564는 조명기로 구성되며, 포토디텍터로서 기능합니다(단, 간략화를 위해 그림 5A에서는 세 개만 보여주고 있습니다). 예를 들어, 마이크로 LED 564-R은 역방향으로 구성되어 포토디텍터로 기능할 수 있고, 마이크로 LED들 564-G와 564-B는 조명기로 구성될 수 있습니다. 그러나 다른 유형과 조명기 및 포토디텍터의 구성 또한 그림 5A에서 논의된 대로 사용될 수 있습니다. 커버 재료 554는 표시 레이어 위에 형성되어 있으며, 한 예에서는 유리를 포함하여 굴절률이 대략 1.5인 재료로 만들어질 수 있습니다. 그러나 플라스틱과 같은 다른 재료들도 사용될 수 있습니다. 광원은 마이크로 LED 564-G나 564-B에서 발신되어 물체 596(예: 스타일러스나 손가락)를 통해 또는 커버 재료 내의 하나 이상의 반사를 거친 빛이 포함될 수 있습니다.


내용을 보면, 터치 스크린에는 조명으로 동작하는 LED와 빛을 검출할 수 있는 LED가 있으며, 검출기는 조명에서 출력되는 빛이 펜슬에 반사되어 입력되는 것을 검출하는 것으로 알 수 있습니다.


기존에 펜슬은 감압식이나 정전식을 이용해서 감지하는 방식이었다면, 이번 특허는 스크린에서 발생하는 빛의 반사를 이용해서 펜슬의 동작을 감지하겠다는 것이 핵심적인 내용인 것 같습니다.


이때, 가장 문제는 무엇일까요?


빛을 발생하는 LED는 1개가 아니고, 빛을 반사시키는 요인도 펜슬 하나만이 아니라는 것이겠죠.

주변의 LED에서 발생한 빛에 의해 다양한 각도에서 빛이 반사될 수 있으며, 사람의 손에 의해 반사가 될 수 도 있으며, 펜슬의 끝부분이 아닌 몸통 부분에서 반사가 될 수도 있습니다.


이 기술의 핵심은 이렇게 다양하게 발생하는 반사광을 어떻게 처리하는가 될 것입니다.

즉, 빛을 감지하는데 있어서 가장 중요한 것은 외부에서 입력되는 빛이나, 난반사 등을 필터링하는 기술일 것으로 생각됩니다.


이런 이유로, 청구항에 추가적으로 한정된 사항을 보면 빛의 검출 각도에 대한 내용이 한정된 것을 알 수 있습니다. 다시 청구항 1을 보면,


1. 첫 번째 광차단층이 광검출기로 입사하는 첫 번째 임계각보다 작은 감지 각을 가진 빛을 차단하기 위해 구성된 복수의 첫 번째 개구를 포함하는 특징


2. 여기서 첫 번째 임계각은 커버 재료와 커버 재료와 접촉하는 첫 번째 매질에 따라 결정되며, 감지 표면에 대해 수직인 것을 기준으로 정의되는 특징


이 부분입니다.



즉, 검출기로 입사하는 빛 중 소정의 임계각보다 작은 빛은 차단하겠다!!

이때, 임계각은 매질에 따라 달라진다!!


이 내용이 이 특허의 핵심 내용이 되겠네요.

그런데, 이 특허는 이 특징 그대로 등록이 될 수 있을까요?


터치 스크린이 아닌 일반적인 광 검출기에 대한 기술 중에서 입사각을 차단하는 필터를 적용한 기술이 있다면 진보성의 거절이유가 될 수 있을 것 같습니다. 이런 경우, 보다 구체적인 특징을 추가로 한정하여 대응해야겠지요.


이 기술은 언제 상용화가 될 수 있을까요?


저도 펜슬을 사용하는데, 한동안 사용 안하다보면 방전에 되어서 정작 필요할 때 바로 쓰지 못하는게 불편했었습니다. 이 기술이 빨리 양산되어서 이러한 불편함을 해소시켜줄 수 있으면 좋겠습니다.












keyword
작가의 이전글특허절차와 특허비용