잘 팔리는 이유 있다, 최근 포르쉐가 개발한 첨단 사양

by 오코모
0_포르쉐 타이칸 스파이샷_CarScoops_1.jpg 포르쉐 타이칸 스파이샷 / 사진 출처 = "CarScoops"

스포츠카를 상징하는 디자인 요소는 어떤 것들이 있을까? 전반적으로 날렵하게 빠진 실루엣과 낮게 깔린 프론트, 스포일러나 리어 윙이 달린 후면부를 떠올릴 수 있을 것이다. 이는 낮은 무게 중심을 위한 설계이기도 하지만 불필요한 공기 저항을 줄이고 다운포스를 발생시켜 주행 성능을 개선하기 위한 목적이 크다. 스포일러, 리어 윙 중에서는 평소 차체 속에 숨어 있다가 필요한 상황에서만 솟아 나오는 '액티브 리어 스포일러' 방식도 존재하는데 고급 스포츠카에 주로 적용된다.


특히 포르쉐가 액티브 리어 스포일러를 적극적으로 사용하기로 유명하다. 2도어 모델인 911과 718 카이맨, 박스터는 물론이며 파나메라, 타이칸 등 4도어 모델, 심지어는 SUV인 카이엔 쿠페에도 액티브 리어 스포일러가 적용된다. 본격적인 트랙용 모델인 911 GT3의 경우 리어 윙의 플랩을 필요에 따라 조절하는 기능도 들어간다. 그런데 포르쉐가 최근 여기서 한 단계 진보된 기술을 개발한 것으로 알려져 화제를 모은다.


확장용 리어 엔드

고속 주행 시 돌출

1_포르쉐 가변형 롱테일 개념도_CarBuzz.jpg 포르쉐 가변형 롱테일 개념도 / 사진 출처 = "CarBuzz"
2_포르쉐 가변형 롱테일 개념도_CarBuzz.jpg 포르쉐 가변형 롱테일 개념도 / 사진 출처 = "CarBuzz"

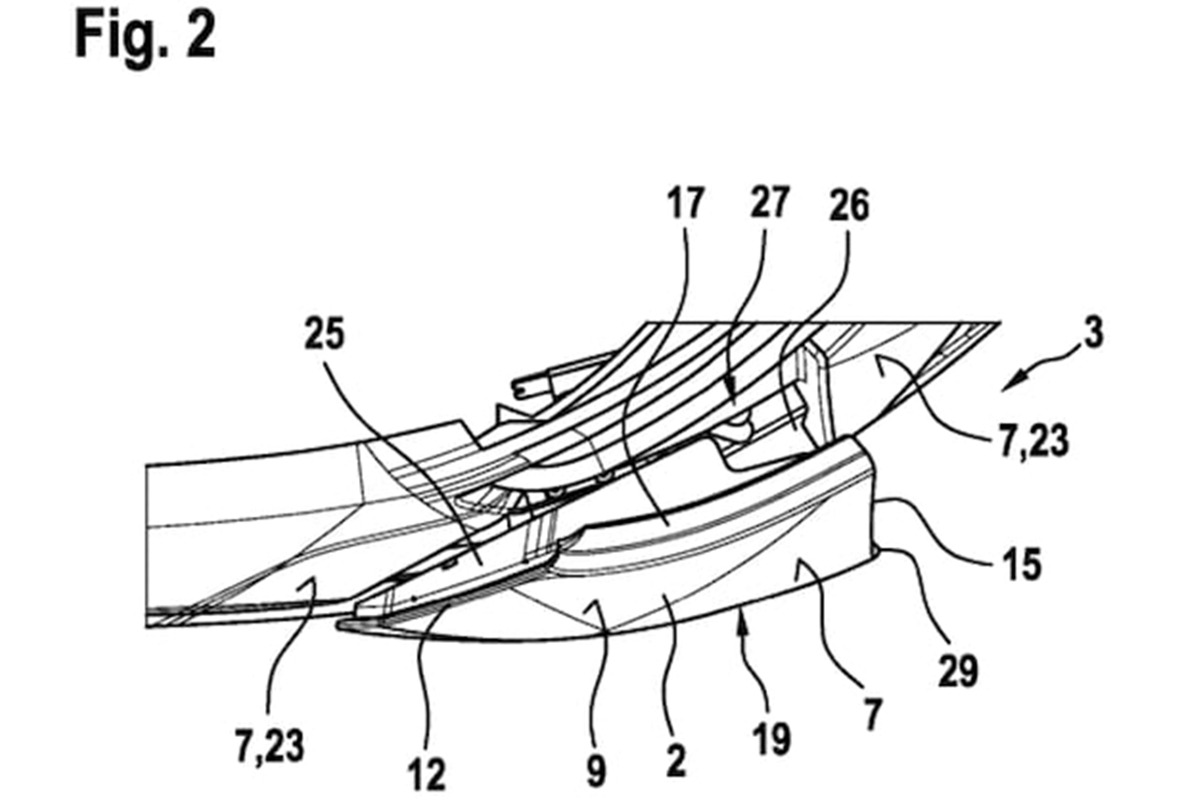
미국 자동차 전문 매체 '카버즈(CarBuzz)'의 19일(현지 시각) 보도에 따르면 포르쉐는 독일 특허청(DPMA)에 새로운 액티브 에어로 시스템 특허를 출원했다. 특허 내용에 따르면 고속 주행 시 차량의 리어 엔드 전체가 뒤쪽으로 확장되며 일정 속도 이하로 감속하면 다시 줄어드는 원리다. 단순히 리어 스포일러를 움직이는 수준을 넘어 차체 뒷부분 전체를 자유롭게 늘렸다 줄이며 형태를 바꾸는 경지에 다다른 것이다.


도면에 첨부된 작동 원리는 얼핏 보기에 복잡한 듯하지만 후면부 전체의 끝을 앞뒤로 이동시키는 액추에이터와 확장용 패널로 구성된다. 외부 차체 패널 아래에 숨어 있던 별도의 접이식 패널이 필요시에만 돌출되는 방식이다. 확장용 패널이 수납된 상태에서 패널 간 단차를 줄여줄 슬라이딩 패널도 존재한다. 그렇다면 포르쉐가 해당 특허를 출원한 이유와는 무엇이며 어떤 모델에 적용될까?


공기 역학 성능에 큰 이점

실용성, 효율 모두 잡는다

3_메르세데스-벤츠 비전 EQXX_Wikipedia.jpg 메르세데스-벤츠 비전 EQXX / 사진 출처 = "Wikipedia"
4_라이트이어 0.jpg 라이트이어 0(제로) / 사진 출처 = "Lightyear"

자동차의 공기 저항을 줄이는 방법은 다양하지만 그중에서도 후면부를 길쭉하게 늘리는 방법이 특히 효과적인 것으로 알려져 있다. 차체가 길수록 공기 흐름을 제어하기가 쉬워지며 이는 에너지 효율, 주행 안정성과 직결된다. 앞서 맥라렌 스피드 테일, 메르세데스 벤츠 비전 EQXX와 라이트이어 0 등 공기역학 효율을 중시하는 스포츠카, 친환경 자동차에 '롱 테일' 디자인이 적용된 바 있다.


공기 흐름은 차체 표면에 자연스럽게 달라붙는데 차체 끝부분과 같이 형태가 급격히 변경되는 부분에서 분리되며 난류가 발생한다. 해치백과 같이 뒤가 짧으며 후면부 단면적이 넓은 차체 형태에서 난류 현상이 두드러지는데 이는 차량을 뒤에서 끌어당기는 흡입 효과로 이어져 에너지 효율을 저하시킨다. 후방으로 갈수록 얇아지는 롱 테일 형상은 이를 최소화하기에 가장 이상적인 방법인 셈이다. 포르쉐가 출원한 특허는 차량의 기동성을 방해하지 않고 롱 테일을 구현할 수 있는 획기적인 방법이라고 볼 수 있겠다.


신형 전기차에 적용할 듯

"정말 외계인 고문하나"

5_포르쉐 718 박스터 후속 전기차 테스트카_EV Pulse.jpg 포르쉐 718 박스터 후속 전기차 테스트카 / 사진 출처 = "EV Pulse"
6_포르쉐 가변형 롱테일 예상도_CarBuzz.jpg 포르쉐 가변형 롱테일 예상도 / 사진 출처 = "CarBuzz"

카버즈는 차세대 타이칸이나 전기차로 등장할 718 카이맨 후속 모델 등 전기차에 새로운 기술이 적용될 가능성이 크다고 전망한다. 실용성과 공기 역학 성능을 모두 챙길 수 있을 것으로 기대되지만 관련 부품으로 인한 무게 증가를 어떻게 극복할지에 대해서도 관심이 집중된다.


네티즌들은 "휠베이스가 아니라 리어 오버행을 늘리는 방식이구나", "이쯤이면 포르쉐에는 외계인 고문실이 확실히 존재한다", "후방 추돌당하면 수리비 어마어마하게 나오겠네", "하긴 전기차는 엔진이 없으니 저걸 적용해도 냉각 문제로부터 자유로울 듯" 등의 다양한 반응을 보였다.

keyword
작가의 이전글입지 좁아져만 가는 디젤차, 이젠 이것까지 문제라고?