brunch

언젠가는 시장에 영향을 주는 “좋은 특허”

by 특허법인BLT
f8449a6c81a0b.png


2024년 초에 국내 의료기기 스타트업인 리브스메드가 미국에서 특허 소송에 휘말리게 되었다. 미국 특허전문회사(NPE)인 엔도보틱스(Endobotics)가 리브스메드의 주력 제품으로 미국에서 판매 중인 ‘아티센셜’이 자사 특허 두 건(US7147650, US7364582)을 침해한다고 주장하면서 소송을 제기한 것이다. 리브스메드 관계자에 의하면, 엔도보틱스의 특허는 리브스메드의 제품에 적용된 기술과 무관한 종래의 복강경 수술도구에 적용되는 방식의 특허여서 침해가 성립하지 않으며, 조기 합의를 통해 해프닝 수준에서 사건이 종결된 것으로 전해졌다. 그리고, 대상특허들은 올해 4월과 7월에 이미 권리 존속기간 만료로 소멸된 상태이다.


올해 초에 리브스메드 뿐만 아니라 Flexdex라는 복강경 수술도구 전문회사도 엔도보틱스(Endobotics)로부터 침해소송을 제기받았다. 특허괴물이라고도 불리는 특허전문회사는 이러한 특허소송을 통해 라이센싱 수익을 내는 것이 사업모델이므로, 보유특허와 관련성이 높은 회사에 특허침해가 명확하지 않더라도 공격적으로 특허소송을 제기하는 것은 너무나도 당연한 것이다.


de4a315f97067.png [리브스메드의 주력제품인 “아티센셜(ARTISENTIAL)” 이미지]


우리는 국내 에스테틱 의료장비 회사들이 성장하는 과정에서 2019년부터 미국 특허소송에 휘말리고 이후에도 크게 성장해서 글로벌 시장에서 인정받고 있는 사례를 보았다. 리브스메드가 미국 NPE로부터 특허소송을 제기받은 것은 그만큼 미국 시장에서 성장 가능성이 있는 회사와 제품이라고 NPE인 엔도보틱스가 판단하였다고 볼 수 있다.


필자는 이 글을 통해 이 소송이나 해당 특허의 권리범위에 대해 상세히 살펴보기보다는 리브스메드를 포함한 복강경 수술기구 회사들을 공격한 특허를 엔도보틱스가 확보하게 된 과정을 상세히 살펴보면서 우리가 염두해야할 사항을 말해보고자 한다.



한국인 “이우진"의 특허

이 소송에서 사용된 두건의 특허(US7147650, US7364582)는 모두 “이우진”이라는 한국인의 명의로 출원돤 후 등록되었다가 엔도보틱스로 이전된 특허이다. 이우진님은 MIT에서 기계공학을 전공한 후 2004년에 Cambridge Endoscopic Devices라는 회사를 창업하여 최소침습 복강경 수술 시에 도구 움직임의 자유도를 높인 “Autonomy Laparo-Angle Needle Holder”라는 제품을 출시하였다.


법인 설립 전인 2003년 10월 30일자로 가출원을 활용해서 핵심적인 아이디어를 선점한 후에 2004년 4월 12일에 정식출원을 진행하여 특허등록(US7147650)을 확보하였다. 그리고, Cambridge Endoscopic Devices는 다각적이고 넓은 권리확보를 위해 계속출원을 진행하여 추가적인 특허 등록(US7364582)을 확보하였다.


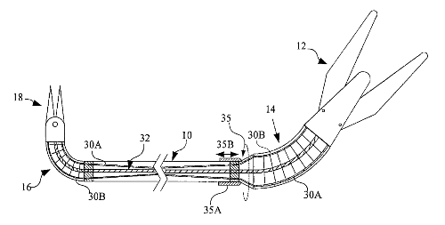
bb2ab4d46a543.png [US7147650 및 US7364582건의 대표 도면]

즉, Cambridge Endoscopic Devices(이하, Cambridge Endo)는 복강경 수술 시에 샤프트 외부에서의 조작으로 엔드 이펙터(End effector)를 구부리거나 회전시킬 수 있는 조작부를 구비한 장치를 개발하면서, 해당 기술을 방어하기 위한 특허포트폴리오 구축에도 노력을 기울였다.


14ae8bf93cb34.png [2007년 Cambridge Endo의 “Autonomy Laparo-Angle Needle Holder” 런칭 소식 기사]


Cambridge Endo는 2007년에 해당 기술이 적용된 제품을 런칭해서 시장에 내어 놓았다. 이 제품은 최소침습으로 도구를 진입시켜 수술하는 복강경 수술에서 가장 까다로운 과제 중 하나인 체내 봉합 및 매듭 묶기를 해결할 수 있도록, 도구 말단에 7개의 자유도를 제공하고 기구를 잡고 있는 손의 움직임을 매핑하여 외과의가 시술을 변경하지 않고도 기구를 사용할 수 있게 하는 도구로 런칭되었다. 여기서, 7자유도(7 Degrees of Freedom)를 가지는 것은, 수술 도구가 ‘세 가지 선형 운동(앞/뒤, 좌/우, 상/하)’과 ‘세 가지 회전 운동(피치, 롤, 요)’을 수행할 수 있으며, 여기에 더해 추가적인 관절 운동이 가능하다는 것이었다.


fbc094812a085.png [Cambridge Endo가 출시한 제품 사진]



기술력이 있지만 시장에서 성공하지 못하고 파산한 Cambridge Endo

Cambridge Endo는 복강경 수술 시에 의료진의 편의성을 높여주는 제품을 출시하고 기술력과 특허를 가지고 있었지만, 2015년 9월에 파산하였다. 미국에서 2010년에 Affordable Care Act (ACA)가 통과되면서, 병원과 의료 제공자들은 비용을 줄이면서도 환자 관리의 질을 유지하거나 향상시켜야 했다. Cambridge Endo의 최소 침습 수술 기구는 비용이 저렴하고 효과적인 대안을 제공할 수 있는 잠재력을 가졌지만, 초기 투자 비용과 새 기술에 대한 교육 및 적응 비용이 병원들에게 부담이 되었다.


그리고, Affordable Care Act (이하, ACA)하에서 복강경 수술기구는 수술로봇과의 경쟁에서 밀리게 되었다. 로봇을 이용한 ‘로봇수술’은 환자의 회복 시간을 단축시키고, 수술 관련 합병증을 줄이는데 도움을 줄 수 있어 ACA 하에서 병원이 추구하는 목표와 일치하여서, 병원들은 초기 도입 비용이 더 들지만 장기적인 의료 비용을 절감할 수 있는 수술 로봇을 채택하였다.


이러한 시장 환경에 의해 Cambridge Endo은 2015년 9월 기준으로 채권자에게 1,700만 달러를 빚졌지만 자산은 300만 달러에 불과하여 파산보호 신청을 하게 되었다.



기술을 필요로 하는 적절한 타이밍이 중요하다

Affordable Care Act (ACA) 통과와 같은 시장상황만이 Cambridge Endo의 제품이 성공하지 못하고 회사가 파산한 이유는 아닐 것이지만, 가장 큰 영향을 미친 요인일 것이다. 2010년대에는 수술로봇 도입 급증과 맞물려서 Autonomy Laparo-Angle Needle Holder가 시장에서 성공하기 힘들었던 반면, 현재 리브스메드의 ‘아티센셜’과 같은 복강경 수술도구가 미국시장을 포함한 글로벌 시장에서 높은 관심을 받고 있다.


일반 복강경 수술이 로봇수술 만큼이나 환자 회복 등에 나은 효과를 낼 수 있는 점, 의료진이 약 10년의 시간동안 복강경 수술에 익숙해진 점, 로봇수술에 비해 저렴한 복강경 수술을 원하는 수요가 늘어난 점 등의 10년간의 여러가지 시장환경의 변화가 복강경 수술도구의 시장에서의 결과가 달라지게 만들었을 것이다.


물론, 로봇수술이 널리 퍼진 현시점에서 로봇수술과 동일하게 복강경 수술도구 조작이 가능하게 하는 기술력 등도 영향을 미쳤겠지만, 해당 기술과 적용 제품을 가장 필요로 하는 타이밍이 중요함을 이 사례에서도 알 수 있다.



제품이 시장에서 성공하지 못하여도 좋은 특허는 유효하다

Cambridge Endo의 제품은 성공하지 못하였지만, Cambridge Endo의 특허는 NPE에게 팔려서 복강경 수술도구 제조회사들에게 영향을 미치고 있다. 좋은 특허를 확보하면 시장에서 해당 기술이 적용된 제품이 필요한 시기에 효력을 발휘하게 된다. 특허가 존속기간 소멸되는 특허출원일로부터 20년 내에 시장에서 니즈가 발생하게 된다면 특허권은 수익을 만들어 낼 수 있다. 미국 특허전문회사(NPE)인 엔도보틱스(Endobotics)는 Cambridge Endo가 파산함에 따라 좋은 특허를 저렴하게 받아왔을 것이고, 특허 소멸 이전에 시장에서 이 특허의 쓸모가 있을 것으로 생각했을 것이다.


특허 자체로 경제적 효과를 얻으려면, 특허 유지비용이 부담되어도 잘 관리하고 있는 인내가 필요할 것이다. 그전에 좋은 아이디어를 바탕으로 좋은 특허를 만드는 것이 중요하다. 아이디어가 좋더라도 좁은 권리범위의 특허만 확보한다면 그 기술을 원하는 시장의 타이밍이 되어도 수익으로 돌아오지 못할 것이다. 따라서, 좋은 아이디어에 기반한 좋은 특허를 확보하는 것이 가장 기본이 되는 핵심임을 명심하여야 한다.




BLT 칼럼은 BLT 파트너변리사가 작성하며 매주 1회 뉴스레터를 통해 발행됩니다.

뉴스레터 구독신청


필자 소개

정태균 파트너변리사는 BLT 전략본부장으로 스타트업들의 IP전략, BM전략, 시장진출(GTM) 전략 수립을 지원하고 있습니다. 필자는 연세대학교 전기전자공학과를 졸업하고, 2011년 48기 변리사 시험에 합격했으며, 현재 여러 분야의 스타트업의 IP(특허, 상표, 디자인)업무 뿐만 아니라 비즈니스 참여하여 성장을 지원하고 있습니다.


특허법인 BLT

누군가는 특허를 만들 때, BLT는 당신의 사업의 성공을 만들어 냅니다. The Only Firm for Your Success!!

#특허 #리브스메드 #NPE #특허소송 #의료기기 #수술도구 #침해 #엔도보틱스 #존속기간 #이우진 #기술 #cambridgeendo #타이밍 #특허법인

keyword
작가의 이전글심사관과의 소통을 통한 효과적인 특허 등록 전략