brunch

[IPLEX] 스케너 장치용 레일 구 특허 등록 완료

아이피렉스 특허법률사무소

by 김용덕 변리사

안녕하세요. 아이피렉스 특허법률사무소 입니다.


(주)엠트리센의 '가축 생체 스캐닝 장치'에 대한 특허 등록이 완료되었습니다.


화면 캡처 2025-05-08 165341.jpg

(주)엠트리센은 인공지능 기술을 활용해 가축 관리의 효율성과 정밀성을 높이는 스마트 축산 기업입니다. 데이터 기반 솔루션으로 미래형 농업을 구현합니다.

화면 캡처 2025-05-08 165422.jpg

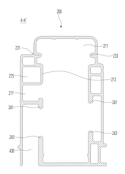
(주)엠트리센은 아이피렉스 특허법률사무소의 도움을 받아 가축 스캐닝 장치가 이동하는 레일 구조에 대한 특허를 확보하였습니다.

화면 캡처 2025-05-08 165459.jpg

다시 한번 (주)엠트리센의 특허 등록을 축하드립니다.


전화문의: 02 556 1028
홈페이지: www.iplexlaw.co.kr
Email : iplex@iplexlaw.co.kr


저자 소개: 김용덕 변리사는 삼성전자, LG전자, 샤오미, 바이두 등 국내외 유명 대기업들의 특허 사건을 처리한 경험에 기초하여 아이피렉스 특허법률사무소를 설립하였습니다. 국내 특허, 미국 특허, 중국 특허, 유럽 특허, PCT 특허에 대한 높은 이해력을 바탕으로 특허권을 확보할 수 있도록 많은 기업들에게 도움을 주고 있습니다. 또한 김용덕 변리사는 『기술특례상장 바이블』,『인공지능 특허 심사실무 가이드』, 『상표 유사 판단 이론 및 판례』의 책의 저자입니다.


아이피렉스 특허법률사무소는 최고의 기술력과 최상의 노하우로 고퀄리티 지식재산권 서비스를 제공합니다. 국내/해외 특허, 국내/해외 상표, 국내/해외 디자인 권리 확보에 강점이 있는 특허법률사무소로, 지하철 2호선 삼성역 인근에 위치하고 있습니다.




keyword