brunch

진짜 나오나? N 비전 74와 관련된 새로운 특허 등장

현대자동차 N 비전 74와 관련된 두 개의 특허 등장

by 발품뉴스

현대자동차의 N 비전 74와 관련된 두 개의 새로운 특허 문서가 등장해 엄청난 관심이 쏠리고 있다.

현대자동차 N 비전 74 콘셉트

일반적으로 자동차 제조사가 콘셉트카를 제작하는 일은 자주 있는 일이며, 이러한 콘셉트카가 실제로 양산되는 일은 극히 드문일이기 때문에 소비자들 역시 제조사가 만든 콘셉트카에 대해 크게 의미를 두지는 않는다.


그러나 현대자동차가 만든 N 비전 74 콘셉트는 예외적으로 자동차 커뮤니티 전체가 생산에 도입할 것을 촉구하며, 엄청난 관심을 표명한 바 있다.


하지만, 안타깝게도 현대자동차는 최근 신형 포니 쿠페 출시와 관련해서 완강히 부인해 결국 이번 콘셉트카 역시 소비자들이 구매할 수 있는 일은 일어나지 않을 것으로 보였다.


현대자동차 N 비전 74 콘셉트와 관련된 두 개의 특허 문서


그러나 더 드라이브가 발굴한 두 개의 특허 문서에 따르면 현대자동차가 실제로 N 비전 74 콘셉트와 관련된 작업을 진행하고 있는 것으로 추측하고 있다.

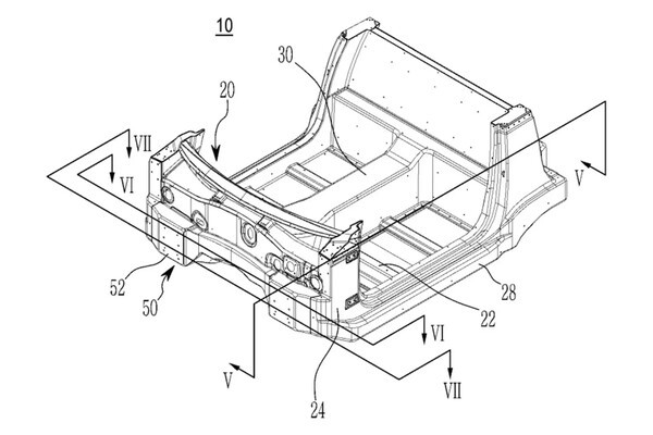
현대자동차 특허 관련 문서

두개의 문서 중 첫 번째는 탄소 섬유로 강화되어 플라스틱 통으로 보강된 2도어 섀시에 큰 터널이 설계되어 있다는 내용을 담고 있다.

현대자동차 특허 관련 문서

그러나 이 특허에서 주목할 점은, 터널이 변속기를 수용하는 용도가 아니라 "전기 부품을 장착할 수 있는 공간"으로 명시되어 있어, 이는 터널 내에 배터리를 설치할 수 있음을 암시하고 있음을 시사했다.

현대자동차 특허 관련 문서

두 번째 문서는 같은 차량의 전면 구조에 초점을 맞추고 있다. 앞쪽에 위시본 서스펜션이 설치되어 있고 많은 브레이싱이 있어 N 비전 74와 같은 성능에 중점을 둔 스포츠카에 적합하다는 것을 보여준다.


현대자동차 N 비전 74 콘셉트, 실제 양산되면 시중 어떤 차와도 비교 불가할 것


현대자동차는 N 비전 74 콘셉트를 만들 때 조르제토 주지아로가 디자인한 1974년형 포니 쿠페에서 영감을 받았다.

현대자동차 N 비전 74 콘셉트

이 차는 정말 특별한 외관을 지녔을 뿐만 아니라, 실제로 양산된다면 시중의 다른 어떤 차와도 비교할 수 없는 파워트레인을 탑재하고 있다.

현대자동차 N 비전 74 콘셉트

N 비전 74 콘셉트의 외관 아래에는 800볼트 고속 충전이 가능한 62.4kWh 배터리 팩이 탑재되어 있다. 또한 이 배터리를 충전하는 수소 연료 전지가 장착되어 있으며, 리어 액슬에는 670마력과 664lb-ft(900Nm)의 토크를 제공하는 독립 모터가 장착되어 있다.

현대자동차 N 비전 74 콘셉트

항상 그렇듯, 이러한 특허가 반드시 현대자동차가 이 콘셉트를 양산 버전으로 출시하려는 계획을 의미하는 것은 아니다.


그러나 이는 현대자동차가 어떠한 형태의 전기 2도어 스포츠카에 대한 아이디어를 아직도 포기하지 않고 있는 것으로 보여 내심 기대가 되고 있다.



keyword
작가의 이전글애플, 아이폰15 출시일 및 새롭게 추가된 기능들