마스카라 브러시 - 2

마스카라 브러시의 섬세한 세상으로 들어가 볼까요!

by 제니원

마스카라 종류와 모양이 너무!너무! 다양합니다. 개인의 취향에 따라, 자신의 속눈썹에 맞추어 잘 선택하세요.

굳이 그것도 귀찮으면 올리브영으로 갑시다. 가서 제일 많이 팔리는 마스카라 하나 주세요 하면 됩니다.

그럼에도 굳이 마스카라 브러시 이야기를 이어가는 이유는

연구원들이 처방에 대한 고민도 하지만 마스카라를 담는 그릇(용기)과 브러시에 대한 고민도 하고 있다는 것을 알아주세요


요즘은 속눈썹이 자란 방향에 따라 한 번에 도포할 수 있도록 곡률을 계산해서 휘어지게 만들기도 합니다.

또한 빗(Comb)을 붙여놓아 화장의 편의성과 효율을 극대화하려는 노력도 하지요

또한, 모와 모 사이의 간격을 조절하면 도포되는 양을 조정할 수도 있어 모 간격을 조절하기도 합니다

모의 모양도 달리합니다.

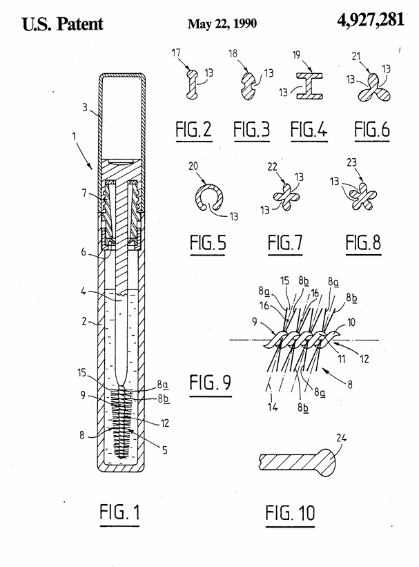
브러시의 모를 한가락 뽑아서 모의 단면을 확대해 보면 다양한 형태가 있습니다

일반적인 형태의 모부터

속이 빈 형태(③-1)로 만들기도 하고

속이 빈 반달 형태(③-2)로 만들기도 하고

네잎클로버 모양(③-3)처럼 만들기도 하며,

아령 모양처럼 만들기도 합니다

이 모든 노력은 내용물을 많이 머금게 하여 속눈썹에 많이 발려지게 하려는 부단한 시도니다

또한, 이런 노력도 합니다. 용기 와이퍼의 폭도 고민합니다.

솔대의 두께가 와이퍼의 폭이 1:1이면 용기에서 브러시를 빼낼 때 내용물이 몽땅 쓸려나가서 바를 것이 없게 되는 경우도 있습니다.

그래서 와이퍼의 폭도 조정합니다.

물론 마스카라 브러시 모양은 정말 다양합니다



스크린샷 2025-08-30 103704.png



③출처 : U.S. Patent / Patent No.: 4,927,281 Brush for Applying Mascara and Container

(Assignee: L'Oreal)

미국특허청이나 구글특허를 통해 검색어 "mascara brush" 입력하시면 다양한 특허가 나옵니다. 찾아보시면 재밌습니다, 1927년부터 화장용 브러시에 대한 특허가 등록이 되었고 마스카라 브러시에 관한 특허는 1930년대 후반부터 많은 출원과 등록, 거절이 이루어졌습니다.

스크린샷 2025-08-30 104634.png
스크린샷 2025-08-26 173001.png
US4927281 / US4733425 (마스카라 브러시 특허 일부 발췌)




마스카라는 단순한 화장품이 아니라, 정교한 공학과 디자인의 결정체입니다. 연구원들의 고민이 담긴 브러시 하나가 당신의 눈매를 얼마나 아름답게 바꿀 수 있는지 생각하면, 그 디테일에 감탄해주셨으면 합니다. 하지만 뭐! 그렇게까지 감동하지 않으셔도 됩니다. 연구원은 연구원의 일을 할 뿐이고, 소비자는 적당한 가격을 지불하고 바를 뿐이니까요. 가장 중요한 것은 화장을 즐겨주셨으면 합니다. 기술이 만든 아름다움을 그걸 자유롭게 누리시길 바랍니다 ♡

keyword
이전 04화마스카라 브러시 - 1