brunch

"싼타페, 카니발에는 없다"..美 특허청에 등장한 옵션

by 오토트리뷴

ㆍ 리비안, 미국 특허청에 신규 특허 출원

ㆍ 기어 터널 이용해 스크린 시어터 구현

ㆍ '캠프 키친' 이어 아웃도어 고객에 호평


미국 전기차 제조사 리비안에서 새로운 특허를 선보였다.

10966_55862_4043.jpg

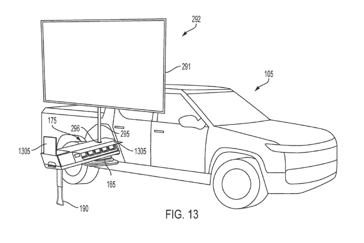
리비안 R1T 특유의 기능으로는 2열 시트와 뒷축 사이에 숨겨진 '기어 터널'이 있다. 기본적으로는 양쪽으로 뚫어진 형태의 보조 수납 공간이지만, 옵션을 통해 이 공간을 훨씬 효과적으로 활용할 수 있다. 리비안이 미국 특허청에 출원한 이번 특허도 이 기어 터널을 활용한 옵션 기능이다. 바로 슬라이드 아웃 프로젝터와 디스플레이를 통한 시어터 스크린 시스템이다.

10966_55861_3855.jpg (사진=USPTO)

상표 출원의 일부로 제공된 이미지에 따르면, 시스템은 지지할 수 있는 별도의 다리와 함께 내장형 빔 프로젝터, 무선 스피커, 대형 롤업 프로젝터 화면으로 구성되어 있다. 소형 거울을 통해 이미지 투사 각도 등을 조정할 수 있다. 또한 스피커를 사용자 주변에 배치해 간이 서라운드 사운드 시스템을 경험하는 것도 가능하다.

10966_55863_4829.jpg (사진=USPTO)

이 모든 시스템은 R1T의 배터리 팩으로 구동된다. 또한 특허 이미지에 따르면 프로젝터는 서랍에서 분리해 트럭의 다른 곳에 위치시킨 다음 별도의 스크린으로 투사할 수도 있다. 만약 두 대의 차량이 있다면 리비안 R1T의 프렁크에 프로젝터를 놓고, 다른 차량의 적재함에 스크린을 올려놓는 식으로도 활용 가능하다. 롤업 스크린을 포함한 모든 요소들은 기어 터널 내부로 수납 가능하다.

10966_55864_4838.jpg

기어 터널을 활용한 리비안의 또 다른 옵션으로는 캠프 키친이 있다. 각종 조리도구 및 식기, 2개의 버너 스토브가 포함된 수납식 주방이다. 가격은 5천 달러(659만 원)에서 6,750달러(891만 원)까지 책정됐다. 슬라이드 아웃 프로젝터의 정식 개발 및 출시 일정은 알려지지 않았지만, 향후 캠프 키친과 비슷한 가격으로 R1T 옵션으로 제공될 것으로 전망된다.

10966_55865_509.jpg

리비안 R1T는 2018년 LA 모터쇼에서 최초 공개된 후 2021년 판매를 시작한 전기 픽업 트럭이다. 오프로드 주행과 아웃도어 활동에 특화된 차량으로, 1회 완충 시 미국 EPA 기준 527km를 주행할 수 있다. 최대 4개의 전기모터를 탑재해 최대 합산 출력 750마력, 최대토크 113.4kg·m를 발휘한다. IIHS 충돌 테스트 탑 세이프티 픽+, 모터트렌드 선정 올해의 트럭 등 미국 내에서 높은 평가를 받고 있다.

10966_55866_5027.jpg (사진=뉴카스쿱스)

아웃도어 팬들을 위한 리비안의 신박한 시도가 계속되는 가운데, 이를 접한 국내 소비자들 역시 "국내 출시될 기아 픽업이나 토레스 픽업 등에 이와 비슷한 기능이 탑재된다면 좋겠다"며 긍정적인 반응을 보였다.

keyword
작가의 이전글"진짜로?"...현대 그랜저 LPG, 오너들의 평가는?