더 안전해진다, 현대차가 신차에 탑재한다는 이것의 정체

by 오코모
0_현대차 골반 에어백 특허.jpg 운전석 에어백 전개 / 사진 = YouTube "IIHS"
1_팰리세이드_Wikipedia.jpg 현대 팰리세이드 / 사진 = "Wikipedia"

과거에는 플래그십 차종에나 적용되던 고급 안전 사양들이 전 차급에 걸쳐 기본화되는 추세다. 안전에 있어서만큼은 차급에 제한을 둬선 안 된다는 인식이 자리 잡았기 때문이다. 그래서 요즘은 경차에도 전방 충돌 방지 시스템은 물론 7 에어백이 적용되는 경우가 많다.


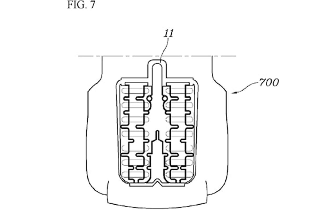
에어백의 종류는 크게 운전석, 조수석 에어백, 커튼 에어백, 사이드 에어백, 센터 사이드 에어백과 무릎 에어백 정도로 나눌 수 있다. 측면 충돌 시 양쪽 승객 간 충돌을 방지하는 센터 사이드 에어백은 비교적 최근에 등장했는데 여기에 또 변화가 있을 전망이다. 외신 '카버즈(CarBuzz)'에 따르면 현대자동차는 미국 특허청(USPTO)에 골반, 복부를 보호하는 새로운 에어백 특허를 출원했다.


안전벨트로 인한 복부 부상 방지

체중, 시트 포지션에 따라 조절

2_현대차 골반 에어백 특허_CarBuzz.jpg 현대차 골반 에어백 특허 / 사진 = "CarBuzz"
3_현대차 골반 에어백 특허_CarBuzz.jpg 현대차 골반 에어백 특허 / 사진 = "CarBuzz"
4_현대차 골반 에어백 예상도_CarBuzz.jpg 현대차 골반 에어백 예상도 / 사진 = "CarBuzz"

다소 우스꽝스러워 보이는 이 에어백은 안전벨트로 인한 부상을 방지하기 위해 고안되었다. 안전벨트 착용 시 허리 벨트는 복부 한복판이 아닌 가능한 골반에 가깝게 두는 게 정석이다. 하지만 차량 진동이나 운전 중 미세한 자세 변경 등으로 인해 운행을 시작한 지 얼마 지나지 않아 골반보다 위로 올라오는 경우가 많다. 이 상태에서 사고 발생 시 시속 50km 미만의 낮은 속도에서도 안전벨트가 복부를 압박해 최악의 경우 장기에 손상을 입을 수도 있다.


완성차 업계는 이를 방지하기 위해 시트를 더욱 견고하게 만들고 무릎 에어백을 활용해 부상 위험을 일부 줄여보기도 했지만 문제를 완전히 막기에는 역부족이었다. 현대차의 골반 에어백은 충돌 시 탑승자의 골반과 아랫배를 받쳐 하체가 안전벨트 아래로 미끄러지지 않도록 막아준다. 시트에 내장된 센서가 탑승자의 체중 분포와 시트 포지션을 감지하고 필요에 따라 에어백 전개 속도를 조절한다. 이는 탑승자가 아닌 무거운 물건이나 카시트가 올려진 경우를 감지해 작동하지 않도록 할 수도 있다.


안전성 입증 시 상용화

남성에게 문제없을까

5_현대 아이오닉 5 에어백 전개 순간_YouTube 'IIHS'.jpg 현대 아이오닉 5 에어백 전개 / 사진 = YouTube "IIHS"
6_20220723_150708.jpg 제네시스 G70 슈팅브레이크 운전석
7_무릎 에어백_YouTube 'soupy69'.jpg 무릎 에어백 / 사진 = YouTube "soupy69"

현대차 특허 자료에 따르면 골반 에어백에는 에어백 본체뿐만 아니라 이를 지지할 패브릭 지지대도 포함되어 탑승자의 신체를 전후좌우로 안전하게 받쳐준다. 카버즈는 골반 에어백의 실효성이 입증될 경우 현대, 기아, 제네시스 등 전 차종에 적용될 것으로 예상한다.


해외 네티즌들은 "에어백이 터질 정도의 사고를 당한 적이 있는데 안전벨트에 눌린 복부에 피멍이 든 적이 있다. 보기엔 웃겨도 효과만 있다면 환영이다", "복부는 살려도 남성의 경우 다른 부분이 희생될지도 모른다", "미국인 상당수가 비만인데 고도비만인 운전자도 커버할 수 있을까?" 등의 다양한 반응을 보였다.

keyword
작가의 이전글효리네 민박, 효리-상순 부부가 타고 다녔던 그 자동차