“알리에서 곧 나오는 거 아냐?”…BMW 특허 논란

by 이콘밍글

DIY 막는 새 나사 설계
로고 모양에 숨겨진 불편
온라인 반응은 싸늘

BMW-screw-patent-1024x576.png

iX3/출처-BMW


BMW가 독자적인 로고 모양의 나사 설계로 주목받고 있다.


2024년 6월 7일 세계지식재산기구(WIPO)에 출원하고 2025년 12월 11일 공개된 해당 특허는 기존 공구로는 조작이 어려운 구조로 설계돼, 정비소 외부에서의 차량 수리 접근을 어렵게 만들 가능성이 제기되고 있다.


반면 메르세데스-벤츠는 접착제를 제거하고 나사를 도입하는 방식으로 수리 접근성을 개선하는 중이다. 양대 독일 자동차 브랜드가 서로 다른 길을 선택한 가운데, 소비자 반응은 엇갈리고 있다.


BMW 로고 모양 나사, ‘정비 차단’ 논란

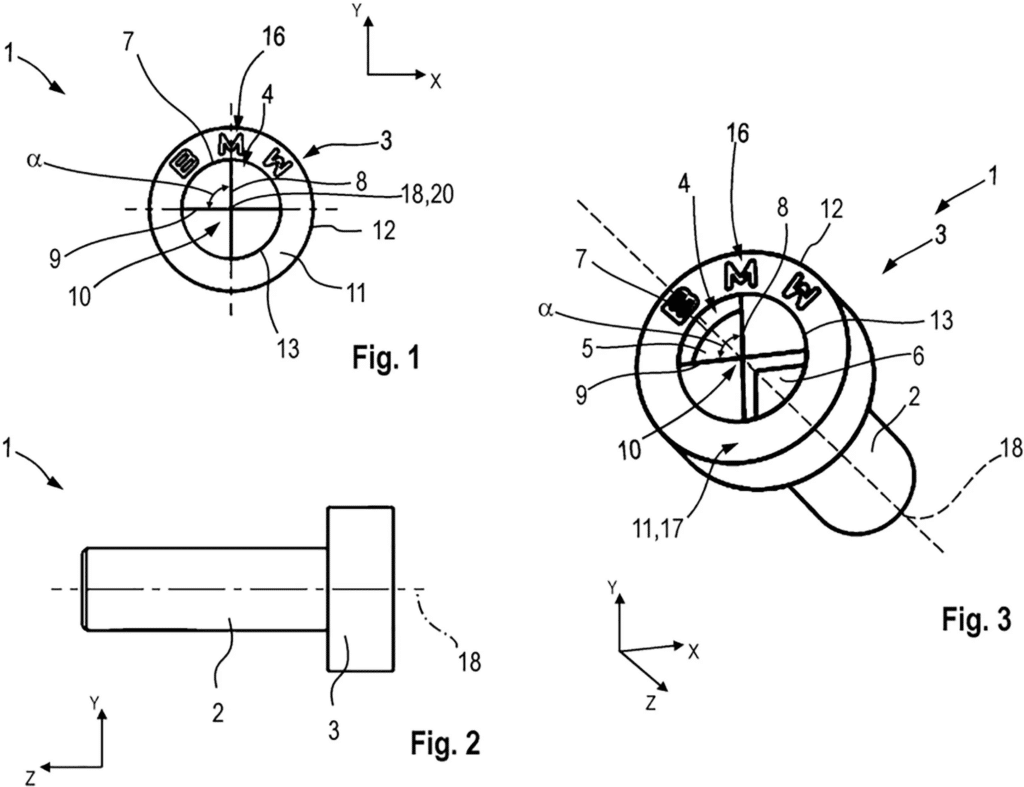
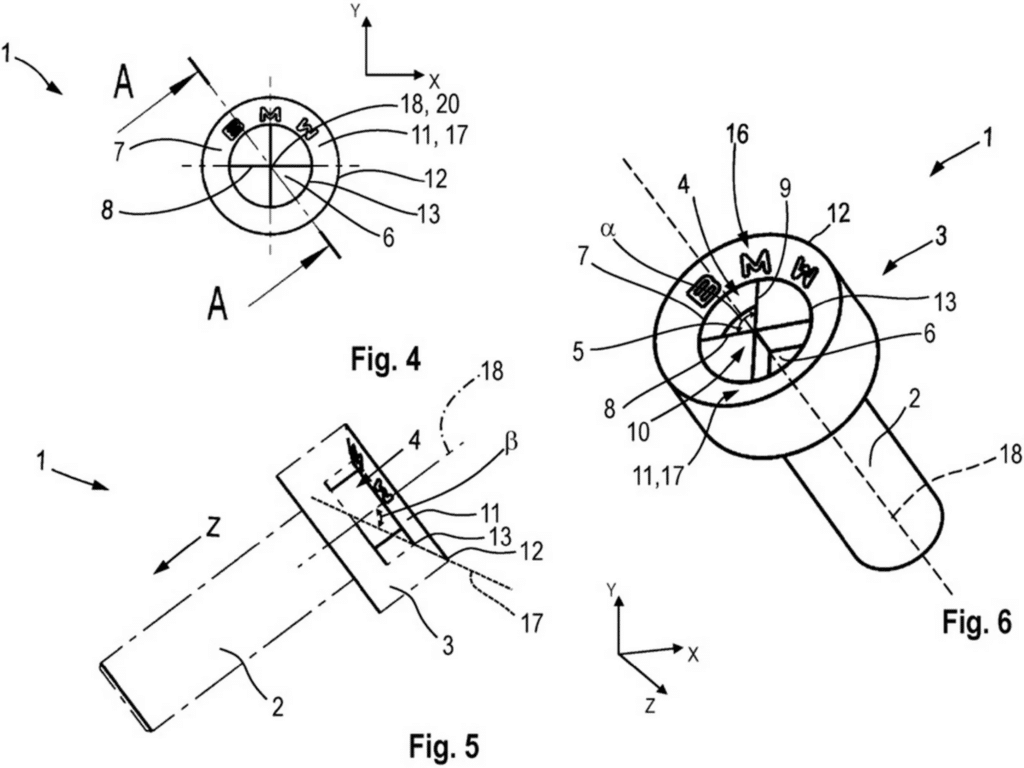
BMW는 최근 자사 로고를 본뜬 새로운 나사 머리 디자인의 특허를 출원했다.


나사는 4등분된 로고 형태를 그대로 따랐으며 두 개는 오목하게, 두 개는 평평하거나 돌출되게 설계돼 있다. 이로 인해 기존 드라이버나 렌치로는 풀거나 조일 수 없게 만들어졌다.


BMW-screw-patent-4-1024x787.png

BMW 나사 특허/출처-WIPO


BMW는 이 디자인에 대해 “일반적인 공구로는 풀 수 없도록 고안됐다”며 무단 정비를 제한하기 위한 목적임을 특허 문서에서 명확히 밝혔다.


운전석 시트 고정이나 차체 구조 연결부 등 눈에 잘 띄는 부위에 적용할 계획이 포함돼 있는 것으로 확인됐다.


하지만 이러한 설계는 자가 정비를 선호하는 소비자나 일반 정비업체의 접근을 어렵게 만들 수 있다는 지적이 나온다. BMW 전용 공구 없이는 정비가 사실상 불가능해질 수 있다는 것이다.


독자 부품화에 대한 반발 “알리에서 먼저 나올 판”

BMW-screw-patent-3-1024x705.png

BMW 나사 특허/출처-WIPO


인터넷에서는 해당 특허에 대한 반응이 빠르게 확산됐다. 일부 사용자들은 “이런 나사는 알리익스프레스나 테무에서 먼저 나올 것”이라며 조롱 섞인 반응을 보였다.


레딧 등 온라인 커뮤니티에서는 BMW의 의도가 차량 수리의 문턱을 높이고 공식 정비소 의존도를 강화하려는 것 아니냐는 비판이 제기됐다.


일각에서는 비공식 공구 제조업체가 발 빠르게 대체 공구를 만들 것이라는 예상도 나온다.


벤츠는 ‘정반대’ 방향, 나사로 수리 용이성 확보

같은 독일 프리미엄 브랜드인 메르세데스-벤츠는 BMW와는 다른 길을 걷고 있다. 헤드라이트 수리에 사용되던 접착제를 제거하고 나사로 대체해, 수리 시간을 줄이고 공정 효율을 높이는 방식으로 개선에 나섰다.


BMW-screw-patent-2-1024x768.png

BMW 나사 특허/출처-WIPO


이처럼 한쪽에서는 소비자 접근성을 높이는 방향으로, 다른 한쪽에서는 통제를 강화하는 방식으로 나아가면서 프리미엄 브랜드 간 전략 차이가 뚜렷하게 드러나고 있다.


특허 설계가 실제 양산 차량에 적용될지는 아직 불투명하지만, BMW의 이번 시도는 자동차 정비 생태계에 적잖은 영향을 미칠 것으로 보인다.



keyword
작가의 이전글“벤츠·BMW 겨냥?"… 내년 현기차 신차 라인업은