brunch

현대차가 꿈꾸는 전기차 미래는 이런 모습?

현대차, 수소 관련 특허 지속 출원

by 이콘밍글
%ED%98%84%EB%8C%80-n%EB%B9%84%EC%A0%8474-1024x683.jpg 출처 – 현대차

현대자동차가 전고체 배터리 관련 특허를 확보하기 위한 노력을 가속화하고 있다. 2030년 이전에 주행거리를 대폭 늘릴 수 있는 전고체 배터리를 상용화할 계획이다. 이 배터리 기술은 미래의 이차전지 산업에서 중요한 역할을 할 것으로 예상된다.


전고체 배터리는 액체 전해질을 사용하는 배터리의 한계를 극복할 수 있는 기술로 많은 기대를 받고 있다. 에너지 밀도가 높고 외부 온도 변화에 크게 영향을 받지 않아 배터리 효율이 좋고 안정성이 뛰어나다.


전고체 배터리의 선두주자인 토요타는 2027년 전고체 배터리를 탑재한 전기차를 출시할 예정이라고 밝히기도 했다. 전고체 배터리는 10분 이하 충전으로 약 1200km를 주행할 수 있고, 이는 현재 EV의 2.4배 수준이다.

%ED%96%94%EB%8D%B0-n%EB%B9%84%EC%A0%8474-2-1.jpeg 출처 – 현대차

현대차, 전고체 배터리 관련 특허 출원

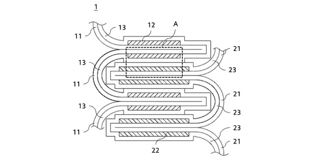
미국 특허청(USIPO)에 따르면, 현대차가 폴더블(접이식) 전고체 배터리에 대한 특허 출원을 진행했다는 최근 보도가 있었다.


특허에 따르면 폴더블 전고체 배터리는 전자의 이동이 일어나는 양극부와 음극부가 지그재그로 접혀 결합된 형태를 띤다. 이 방식은 기존의 적층 구조보다 면적당 효율을 향상시킬 뿐만 아니라 대량 생산 시에도 이점을 제공한다.

1703585644_%ED%98%84%EB%8C%80%EC%B0%A8-%EC%A0%84%EA%B3%A0%EC%B2%B4-%EB%B0%B0%ED%84%B0%EB%A6%AC-%ED%8A%B9%ED%97%88-%EC%B6%9C%EC%9B%90-1.png 출처-미국 특허청

현대자동차는 기존에 고온 환경(60℃ 이상)에서만 충전할 수 있었던 전고체 배터리를 상온(25℃)에서도 충전이 가능하게 하는 기술을 개발했다. 추가로, 최근에는 음극재를 사용하지 않고도 에너지 밀도를 높일 수 있는 기술에 대한 특허를 출원하기도 했다.


전고체 배터리는 액체 대신 고체 전해질을 적용해 기존 리튬이온 배터리와는 다른 매커니즘으로 작동한다. 이는 에너지 밀도의 향상으로 이어져 주행 거리를 연장하는 데 기여하며, 구조의 단순성과 안정성을 통해 화재 발생 가능성도 줄어든다.

%ED%96%94%EB%8D%B0-n%EB%B9%84%EC%A0%8474-1-1.jpeg 출처 – 현대차


N비전 74 콘셉트 양산 가능성↑

현대자동차는 앞서 포니 쿠페를 재해석한 N비전 74를 공개한 바 있다. 하지만 양산과 관련된 공식발표가 없어서 콘셉트카로 남는 게 아니냐는 의견이 다수였다.


그런데 최근 현대자동차가 수소연료 전기차 기술 관련 특허 출원을 지속하면서 N비전74 양산 기대감이 올라가고 있다. 현대차는 최근에는 차량 뒷부분에 수소 탱크를 나란히 놓는 ‘후방 차체 구조’에 대한 특허를 신청했다.


이 특허는 서스펜션, 쌍둥이 수소 탱크, 연료 전지, 그리고 기계적으로 필요한 요소들을 포함하는 후방 하부 프레임의 구조에 중점을 두었다. 또 기아 스팅어를 연상시키는 도면이 공개되었는데, 이는 2열 좌석을 없앤 쿠페 형태의 디자인을 암시하고 있다.

1703585689_%ED%98%84%EB%8C%80%EC%B0%A8-%EC%A0%84%EA%B3%A0%EC%B2%B4-%EB%B0%B0%ED%84%B0%EB%A6%AC-%ED%8A%B9%ED%97%88-%EC%B6%9C%EC%9B%90-5.png

출처-미국 특허청

%ED%96%94%EB%8D%B0-n%EB%B9%84%EC%A0%8474-2.jpeg 출처 – 현대차

한편, 현대자동차는 N 비전 74 컨셉트 모델이 실제로 생산될 수 있다는 가능성을 전면적으로 배제하지 않았으며, 경영진 역시 이에 대한 가능성을 수차례 언급한 바 있다.


9월에 현대자동차가 유럽연합 지적재산권 사무소(EUIPO)에 ‘현대 N74’ 상표를 출원한 사실이 알려지며 많은 이들의 기대를 모으고 있다.

%ED%96%94%EB%8D%B0-n%EB%B9%84%EC%A0%8474-3.jpeg 출처 – 현대차

현대자동차가 현재 생산하고 판매 중인 수소연료전지차는 ‘넥쏘’ 단일 모델뿐이지만, N 비전 74는 수소연료전지 차량에 대한 대중의 인식 전환에 기여할 수 있는 헤일로카로 평가되고 있다.


현대차가 전고체 배터리와 수소연료 전지차 기술 개발에 집중적으로 투자하고 혁신해 나가면서, 이 같은 추세는 업계의 이목을 집중시키는 대표적인 사례로 평가받고 있다.



keyword
작가의 이전글“출시하자마자 벌써?” 카니발 하이브리드, 이정도였어?