대출 이자 계산기로 세워보는 현실적인 내 집 마련 계획

by 트렌트
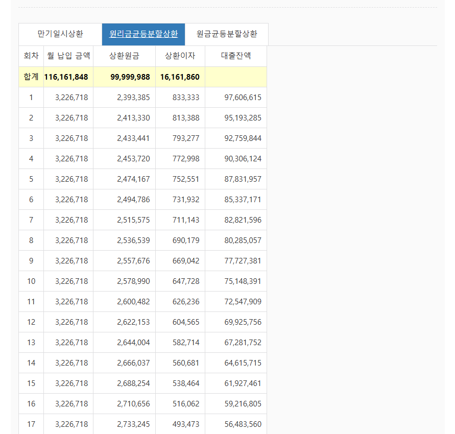
대출이자 계산기1.png

대출 이자 계산기로 세워보는 현실적인 내 집 마련 계획 팁

저는 몇 년 동안 “언젠가는 내 집…”만 되뇌다가,
막상 대출 계산을 하려니 머리가 아파서 계속 미루고만 있었습니다.

그러다 어느 날, 은행 상담 전에 대출 이자 계산기를 써보고
그제야 “내가 진짜 감당할 수 있는 집 가격이 얼마인지”
현실적으로 보이기 시작했어요.

오늘은 제가 직접 경험하면서 정리한
대출 이자 계산기를 활용한 현실적인 내 집 마련 계획 세우는 방법을 공유해 보겠습니다.


1. “살고 싶은 집”이 아니라 “감당 가능한 집”부터 정한다

예전의 저는 먼저 이런 것부터 생각했어요.

방 3개는 있어야지

학교·지하철 가까운 곳

신축이나 준신축이면 좋겠다


그런데 사실 진짜 중요한 건 감당 가능한 월 상환액이더라고요.

그래서 저는 먼저 대출 이자 계산기에 이런 순서로 입력해 봤습니다.

현재 모은 자기자금(보유 현금)

예상 집 가격(대략적인 목표)

고정금리/변동금리, 대출 기간 (20년·30년 등)

상환 방식: 원리금균등 / 원금균등


계산 결과를 보니,


“이 집을 사면 매달 이만큼을 ‘꼭’ 내야 한다”


라는 숫자가 딱 나오더라고요.
이 숫자가 내 월급과 가계부에 진짜 버틸 수 있는 수준인지 먼저 보는 게 출발점입니다.

11.png

2. 월 상환액을 보고 “역산”해서 집 가격을 줄여보기

다음으로 해본 건, “내가 감당할 수 있는 월 최대 상환액”을 먼저 정하고
그걸 기준으로 집 가격을 거꾸로 줄여 보는 것이었습니다.

예를 들면,


우리 집 가계부를 보니,
매달 120만 원까지는 대출 상환에 쓸 수 있겠다


그 이상은 생활이 너무 빠듯해질 것 같다


라고 기준을 세우고,
대출 이자 계산기에 월 상환액이 120만 원이 안 넘어가도록 집 가격을 낮춰보는 방식이에요.

이렇게 몇 번 돌려보면,

“생각보다 이 가격대 아파트는 무리다”

“전세끼고 들어가는 갭투자는 아직 리스크 크다”

“차라리 지역을 조금 외곽으로 넓히는 게 낫겠다”


같은 결론이 훨씬 현실적으로 보입니다.

2.png

3. 금리가 1~2% 올라갔을 때도 버틸 수 있는지 꼭 시뮬레이션 하기

요즘처럼 금리가 왔다 갔다 할 때는
“지금 금리 기준으로만 계산하면 안 된다”는 걸 뼈저리게 느꼈어요.

그래서 저는 같은 조건에서:

현재 금리 (예: 4%)

1% 오른 금리 (5%)

2% 오른 금리 (6%)


이렇게 세 번을 대출 이자 계산기로 돌려봤습니다.

그랬더니 금리 1~2% 차이인데도 월 상환액이 꽤 크게 올라가더라구요.

이때 기준은 간단하게 잡았습니다.


금리가 2% 올라가도 “좀 빠듯하지만 그래도 버틸 수 있겠다” 수준인지


이걸 넘어서면, 저는 바로 집 가격을 낮추거나 대출 금액을 줄이는 쪽으로 다시 계산했어요.
집은 오래 가지고 가야 하는데, 몇 년 후에 금리 올라서 버티지 못하면
그때의 스트레스는 말도 안 되거든요.


https://trendnote.co.kr/%eb%8c%80%ec%b6%9c%ec%9d%b4%ec%9e%90-%ea%b3%84%ec%82%b0%ea%b8%b0%eb%a1%9c-%eb%82%b4-%ec%97%b0%eb%b4%89%ec%97%90-%eb%a7%9e%eb%8a%94-%ec%95%88%ec%a0%84-%eb%8c%80%ec%b6%9c-%ed%95%9c%eb%8f%84-%ec%9e%a1/

3.png

4. 상환 방식에 따라 이자가 얼마나 다른지 비교해 본다

대출 이자 계산기에서 꼭 해봐야 할 게 하나 더 있는데요,
바로 상환 방식 비교입니다.

대표적으로:

원리금균등 상환 매달 비슷한 금액을 납부 초반에는 이자 비중이 크고, 뒤로 갈수록 원금 비중이 커짐

원금균등 상환 매달 갚는 원금이 일정 처음이 가장 많이 내고, 점점 부담이 줄어듦 전체 이자 총액은 더 적어지는 구조인 경우가 많음


이 두 가지를 대출 이자 계산기에서 같은 조건으로 넣고
월 상환액과 이자 총액을 비교해보면 차이가 확실히 보입니다.

저는 실제로 이렇게 해보고:

지금은 초기 현금 흐름이 가장 중요하다 → 원리금균등

여유가 생기면 중간에 중도상환도 고려


이런 식으로 제 상황에 맞는 선택을 할 수 있었어요.

4.png

5. 내 5년·10년 인생 계획까지 넣어서 다시 한 번 검토해 본다

마지막으로, 숫자만 보고 결정하면 안 되더라고요.
그래서 저는 대출 이자 계산기 결과를 보고 나서
앞으로 5년·10년 사이에 일어날 일도 같이 적어봤습니다.

아이 교육비 언제부터 많이 들지?

차를 바꿔야 하는 시점은 언제일까?

부모님 지원, 생활비 증가는 어느 정도 예상되나?

직장·사업 상황이 얼마나 안정적인가?


이런 것들을 종이에 쭉 써놓고,
대출 상환액이 이 변수들과 겹칠 때도 버틸 수 있는지 다시 보는 거죠.

그렇게 몇 번을 수정하다 보니
처음에 꿈꾸던 집보다는 한 단계 낮춰야 했지만,
대신 “무리하지 않는 내 집 마련”이라는 안정감을 얻을 수 있었습니다.

5.png

마무리 – 대출 이자 계산기는 “희망 숫자”가 아니라 현실 숫자를 보여준다

대출 이자 계산기를 써보면서 느낀 건,


“이 도구는 내 로또 같은 희망을 계산해주는 게 아니라,
내가 진짜 감당할 수 있는 현실을 보여주는 거구나”


라는 점이었습니다.

월 상환액을 먼저 기준으로 정하고

그 안에 들어오는 집 가격과 대출 금액을 역산해서 찾고

금리 변동·상환 방식·향후 계획까지 시뮬레이션해보면


내 집 마련이 막연한 꿈에서
숫자로 관리되는 현실적인 목표로 바뀝니다.

혹시 지금도 “언젠가 내 집…”만 생각하고 있다면,
오늘 한 번 대출 이자 계산기부터 열어보고
내가 진짜 감당할 수 있는 월 상환액을 찍어보는 것부터 시작해 보세요.

생각보다 빨리, 그리고 생각보다 조금 더 “안전한 집”이 눈에 들어올지도 모릅니다.

keyword
작가의 이전글무게 단위 변환 계산기