brunch

아마존, 집게발 달린 드론 특허 제출

층고 높은 창고에서 효율적인 물품 관리 가능해

by 아나드론스타팅

아마존이 드론 관련 새로운 특허를 제출했습니다. 이번에는 창고 효율화를 위한 드론입니다.


주요 외신은 아마존이 최근 ‘인벤토리 시스템을 위한 드론’이라는 이름으로 새로운 드론 특허를 제출했다고 지난 19일(현지시각) 보도했습니다.


180621 amazon claws 1.png 사진=commos.wikimedia.org


아마존은 드론에 남다른 관심을 가지고 있죠.


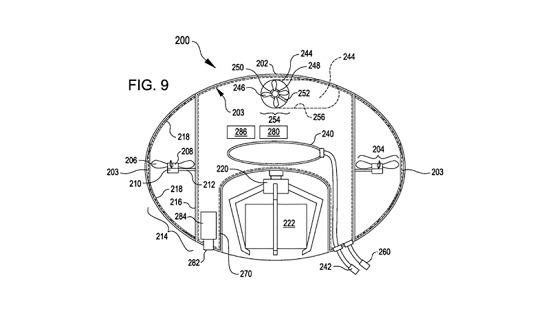
이 드론은 일반적인 드론과 달리 거품 혹은 해파리를 닮았습니다. 위에 달린 일종의 에어백 때문입니다.


아래쪽에 달린 커다란 집게발을 보면 인형 뽑기가 생각나기도 합니다. 사용 예를 보면 그렇게 만들어진 이유를 알 수 있습니다.


180621 amazon claws 2.jpg 사진=www.uspto.gov


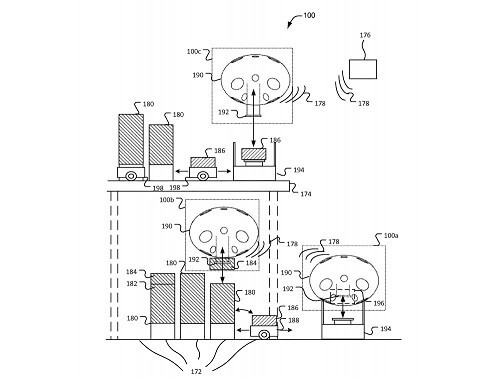
아마존은 층고가 높고 넓은 창고에서 사용하기 위해 이 드론을 만들었습니다.


대형 창고는 보통 두 층 이상의 공간 하나로 합쳐 사용합니다.


물건의 크기와 상관없이 다양한 물건을 보관할 수 있도록 하기 위한 것인데요.


어쩔 수 없이 사람의 손이 닿지 않는 수직 공간은 비어 있게 됩니다.


이를 해결하기 위해 공간을 다 사용할 경우에는 층을 왔다갔다하며 작업해야 하기에 업무 효율이 낮아집니다.


180621 amazon claws 3.jpg 사진=www.uspto.gov


드론은 상하좌우로 이동할 수 있기에 물건이 놓인 높이나 위치에 상관없이 물건에 접근할 수 있습니다.


프로펠러로 적정 위치까지 이동하여 집게발로 원하는 물건을 집은 후 에어백으로 천천히 내려오기만 하면 됩니다.


180621 amazon claws 4.jpg 사진=www.uspto.gov


창고 업무의 효율이 상당히 개선될 것으로 보입니다.


단, 아마존이 이 드론을 실제 창고에 배치할지 여부는 아직 알려지지 않았습니다.




WRITER 박소연/아나드론스타팅 필진

드론에 대해 더 잘 알고 싶은 박소연입니다.



초보자를 위한 드론 전문 웹진, 아나드론스타팅!

www.anadronestarting.com

keyword
매거진의 이전글드론 디자인 명가 패럿의 귀환, 드론 아나피