brunch

SONY, 비행 카메라 드론 개발 中

소니, 비행 카메라 시스템 선보일 듯

by 아나드론스타팅


소니가 지난 몇 년 동안 ‘비행 카메라’ 드론을 조용히 개발하고 있었다는 소식이 전해졌습니다.


200207%201.jpg


페타픽셀 등 주요 외신은 소니가 ‘비행 카메라 및 시스템’이라는 이름으로 특허를 출원했다고 지난 3일(현지 시간) 보도했습니다.


200207%202.jpg


소니는 지난 2018년 후반에 처음으로 드론 관련 특허를 출원했으며, 이어 지난해 10월과 지난 1월 또 다른 특허를 출원했습니다.


200207%203.jpg


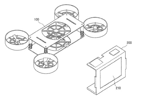
특허 문서에 따르면 소니가 개발 중인 ‘비행 카메라’ 드론은 드론을 접어 ‘쉘(shell)’ 안에 넣으면 소형 카메라의 형태가 됩니다. 카메라를 감싼 후면 덮개가 드론 컨트롤러여서 이용자는 후면 덮개만 벗기면 바로 드론 비행을 시작할 수 있습니다.


200207%204.jpg


드론 조종은 터치스크린을 통해 쉽게 할 수 있는데요, 확대/축소 제스처로 초점을 맞춘 피사체에서 더 멀어지게 혹은 더 가까워지게 하는 식입니다. 손바닥에서 바로 이륙한 후 짧은 거리에서 사진을 촬영, 다시 손바닥으로 돌아오는 단체 사진 촬영 모드도 지원합니다.


200207%205.jpg


단, 이 드론의 출시 관련 일정에 대해서는 알려진 바가 없습니다.




WRITER 박소연

드론에 대해 더 잘 알고 싶은 박소연입니다.




초보자를 위한 드론 전문 웹진, 아나드론스타팅!

www.anadronestarting.com

keyword
매거진의 이전글생활속 드론은 어떻게 활용 될까