brunch

IoT와 증강현실이
옴니채널을 완성한다

by 김시바

인터넷 상거래가 발달하면서 온라인과 오프라인을 넘나드는 옴니채널(Omni Channel) 마케팅의 개념은 이미 유통업계에서는 기본적인 전략으로 자리 잡은지 오래입니다. 유통업계는 온라인 쇼핑에서 치이고 있는 오프라인 매장을 '쇼핑을 위한 채널'에서 벗어나 '고객을 더 오래 잡아두고 제품을 노출시키기 위한 복합 공간'으로 만들고 있는 한편, 온라인 매장 또한 오프라인에서 경험한 것을 최대한 매끄럽게 구매로 이어지도록 노력하고 있습니다.


IoT(Internet of Things)와 증강현실(Augmented Reality, AR) 또한 이제는 널리 알려진 개념입니다. 센서가 달린 사물들이 서로 통신하고 정보를 주고 받는 IoT는 일부 가전제품들을 통해 상용화가 시작되었고, 현실에 정보를 추가하여 제공하여 보여준다는 증강현실은 처음 그 개념이 등장하고 오랜기간동안 잠들어 있다가 포켓몬고의 열풍으로 이제 꽃을 피우나 싶었지만 그 이후로 다시 잠잠해진 상태입니다.


( 출처 : 대한금융신문 )


그럼에도 불구하고 지금 이 시점에서, 이미 널리 알려진 옴니채널과 IoT, 증강현실을 다시 소개하는 이유는 IT 산업의 두 공룡인 애플과 구글이 이 분야에서 자신들만의 생태계를 구축하기 위해 본격적인 움직임을 보이고 있기 때문입니다.


지금까지 IoT나 증강현실이 기대했던 것 만큼 활성화되지 못한 이유는 무엇 때문이었을까요? 제 생각에는 크게 두 가지 이유가 있었습니다. 첫째, 통합된 플랫폼이 없어서 고객 경험이 만족스럽게 준비되지 못했다는 점과 둘째, 컨텐츠 개발 비용이 지나치게 많이 필요하다보니 만들어지는 콘텐츠량이 거의 없었다는 점이 바로 그것입니다.


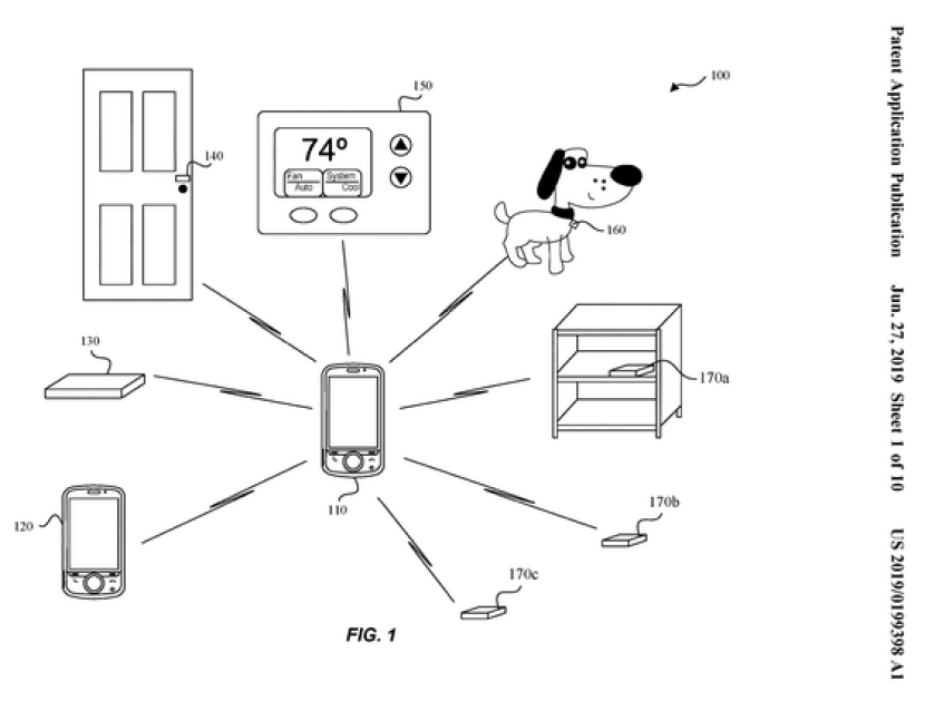
지금까지 삼성이나 LG 등 유명 전자회사들이 제공하는 IoT는 그동안 구글이나 애플에게 배웠던 것들을 다 까먹어버렸던 것인지 여전히 폐쇄적이고 고객 친화적이지 못했습니다. 고객들이 상상하는 IoT는 컴퓨터가 내 생활 패턴과 취향을 분석하여 내가 출퇴근할 때 알아서 에어컨이나 공기청정기가 켜졌다가 꺼지기도 하고, 내가 어떤 물건이나 특정 상점에 들어가면 자동으로 해당 물건이나 상점의 정보가 보이는 모습이었습니다. 하지만 현실은 각각 전자회사마다, 각각 전자제품마다 별도의 앱을 설치해야만 했고, 그렇게 앱을 설치하더라도 결국 고객에게 제공되는 것은 원래의 리모컨 대신 스마트폰을 리모컨으로 사용하는 수준의 경험이었습니다. 하지만 현실세계에서 살고 있는 우리는 다양한 기업들의 전자제품을 사용하고 있고, 단순히 기기를 조작하는 일은 리모컨으로 하는 것이 훨씬 편합니다. 이처럼 IoT에 대한 만족도가 떨어지다 보니 결국 고객 입장에서 IoT 기능이 있는 기기를 선택할 이유가 없는 것입니다.


구글은 2018년부터 2020년까지 CES에서 구글 어시스턴트 홍보만을 주력하고 있다


하지만 얼마전 CES에서 IoT 표준이 정립되었다는 이야기가 들려오는 것을 보니 이제 상황이 많아 달라질 수 있을 것으로 보입니다. 이제는 스마트폰 시장에 이어 IoT 시장에서도 애플이나 구글, 아마존이 제공하는 전 세계적인 통합 IoT 플랫폼에 삼성이나 LG, 샤오미 등의 전자회사들이 종속될 일이 얼마 남지 않아보입니다. 고객이 자신이 쓰는 스마트폰 종류에 따라 애플의 시리나 구글 어시스턴트를 이용하여 주변에 존재하는 어떤 회사의 물건이든 다 정보를 얻고, 자동으로 통제하며, 고객 맞춤형 서비스를 시킬 수 있게 되는 것입니다.


이렇게 고객 경험이 완성된다면 그때는 IoT 기능이 없고 자신을 알리지 못하는 제품과 매장은 점차 뒤쳐질 수 밖에 없을 것입니다. 이에 대비하여 구글은 아마존 알렉사에게 뒤쳐져 있는 음성 인공지능 비서 시장 점유율을 되찾아오기 위해 2018년부터 최근까지 CES 부스를 구글 어시스턴트 홍보로 도배하고 있다고 합니다.


애플 또한 아이폰 11부터 기존 Wi-Fi나 Bluetooth보다 훨씬 더 높은 정밀도를 갖고, 더 빠른 속도로 통신하는 초광대역 무선통신(이하 UWB, Ultra-wideband) 기능을 탑재한 것으로 알려져 있습니다. 이 UWB 기술은 단거리를 커버하고 500MHz 이상의 고대역폭 저전력 무선기술로 블루투스와 유사하지만, 블루투스보다 훨씬 더 적은 오차 범위에서 위치를 찾고 (블루투스 오차범위 : 1M, UWB 오차범위 : 30cm) 4배 더 빠른 통신을 할 수 있다고 합니다. (블루투스 속도 : 2Mbps, UWB 속도 : 8Mbps) 또한 신호가 벽을 쉽게 통과할 수 있기 때문에 실내에 위치한 물건들과 정보를 주고받고 위치를 찾는 레이더처럼 움직일 수 있을 것으로 기대하고 있습니다.


애플의 UWB 특허 구성도


IT 전문 매체들과 유명 애플 분석가들은 이 UWB 기술의 궁극적인 목표가 IoT와 증강현실 분야에서 애플 중심의 생태계를 만들기 위한 것으로 판단하고 있습니다. 현재까지 유출된 정보에 따르면 애플은 '애플 태그'라는 소형 디바이스를 개발중인 것으로 알려져 있었습니다. 마치 온라인 세상에서 태그를 이용하여 정보를 찾듯이, 작고 하얀 '애플 태그'를 물건에 붙이면 위치를 추적하고 스마트폰에 자동으로 정보를 제공할 수 있는 것입니다.


이렇게 '애플 태그'까지 상용화되면 아이폰의 UWB 기능을 통해 실내 네비게이션 서비스를 제공하거나, 증강현실을 활용해 물건 찾기, 상품 검색, 정보 확인, 보안 서비스(애플 태그가 특정 위치를 벗어나면 경보를 발생시키는 식) 등을 제공할 수 있을 것으로 보입니다. 그리고 집에 있는 각종 IoT 정자제품들은 애플의 스마트폰 플랫폼 '홈킷'으로 통합되어 관리되는 것입니다.


apple_tag_mosaic-572x650.jpg 애플 태그 상상도


이렇게 통합된 플랫폼이 나온다면 IoT나 증강현실 콘텐츠 제작 비용도 현저히 낮아질 수 있습니다. 지금까지는 IoT나 증강현실을 위한 앱을 각 기업이나 콘텐츠 제공자마다 별도로 만들어야 했다면, 이제는 애플이나 구글이 제공하는 플랫폼에 자신들의 정보를 제공하기만 하면 됩니다. 예를 들어, 지금까지는 백화점들이 각자 회사에서 자체적인 시스템과 별도 앱을 만들어야만 했다면, 이제는 애플 UWB에 대응하는 애플 태그를 하나 사서 매장이나 물건에 붙이기만 하면 근처에 있는 아이폰 사용자들의 화면에 자동으로 매장이나 물건 정보가 떠오르도록 만들 수 있는 것입니다. 별도 시스템이나 앱을 구축할 필요가 없기 때문에 콘텐츠 제작 비용은 현격히 낮아질 수 있습니다. 이렇게 콘텐츠 제작 비용이 낮아지고 그 효용성이 입증된다면 대규모 쇼핑 매장이나 프랜차이즈 업종부터 IoT나 증강현실을 이용한 마케팅이 급물살을 탈 수 있을 것으로 보입니다.


지금까지는 옴니채널이라고는 해도 고객이 오프라인에서 제품을 살펴보고, 온라인에서 본인이 직접 물건을 찾아 구매하는 번거로운 과정을 거쳐야만 했습니다. 하지만 이제 고객이 오프라인 매장에 도착하는 순간 스마트폰에 매장 내 모든 물건들의 명세와 사용할 수 있는 쿠폰이 보인다면? 고객이 특정 물건 앞으로 이동하는 순간 해당 물건의 상세한 정보가 스마트폰에 자동으로 나타나면서 고객이 구매 버튼만 누르면 바로 구매를 할 수 있다면? 스마트폰 카메라로 물건의 사진을 비추자마자 그와 유사한 상품 리스트와 매장 위치가 안내된다면? 고객 입장에서는 지금까지 경험한 것과는 한층 더 편리한 쇼핑의 신세계가 펼쳐질 것입니다.

keyword
이전 06화디지털 컨시어지, 디지털 큐레이션 마케팅