brunch

골프볼의 물리학 - 딤플의 역할

양력과 항력

by 시리어스골퍼

골프볼의 비행원리를 설명하려면, 골프볼의 구조 중 코어와 커버, 정확히는 코어와 딤플의 역할에 대해서 살펴볼 필요가 있다. 골프볼은 비행기와 마찬가지로 추진력을 가지고 하늘을 나는 물체이다. 그래서 흔히 골프볼의 코어를 비행기의 엔진에 비유하고, 골프볼의 커버 특히 딤플을 비행기의 날개에 비유하게 된다. 코어에 축적된 힘이 실제 골프볼을 띄우게 되고, 이렇게 띄워진 골프볼의 비행을 딤플이 컨트롤하게 된다. (비행기가 고도를 변경하거나 방향을 변경할 때 양쪽 날개의 형태 혹은 각도가 달라지는 것을 볼 수 있을 것이다.)

물리학을 전공하지 않은 입장에서 깊이 있는 내용을 전달하기가 쉽지는 않지만, 최대한 모형을 단순화하여 설명해 보고자 한다.


골프볼이 비행을 할 때에는 여러 힘이 작용하게 된다. 골프볼에 수직으로 작용하는 Gravity (중력), 날아가는 방향의 반대 방향으로 작용하는 Drag Force ( 항력), 그리고 골프볼의 이동 방향에 수직으로 작용하는 Lift force(양력)이 대표적인 힘이다. 질량을 가지고 있는 물체에게 중력은 컨트롤할 수 없는 부분이기에, 관심을 가져가야 할 가장 중요한 요소는 바로 골프볼이 날아갈 때 생기는 양력과 항력이다. '날아갈 때'라고 표현하는 이유는 가만히 있는 물체에게는 이러한 힘이 작용하지 않기 때문이다.

basic-understanding-of-lift-and-drag.png 골프볼에 작용하는 주요 힘 <출처 : Trackman Golf>


골프볼 딤플 설계의 목적이 바로 양력을 최대로 유지하면서 항력을 최소화하는 것인데, 딤플이 중요한 이유는 다음과 같은 공식에 달려 있다.

양력과 항력_도해 기계용어 사전.jpg 항력과 양력의 공식 <출처 : 도해 기계용어사전>

위 공식에서 항력 계수와 양력 계수를 주의 깊게 살펴볼 필요가 있다. 나머지 요소 즉 공기(유체)의 밀도, 물체의 속도, 공기와 접촉하는 면적은 컨트롤할 수 있는 영역이 아닌데 비해(물론 볼스피드를 올릴 수는 있다), 항력 계수와 양력 계수를 컨트롤 함으로써, 골프볼의 체공시간을 변경하고, 특히 체공시간을 늘려 더 긴 비거리를 제공할 수 있는 조건을 만들어줄 수 있게 된다. 바로 이 역할을 하는 것이 골프볼 딤플의 역할이다. 즉 항력 계수는 최소로 만들어 공기 저항을 줄이면서도, 양력 계수를 최대로 만들어 주는 것이 중요하다. 아래 딤플과 관련된 특허처럼 딤플을 크기와 깊이 등을 공기역학적으로 분석하게 된다.

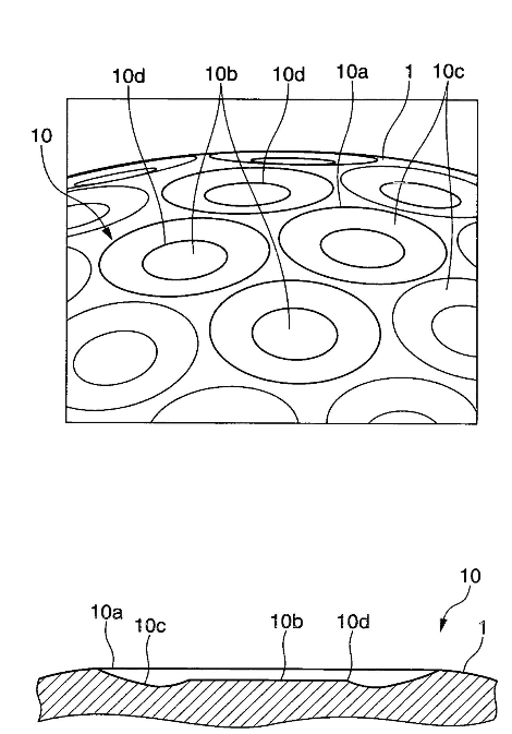
US08632426-20140121-D00000.png 딤플과 관련된 특허 <출처: US Patent - US8632426B2>
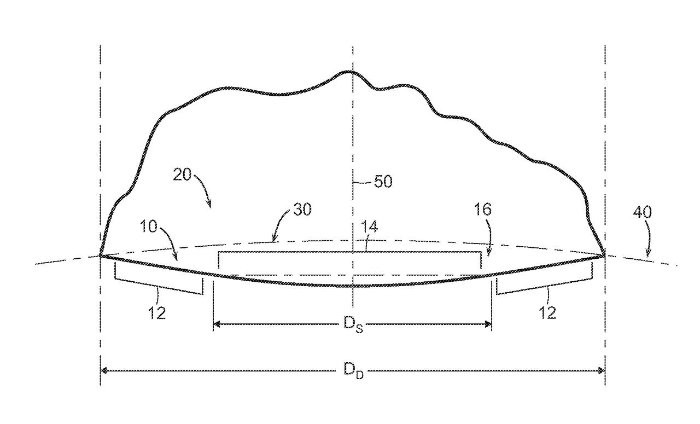
US07503857-20090317-D00000.png 딤플과 관련된 특허 <출처: US Patent - US7503857B2>

만약 골프볼 자체의 모양 변경이 가능했다면 더욱 다양한 시도를 통해 골프볼의 성능을 올리기 위한 노력을 하였겠지만, 안타깝게도 골프볼은 구형 이외의 모양은 허용되지 않기 때문에 결국 각 제조사들이 딤플을 어떻게 골프볼에 구현할지에 대하여 많은 노력을 하고 있다. 위 그림에 보이는 두 가지 특허는 타이틀리스트와 브리지스톤에서 각각 출원을 한 것이다.


참고로 타이틀리스트의 테스트에 의하면, 딤플이 있는 골프볼이 표면이 매끈한 골프볼보다 약 3배 이상의 비거리를 갖는다고 하니, 딤플이 너무 닳아서 제 기능을 못하는 골프볼은 그냥 퍼팅 연습용 정도로 사용하는 것이 좋을 것 같다. (물론, 그전에 대부분의 골프볼을 잃어버리는 것이 안타까운 현실이다.)


다음번에는 골프볼의 코어에 대해서 좀 더 정리하도록 하겠다.


keyword
작가의 이전글골프볼의 물리학 - 구형의 대칭성