brunch

정기예금 대신 만기 있는 채권 ETF에 돈이 몰린다고?

나도 채권 소액투자 해볼까??

by 김팀장

안녕하세요.

오늘의 경제 기사를 보며 공부해 보는 김팀장의 경제 기사 읽기입니다.

저는 전문가도, 전업 투자자도 아닌 그저 여러분과 같이 투자를 위해 공부하는 사람입니다.

경제 기사를 읽고 제가 생각한 것들은 당연히 정답도 아니고 때로는 틀린 생각일 수도 있으니 그저 참고용으로 재미 삼아 읽어주시면 감사하겠습니다^^


제 생각에 대한 다양한 의견은 언제든 환영입니다!




오늘의 기사


만기 있는 채권 ETF, 불과 3주 새 1조 몰린 까닭은?

https://www.mk.co.kr/news/stock/10566923


★ 오늘의 기사 요약


오늘은 채권 ETF에 관한 기사입니다.


지난달 22일 한국거래소에 상장한 만기 매칭형 채권 8종의 순자산총액이 지난 12일 기준 1조 532억 원을 기록했고, 이달 9일 상장된 ETF를 합하면 총 1조 1051억 원에 달하고 있습니다.

20221213510234.jpg


불과 3주 만에 1조 원이 넘는 돈이 몰린 이유로는 불확실한 경기 상황에서 만기까지 보유하면 예상 기대 수익률을 얻을 수 있다는 구조에 투자자들이 매력을 느꼈다는 분석이 나오고 있습니다.


기사 내용으로는 꽤 매력적인 상품으로 보이네요.

한번 공부해 보겠습니다.




기사 파보기


★ 만기 있는 채권 ETF의 장점

■ 존속기한형 채권 ETF 신규 출시

만기가 있는 채권 ETF, 즉 만기 매칭형 또는 존속기한형 채권 ETF에 대하여 살펴보겠습니다.

채권에 투자하는 ETF는 기존에도 다양한 상품들이 존재했었지만 이 상품의 특징은 정기예금처럼 만기가 존재한다는 것입니다.


본래 ETF에는 만기(존속기한)를 설정하는 것이 금지되어 왔었는데 지난 8월 규정이 개정되면서 만기 설정이 가능해졌고, 그래서 나온 상품이 바로 존속기한형 채권 ETF입니다.


image (2).png 출처 : 삼성자산운용 <ETF 테마 노트>

채권 중에서도 우량한 국채나 은행채에 투자하면서 만기에 도달하면 자동으로 해지되어 해지 환급금을 지급하는 상품인 것이죠.


그렇다면, 존속기한형 채권 ETF가 어떤 상품인지 구체적으로 알아볼까요?

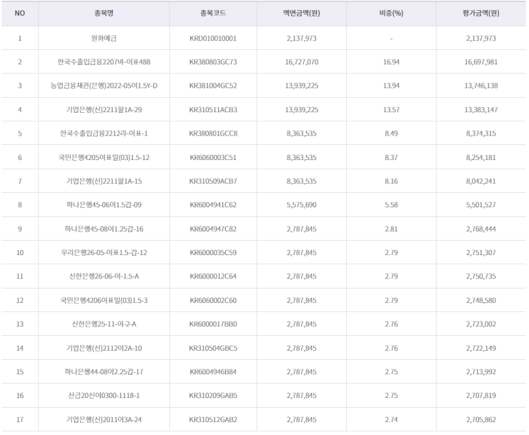
가장 많은 자금이 몰린 KODEX 23-12 은행채(AA+이상) 액티브 ETF를 예로 들어 살펴보겠습니다.


image (3).png


이 상품은 신용등급 AA+ 이상의 우량한 은행 채권에 투자하는 상품으로 만기는 2023년 12월입니다.

image (4).png

구성 종목 리스트를 보면 국책 은행인 수출입은행을 비롯해 우량 등급의 국내 5대 은행에서 발행한 채권들에 투자하는 것을 확인할 수 있습니다.

안정성에 대한 고민은 하지 않아도 되겠죠.


만기가 도래하면 상장 폐지되어 투자 수익이 환급되며 상장폐지 예정일은 2023년 12월 7일입니다.

해지 상환금은 2023년 12월 11일에 지급될 예정이니 1년 정도 묶어두실 수 있는 자금만 투자하시는 게 좋겠네요.



■ 어떤 장점이 있을까?

존속기한형 채권 ETF에는 어떤 장점이 있을까요?


첫째, 만기 보유 시 기대 수익률 수준의 이자수익을 얻을 수 있습니다.


기대 수익률은 YTM(Yield to Maturity)이라고 하는데 투자자가 매수하는 시점마다 조금씩 차이가 있으니 매수 시점의 YTM을 확인 후에 매수해야 합니다.

여기서 기대 수익률이란 결국 상품을 구성하는 채권의 기대 수익률에 의해 결정되기 때문에 채권 금리의 변동에 따라 매수 시점마다 달라지게 됩니다.


YTM은 해당 상품을 운용하는 운용사 홈페이지에서 확인하실 수 있습니다.

오늘의 YTM은 4.38%로 확인되네요.

image (5).png


개별 구성 종목의 YTM도 확인하실 수 있으니 참고하시면 좋겠습니다.


만일 이 상품을 매수하는 시점의 가격이 10,000원인데 만기 시 10,500원으로 오른다면 그 시세 차익 5%에 더해 4.38%의 이자수익을 올리게 됩니다.

일반 종목이었다면 수익률이 5% 지만 이 상품은 9.38%의 수익률을 올릴 수 있어 매력적인 것이죠.

다만, 운용보수와 15.4%의 세금을 제외하면 수익률은 조금 줄어들게 됩니다.


둘째, 중도 해지 시 불이익이 없고, 투자 금액 제한이 없습니다.

중도 해지 시 불이익이 없고 투자 금액 제한이 없다는 점은 기관이나 고액 투자자들에게 매력적이겠네요.


셋째, 절세 효과가 있습니다.

이 상품은 퇴직연금 DC/IRP 계좌뿐 아니라 연금저축계좌에서도 100% 투자할 수 있어 연금에서 투자하면 세액공제 혜택과 과세이연 후 저율 과세 등의 절세 효과를 누릴 수 있습니다.

연말정산을 준비하고 있는 직장인들에게 유용한 상품이라 할 수 있겠네요.




기사 써먹기



★ 존속기한형 채권 ETF 투자 시 주의사항


위에서 살펴본 장점들을 생각하면 지금 당장 매수해야만 할 것 같습니다.

하지만 이 상품에 장점만 있는 건 아니겠죠.


일단 존속기한형 채권 ETF는 1년을 기다려야 수익을 기대할 수 있을 것입니다.

채권에 투자하는 종목의 특성상 단기간 급등을 통해 수익을 창출할 확률이 극히 낮기 때문입니다.


현재 시점부터 만기인 내년 12월까지의 전체 시장 수익률 이상의 수익을 기대하기는 어려운 종목이기 때문에 중도 해지할 경우의 수익은 극히 적거나 오히려 마이너스일 확률도 있습니다.

다운로드 (1).jpeg



그렇기 때문에 단타 성향의 투자자나 높은 수익률을 추구하며 공격적인 투자를 즐기시는 분들에게는 맞지 않는 종목입니다.


대신 아주 높지는 않더라도 안정적인 수익을 원하는 보수적 성향의 투자자가 여유 자금으로 접근한다면 1년 후에 꽤 괜찮은 결실을 맺을 수 있을 것입니다.


채권은 주식에 비해 일반적으로 유동성이 적고 거래 단위가 크기 때문에 고액의 자산가들이나 기관이 올웨더 전략이나 바벨 전략을 위해 포트폴리오에 담아두는 자산의 성격이 컸습니다.

다운로드 (2).jpeg 상이한 특성의 자산을 골고루 담는 올웨더 포트폴리오


다운로드 (3).jpeg 고위험 고수익 & 저위험 저수익 바벨 전략 (중간은 없어요)


일반적인 소액 투자자들은 접근하기가 어려웠기 때문에 채권에 투자하려면 ETF 상품에 투자해왔지만 기대 수익률은 일반 주식에 비해 낮았던 것이 사실입니다.


하지만 기대 수익률 수준의 이자수익이 보장되는 존속기한형 채권 ETF는, 낮은 수익률이라고 하는 채권 ETF의 단점을 보완하는 성격의 상품으로 고금리 시대에 자산으로서의 매력도가 올라가는 채권에 투자할 수 있는 좋은 방법일 수 있습니다.


본인의 투자 성향에 따라 투자를 고려해 볼 만한 상품이 아닐까 생각합니다.




오늘은 만기 있는 채권형 ETF 상품에 돈이 몰리고 있다는 기사를 공부해 봤습니다.


고금리 시대에 불확실한 주식시장에서 정기예금이나 적금으로 도망가지 않고, 시장에 남아 있으면서도 리스크를 헤지 할 수 있는 수단 중 하나라는 생각이 듭니다.


좀 더 공부해 보면서 투자 대상으로 적합할지 알아보는 것도 좋을 것 같네요.


오늘도 함께해 주셔서 감사합니다!


#경제#경제기사#경제기사읽기#경제공부#채권#ETF#채권ETF#존속기한형채권ETF#정기예금

#기대수익률#YTM#국채#은행채#올웨더#올웨더포트폴리오#바벨전략









keyword
매거진의 이전글법인세 인하는 정말 부자감세일까?