블록체인 기술, 특허 받으려면 '이렇게' 해야

전자신문 기고문

by 이상한 김변리사

원글은 아래 링크에 있습니다. 지면 제한으로 넣지 못한 이미지, 청구항 및 도면 등을 추가 반영하였습니다.

http://www.etnews.com/20190724000165





2019년6월18일 페이스북이 암호화폐 프로젝트 ‘리브라(Libra)’의 백서를 공식 발표했다. 백서에 따르면, 리브라는 가격 변동이 작은 스테이블 코인 형태로 발행되며, 개인 간 국제 송금 서비스에 초점이 맞추어져 있다. 리브라 프로젝트는 페이스북뿐만 아니라, 페이팔, 이베이, 비자, 마스터카드, 우버, 스포티파이 등 다양한 파트너사들로 구성된 리브라 연합(Libra Association)에 의해서 관리되고 운영된다.


<리브라 소개 애니메이션 캡쳐 이미지 (출처:http://libra.org/)>



2019년2월20일 삼성전자는 갤럭시 S10을 공개하면서 암호화폐 지갑 App ‘삼성 블록체인 키스토어(Samsung Blockchain KeyStore)’를 탑재했음을 발표했다. 갤럭시 S10은 ‘삼성 블록체인 월렛(Samsung Blockchain Wallet)’ App도 다운로드하여 설치할 수 있으며, 이는 엔진지갑, 코인덕, 코스미, 크립토키티의 네가지 DApp 서비스와 연동한다. 지난 6월27일 삼성전자는 삼성 디벨로퍼스(Samsung Developers)를 통해서 삼성 블록체인 소프트웨어 개발 키트(SDK)를 공개하며 삼성 블록체인 생태계 구축을 시작했다.


<삼성 블록체인 월렛 계층 구조도 (출처:http://developer.samsung.com/blockchain)>



이 같은 분위기에 힘입어, 하이먼-민스키(Hyman-Minsky) 모델을 따라 공포(fear), 투매(capitulation), 좌절(despair)을 향해 치닫던 비트코인도 어느새 $10,000선을 상회하여 본래의 가격을 회복해 나가고 있다. 앞서 언급한 ‘리브라’에 대한 기대감이 비트코인의 가격 회복을 이끈 호재라는 분석이 있다. 당분간 포모(FOMO, Fear of missing out) 효과로 인하여 비트코인의 가격 상승 움직임은 계속될 것으로 보여진다.


<비트코인 가격 그래프 (출처:코인데스크)>



암호화폐 열풍이 불어닥친 2017~2018년에는 수많은 프로젝트의 백서 발표, 글로벌 ICO, 신규토큰의 발행과 거래소 상장 등이 앞다퉈 이루어졌다. 그에 비해 지금은 대중의 관심과 거품이 정리되면서, 사기성 프로젝트는 사라지고 실체가 있는 프로젝트만이 차분하게 개발을 계속해오고 있다. 이 같은 움직임은 국내에서도 동일하게 나타났다. 2019년6월27일 카카오의 블록체인 계열사 그라운드X는 블록체인 플랫폼 ‘클레이튼(Klaytn)’의 메인넷 개발을 완료하고 마침내 그 모습을 공개했다. 리브라와 유사하게, 클레이튼도 카카오 외에 LG전자, 셀트리온, 넷마블, 네오플라이 등을 비롯하여 해외기업까지 포함하는 파트너사들과 함께 공동으로 운영된다.



<클레이튼 거버넌스 카운슬 파트너 (출처:클레이튼)>



많은 스타트업 및 중소 벤처기업들도 앞다퉈 블록체인 기술을 도입하거나 활용하고자 한다. 그러나, 스타트업 및 중소 벤처기업의 입장에서 블록체인 기술은 여전히 미지의 영역이고, 기술적 장벽은 높다. 고질적인 인력난으로 블록체인 전문 인력을 확보하는 것도 쉬운 일이 아니다. 이에, 본고에서는 대표적인 블록체인 특허 사례를 조사해봄으로써, 블록체인을 비즈니스에 어떻게 활용할 수 있는지, 그 경우 특허는 어떻게 확보할 수 있는지를 살펴보고 그 결과를 함께 공유하기로 한다.



블록체인 특허 사례를 조사하는 과정에서, 블록체인 기술의 성숙도나 수용성의 문제로 인하여, 많은 특허들이 블록체인 기술을 불완전하거나 부정확하게 묘사하는 상황을 흔하게 목격할 수 있었으며, 카테고리를 적정하지 않게 설계하여 특허를 청구한 경우도 다수 발견되었다. 그럼에도 불구하고, 특허에 내재된 기술 내용을 파악하고 이해하는데 큰 어려움은 없으므로, 별도의 교정이나 수정은 가하지 않았음을 양해바란다. 한편, 이러한 문제는 특허청 심사의 정확성 측면에서도 동일하게 나타났을 것이나, 사례로 조사된 결과의 유효 여부까지는 고려하지 않았음을 미리 밝힌다. 사례 조사는 국내 특허를 중심으로 이루어졌으며, 출원인 기업의 명의는 별도로 공개하지 않기로 한다.



첫 번째 사례는 ‘블록체인을 통한 콘텐츠 저작권 모니터링 시스템 및 방법’에 관한 등록특허 제10-1981630호이다. 본 등록특허는 블록체인 기술의 본래적 속성인 투명성과 신뢰성을 저작권 관리에 활용한 경우이다. 본 등록특허는 ⅰ) 최초 저작권 등록시 콘텐츠와 그 저작권관련정보를 Transaction으로 하여 블록체인에 저장하고, ⅱ) 이후 콘텐츠 유통시 콘텐츠 DNA의 비교 결과에 따라 그 유통정보를 Transaction으로 하여 블록체인에 저장하는 것을 기술적 특징으로 한다. 본 등록특허의 등록 청구항은 다음과 같다.



사용자 단말기를 통하여 올려지는 콘텐츠와 상기 콘텐츠에 대한 저작권관련정보를 거래내역으로 하여 블록체인네트워크에 전송하여 블록체인으로 저장하는 저작권등록단계;

상기 콘텐츠에 대하여 콘텐츠 DNA를 생성하는 등록 콘텐츠 DNA 생성단계;

콘텐츠유통서버와 이와 연결된 사용자단말기를 통하여 유통되는 콘텐츠에 대한 콘텐츠 DNA를 받아 이를 상기 등록콘텐츠 DNA와 비교하여 상기 유통되는 콘텐츠가 어떠한 것인지를 확인하고, 또한, 상기 확인된 콘텐츠의 유통정보를 생성하는 유통콘텐츠확인 및 생성단계;

상기 유통콘텐츠 확인 및 생성단계에 따라 생성된 유통정보를 거래내역으로 하여 상기 블록체인네트워크에 전송하여 블록체인으로 저장하는 유통정보저장단계를 포함하여 이루어지는 것을 특징으로 하는 블록체인을 통한 콘텐츠 저작권 모니터링 방법.



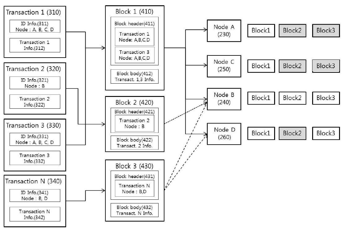
두 번째 사례는 ‘블록체인에서 특정 노드들간 블록을 공유 및 검증하는 방법’에 관한 등록특허 제10-1986081호이다. 본 등록특허는 프라이빗(private) 블록체인에서 운용의 효율을 증대시키면서도 모든 노드들 간의 신뢰성을 확보할 수 있는 방법을 다룬다. 구체적으로, 본 등록특허는 특정 노드들의 식별 정보를 포함한 Transaction을 생성하고, 블록 헤더와 블록 바디가 모두 포함되는 메인 블록과 블록 헤더만을 포함하는 서브 블록을 생성하여, 위 식별 정보에 따라 특정 노드들과 나머지 노드들에게 메인 블록 또는 서브 블록을 차별적으로 공유하는 것을 기술적 특징으로 한다. 본 등록특허의 등록 청구항과 관련 도면은 다음과 같다.



블록체인에 포함된 복수의 노드들 중에서 특정 노드들간 블록을 공유 및 검증하는 방법에 있어서,

상기 복수의 노드들 중에서 적어도 하나의 제1 노드가 상기 특정 노드들의 식별 정보 및 트랜잭션 정보를 포함하는 적어도 하나의 트랜잭션을 생성하는 단계;

상기 복수의 노드들 중에서 적어도 하나의 제2 노드가 상기 식별 정보 및 상기 트랜잭션 정보에 기반하여, 블록 헤더와 블록 바디가 모두 포함되는 적어도 하나의 메인 블록을 생성하는 단계;

상기 복수의 노드들 중에서 적어도 하나의 제2 노드가 상기 식별 정보 및 상기 트랜잭션 정보에 기반하여, 블록 헤더만 포함되는 적어도 하나의 서브 블록을 생성하는 단계; 및

상기 적어도 하나의 제2 노드가 상기 생성된 적어도 하나의 메인 블록 또는 서브 블록을 상기 식별 정보에 기반하여 상기 특정 노드들과 상기 특정 노드들을 제외한 나머지 노드들에게 차별적으로 공유하는 단계를 포함하는 것을 특징으로 하는 블록체인에서 특정 노드들간 블록을 공유 및 검증하는 방법.



5.jpg <등록특허 제10-1986081호의 특정 노드간 블록 공유 방법 도시 도면>



세 번째 사례는 ‘복수의 블록체인에 기반을 둔 생명정보 데이터 제공, 저장 및 전송 방법’에 관한 등록특허 제10-1880175이다. 본 등록특허는 유전체 데이터의 공유를 통해 빅데이터를 구축함에 있어서, 블록체인 기술을 활용하여 프라이버시 침해 및 보안 위험을 예방하고자 시도하였다. 본 등록특허는 사용자정보 블록체인, 전자계약서 블록체인, 메타데이터 블록체인, 데이터 전송 블록체인, 데이터 저장 블록체인을 포함하여 무려 다섯 개의 블록체인을 분리하여 운영한다. 두 번째 사례에서는 하나의 블록체인 내에서 블록의 유형을 구분하였다면, 본 사례에서는 블록체인 자체를 복수 개로 운영하는 것이다. 이로써, 본 등록특허는 대용량의 유전체 데이터에 대한 블록체인 네트워크 전반의 부하를 감소시킬 수 있다고 설명한다. 본 등록특허의 등록 청구항과 관련 도면은 다음과 같다.



사용자 블록체인 노드가 복수의 사용자별로 사용자 정보, 공유키 및 해쉬키를 포함하는 사용자 블록데이터를 저장하는 단계;

전자계약서 블록체인 노드가 상기 복수의 사용자 중 제1 사용자가 제2 사용자에게 생명정보 데이터 생성을 의뢰하는 계약 정보를 포함하는 계약 블록데이터를 저장하는 단계;

데이터 전송 블록체인 노드가 상기 생명정보 데이터를 저장한 적어도 하나의 저장 서버에 대한 저장 정보를 포함하는 전송 블록데이터를 저장하는 단계; 및

상기 데이터 전송 블록체인 노드로부터 상기 전송 블록데이터가 상기 제1 사용자에게 전달되는 단계를 포함하는 복수의 블록체인에 기반을 둔 생명정보 데이터 제공 방법.



6.png <등록특허 제10-1880175호의 생명정보 데이터 전송 시스템 도시 도면>


네 번째 사례는 ‘블록체인을 기반으로 동물 관련 서비스 방법 및 장치’에 관한 등록특허 제10-1984758호이다. 본 등록특허는 반려동물 커뮤니티 플랫폼에 블록체인 기술을 적용한 사례이다. 이 플랫폼은 반려동물의 신원 인증을 하고, 고유의 월렛을 만들어 주며, 반려동물 콘텐츠에 대한 토큰 리워드를 지급한다. 이를 위해, 반려동물의 코 모양(비문) 정보를 수집하고, 반려인의 지문 정보와 함께 등록하여 키(key)를 생성한다. 본 등록특허의 관련 도면은 다음과 같다.



7.jpg <등록특허 제10-1984758호의 블록체인 기반 동물 서비스 시스템 도시 도면>



다섯 번째 사례는 ‘프라이빗 블록체인 네트워크 시스템 및 경량화된 고성능 블록체인 기반의 합의 방법’에 관한 등록특허 제10-1975822호이다. 본 등록특허는 블록체인 네트워크의 운영과 관련하여 새로운 합의 방식을 제안하고 있는 사례이다. 본 등록특허에서는, 블록 생성 노드가 신규 블록을 생성하고 브로드캐스팅하면, 참여 노드는 일단 신규 블록을 블록체인에 연결하며, 이후에 블록 검증 노드들에 의해서 신규 블록의 검증 관련 합의가 이루어진다. 그리고, 합의 실패일 경우에 한하여, 트러스트 노드가 다른 노드들의 신규 블록을 롤백(rollback)시키고 직접 신규 블록을 생성하여 브로드캐스팅 한다. 많은 기업들이 자체적으로 노드를 운영하면서 블록체인 네트워크를 구축할 것인지 아니면 서비스형 블록체인(BaaS, Blockchain as a Service)을 활용하여 블록체인 시스템을 구축할 것인지 고민하고 있다. 자체 블록체인 네트워크를 운영하는 경우 고려해볼 수 있는 특허 가능 기술 요소이다. 본 등록특허의 등록 청구항과 관련 도면은 다음과 같다.



네트워크에서 발생한 트랜잭션을 수신하여 블록 생성 노드에 전달하고 각 블록 검증 노드로부터 보팅 메시지를 수신하여 합의 성공 여부를 판단하는 트러스트 노드;

상기 트러스트 노드로부터 트랜잭션을 수신하여 최신 블록을 생성하고 상기 최신 블록을 자신을 제외한 네크워크 상의 다른 노드들에게 브로드캐스팅 하는 블록 생성 노드;

상기 블록 생성 노드로부터 수신된 최신 블록의 유효성을 검증하여 검증 결과를 상기 트러스트 노드에 각각 보팅하는 적어도 하나 이상의 블록 검증 노드; 및

상기 블록 생성 노드로부터 수신된 최신 블록을 자신의 블록체인에 연결하여 추가하는 적어도 하나 이상의 참여 노드;를 포함하고,

상기 트러스트 노드를 제외한 다른 노드들은, 상기 트러스트 노드로부터 상기 최신 블록에 대한 보팅 결과를 수신하기 전에 상기 최신 블록을 자신의 기존 블록체인에 먼저 선 연결하여 추가하고,

상기 트러스트 노드는, 각 블록 검증 노드로부터 정족수 이상의 보팅 메시지를 수신하면 합의 성공으로 판단하여 다른 절차 진행 없이 그대로 합의를 종료하며, 각 블록 검증 노드로부터 정족수 미만의 보팅 메시지를 수신하면 합의 실패로 판단하여 자신을 제외한 다른 노드들의 기존 블록 체인에 연결된 최신 블록을 동기화하여 롤백시키고, 자신이 직접 최신블록을 다시 생성하여 네트워크 상의 자신을 제외한 다른 노드들에 전송하여 기존 블록체인에 추가하는 것을 특징으로 하는 블록체인 네트워크 시스템.

8.jpg <등록특허 제10-1975822호의 합의 알고리즘 도시 도면>



여섯 번째 사례는 ‘블록체인 기반의 사용자 식별 관리 및 토큰 발행 관리를 위한 분산 원장 장치 및 방법’에 관한 등록특허 제10-1878870호이다. 본 등록특허는 ICO 과정에서 개인의 식별을 위하여 이용되는 아이디, 신분증 또는 인증코드 등의 소요 비용 및 시간과 그 복잡성을 지적하면서, 사용자의 디지털 지갑 주소를 통해 사용자의 식별을 관리하고, 이를 통해 블록체인 내 토큰 흐름을 제어하는 것을 목적으로 한다. 본 등록특허는 지면의 제한으로 청구항을 직접 옮기지 못하였으나, 그 청구항은 Smart Contract의 프로그램 코드의 각 단계를 담담하게 하나씩 써내려가고 있다. 다른 블록체인 프로젝트들도 고유의 Smart Contract 로직을 갖추고 있다면 본 등록특허와 동일한 접근이 가능하다. 본 등록특허의 관련 도면은 다음과 같다.



9.jpg <등록특허 제10-1878870호의 스마트 계약 실행 상황 도시 도면>


마지막 사례는 ‘보안이 강화된 암호화폐 송금 시스템 및 방법’에 관한 등록특허 제10-1923943호이다. 본 등록특허는 투자자간 암호화폐 거래를 중개하는 거래소는 중앙화되어 있음을 지적하면서, 별도의 물리 장치 없이도 콜드월렛(Cold Wallet)을 제공하는 것을 목적으로 한다. 물리적으로 분리된 내부망에 암호화폐 지갑을 구축하는 것에 더하여 서비스API가 다수 개의 Transaction을 처리함에 있어서 수신된 순서대로 처리하지 않고 랜덤하게 처리하는 것이 해킹 등으로부터 보다 안전하다라는 이점을 내세워 등록에 이르렀다. 본 등록특허의 등록 청구항은 다음과 같다.



개개의 사용자가 소지하여 암호화폐 거래소에 접속하여 암호화폐 거래 서비스를 요청하기 위한 사용자단말;

상기 사용자단말에서 인터넷으로 접근이 가능하며 암호화폐 거래소서버를 포함하고, 상기 사용자단말의 암호화폐 송금요청시 암호화 및 사용자 인증을 수행하는 외부망;

상기 외부망과 차단되어 독립적으로 구성되며, 오직 상기 외부망에서 암호화폐 트랜젝션을 받아 서명을 하기 위하여만 연결되며, 상기 사용자단말의 암호화폐를 저장하는 가상머신 상에서 구현되는 전자지갑을 포함하는 내부망; 및

상기 외부망과 연결되며 모든 사용자의 지갑정보를 저장하고 있는 블록체인 기술로 구현된 블록체인 메인넷을 포함하되,

상기 내부망은, 상기 외부망을 통하여 상기 내부망에 전달된 암호화폐거래 트랜젝션을 상기 사용자단말의 할당된 전자지갑으로 구분하여 전달하는 서비스API를 포함하고,

상기 서비스API는, 다수개의 트랜젝션이 수신되는 경우, 소정의 시간 동안은 수신된 트랜젝션의 순서를 고려하지 않고 랜덤(random)하게 처리하여 상기 외부망으로 전달하는 것을 특징으로 하는 보안이 강화된 암호화폐 송금 시스템.



이상의 사례를 종합해보면, 블록체인 특허는 1) Transaction의 구성 및 내용 중 고유의 비즈니스에 기반한 기술적 특징, 2) 헤더에 추가되는 데이터나 블록의 유형 등 블록의 생성 및 구조와 관계된 기술적 특징, 3) 노드의 구성이나 합의 방식 등 블록체인 네트워크의 운영과 관계된 기술적 특징, 4) Smart Contract의 로직 및 내용 중 고유의 비즈니스에 기반한 기술적 특징, 5) data 교환을 위한 API에 부가된 기능 또는 작용에 관한 기술적 특징 등에 기초하여 등록되었음을 확인할 수 있다. 이상의 것들은 블록체인 시스템 아키텍쳐를 구성하는 기술요소 중 일부이다. 나머지 구성요소들은 상대적으로 차별화가 어려운 반면, 이 같은 구성요소들은 블록체인 특허를 확보하는데 주요한 역할을 하고 있음을 확인할 수 있다.



한편, 사례 조사 결과, 중앙화된 데이터베이스 서버를 탈중앙화된 블록체인 네트워크로 단순히 대체했다는 것만으로는 특허를 받기에 부족함도 알 수 있었다. 이는 특허청과 특허법원이 결합발명의 진보성을 판단함에 있어서 “특유의 과제 해결원리에 기초하여 개별 구성요소 사이의 유기적인 결합”이 있는 경우 전체적으로 진보성을 긍정하는 경향과도 일치한다. 단순 결합(aggregation)은 기술적으로 의미가 없으므로 진보성이 부정되기 마련이다. 과거 비즈니스 메쏘드(BM, Business Method) 특허와 관련해서도, 공개된 영업 방법 등 비즈니스 아이디어가 통상의 컴퓨터 기술을 이용하여 인터넷상에서 구현된 것에 불과한 경우 진보성을 부정했었다. 블록체인 특허와 관련해서도, 종래의 시스템에 블록체인 기술의 단순 결합을 시도하는 경우가 많기 때문에 주의가 필요하다.



덧붙이면, 블록체인 프로젝트와 관련하여 백서 초안이 준비된 경우 그 즉시 특허출원을 하는 것을 추천한다. 유사한 사업 모델과 아이디어를 가진 경쟁자들이 국제적으로 그리고 실시간으로 발표하고 있는 백서가 우리의 블록체인 특허 확보를 위협하거나 방해하는 선행기술 또는 주지관용의 기술로 사용될 수 있기 때문이다.



홈페이지: www.WeFocus.kr

keyword
작가의 이전글'린 스타트업'을 실패하고 싶다면 보지 마세요!