brunch

전기차 외형이 기존 차와 비슷한 이유

자동차의 공기저항과 항력계수 (feat. 골프공에 딤플이 있는 이유)

by 엔너드 EngNerd

by 엔너드 EngNerd

#자동차 #공력성능 #공기저항 #항력 #항력계수 #경계층 #유동박리 #유동박리지연 #와류발생기 #골프공 #딤플 #스포일러 #엘리베이트 #공학 #과학 #기술 #과학기술






요즘 자동차하면 가장 핫한 것은 전기차죠. 테슬라, 폭스바겐, 도요타 등 전세계의 자동차 회사들이 전기차 생산에 전력을 다하고 있고, 현대차 또한 올해 아이오닉5를 출시하며 전기차 시장을 선점하기 위해 노력하고 있습니다. 이처럼 치열한 경쟁 속에서 전기차는 사람들에게 강렬한 인상을 주기 위해 디자인에서부터 기존의 가솔린 차와 많이 다릅니다. 아이오닉5를 보면 라디에이터 그릴이 없어지고 사이드 미러 대신 카메라가 설치되는 등 독특하고 미래지향적인 디자인이죠. '나는 전기차다!'라는걸 대놓고 드러냅니다. 그런데 말이죠. 마치 자동차 업체들이 서로 약속이라도 한 듯이 전기차의 전체적인 외형은 전과 비교하여 크게 달라지지 않았습니다. 왜 자동차는 지겹도록 비슷한 형상을 유지하고 있을까요?

테슬라 모델X 2019.png 전기차의 선두주자인 테슬라의 모델X 2019도 외관은 가솔린 자동차와 별반 다르지 않다. [출처: 네이버]


그 이유는 사람이 타는 실내 공간 마련과 이를 보호하기 위한 차체 구조 설계가 몇십 년 동안 최적화되기도 했고요. 가장 큰 영향을 미친 것은 주행 시 공기저항을 최소화하고 주행 안정성을 높이기 위한 공기역학적 디자인을 고려했기 때문입니다. 그럼 자동차 외형이 공기역학적으로 어떻게 중요한지 이제부터 알아보도록 할게요.






공기저항과 항력계수


아우디 Q5.png 아우디 Q5 주위의 공기 흐름 [출처: 아우디]

자동차가 주행할 때 자동차 표면을 따라 공기흐름이 발생합니다. 이 공기흐름은 공기가 자동차 표면에 가하는 압력에 변화를 주는데요. 만일 압력의 총합이 주행 방향에 수직으로 위를 향할 경우 이를 흔히 양력(lift)이라 하고, 주행 방향과 반대일 경우 항력(drag) 또는 공기저항(aerodynamic drag)이라 하죠.

자동차 압력분포.png 수치해석을 통해 계산된 자동차 표면의 압력 분포. 빨간색에 가까울수록 압력이 높고 파란색에 가까울수록 압력이 낮다 [출처: ADESS AG]
자동차가 받는 힘.png 자동차가 받는 힘: 양력(lift), 다운포스(downforce), 항력(drag) [출처: Blue Motion]


자동차가 받는 공기저항은 주행속도에 영향을 미칩니다. 아래 그래프에서 타이어 회전저항(tire rolling resistance)을 빼더라도 공기저항이 주행 속도가 빨라짐에 따라 급격히 증가하는 것을 알 수 있죠.

주행속도-자동차 항력.png 주행 속도(x축)에 따른 자동차 항력(y축); x: 타이어 회전저항, 세모: 공기역학적 저항+타이어 회전저항 [Katz (2016)]


즉, 엔지니어들은 공기저항이 속도의 제곱에 비례한다는 것을 알아냈고, 이를 토대로 크기와 모양이 다른 차량들을 간단하게 비교 분석하기 위해 항력계수(drag coefficient)라는 무차원수를 계산하였습니다.

drag_coefficient.png D는 공기저항, rho는 공기의 밀도, U는 주행속도, A는 정면 영역(frontal area)을 뜻합니다.
frontal area.png 차량의 정면 영역(frontal area) 정의 [Sebben et al. (2014)]


많은 자동차 업체들은 차량의 항력계수를 낮추기 위해 꾸준히 노력해왔어요. 항력계수가 낮다는 것은 항력감소를 뜻하고, 그만큼 속도를 내기 위해 필요한 힘이 덜 든다는 뜻이므로 결과적으로 연료 절감(fuel saving)이 돼요. 바꿔 말하면 연비를 높일 수 있는거죠. 1920년대 각진 자동차는 항력계수가 약 0.8에 달했지만, 시간이 지나 설계 기술이 발전하면서 항력계수는 지속적으로 감소했습니다. 2019년 기준 가장 낮은 항력계수를 가진 벤츠 A 클래스 세단은 항력계수가 0.22이며, 상대적으로 덩치가 큰 SUV인 현대 싼타페는 0.337의 항력계수값을 가집니다.


참고로 그래프의 왼쪽 하단처럼 날개 형상(에어포일; airfoil)의 물체가 주행할 경우 항력계수는 약 0.15인데요. 이는 현실적으로 승용차가 가질 수 있는 가장 낮은 항력계수값이라고 볼 수 있습니다. 물론 차를 저렇게 만들면 멋이 안나니까 미적인 디자인과 공력성능 사이에서 잘 타협해야겠죠.

승용차의 항력계수 변화.png 승용차의 항력계수 변화 [Katz (2016)]
벤츠 A클래스 2019.png
현대 싼타페.png
벤츠 A클래스 2019 (왼쪽, 항력계수: 0.22) 및 현대 싼타페 2019 (오른쪽, 항력계수: 0.337) [출처: 네이버]


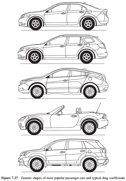
또한, 하단의 표를 보면 전반적으로 세단(sedan), 해치백(hatchback)에 비해 오픈카(convertible), SUV의 항력계수가 높은 것을 알 수 있습니다. 게다가 창문을 열면(open window) 항력이 10% 이상 증가하는 것도 알 수 있네요.

승용차 종류에 따른 항력계수.png
승용차 종류에 따른 일반적인 외형.png
승용차 종류에 따른 항력계수 (왼쪽) 및 일반적인 외형 (오른쪽) [Katz (2016)]


그렇다면 공기저항에 영향을 미치는 요인은 무엇일까요? 다음 그림을 보면 자동차의 외관(exterior)이 전체 공기저항의 약 50%를 차지합니다. 그리고 바퀴(wheel)하단부(underbody)엔진룸(engine bay)이 각각 25%씩 차지하죠. 따라서 연료 절감을 위해서는 공기저항을 최소화할 수 있는 외관을 디자인하는 것이 가장 중요합니다.

공기저항 발생 요인.png 승용차의 공기저항 발생 요인 [Sebben et al. (2014)]






공기저항 발생 원리


실린더 자동차 압력.png 특정 형상의 물체(실린더) 앞뒤의 압력(위) 및 자동차 앞뒤의 압력(아래) 비교

공기 중에서 앞으로 나아갈 때 어떤 형상의 물체든 앞과 뒤의 압력차로 인해 공기저항(특히, 압력저항; pressure drag)을 받습니다. 자동차도 마찬가지로 공기저항을 받는데요. 공기저항 또는 항력(drag)은 크게 압력저항(pressure drag 또는 form drag)마찰저항(skin friction drag)으로 나뉩니다. 자동차의 경우 압력저항이 마찰저항에 비해 큰 영향을 미치기 때문에 본문에서 공기저항이라 할 때는 압력저항만을 고려했습니다. 마찰저항이 크게 영향을 미치는 경우는 주행방향으로 길이가 긴 기차 등이 있어요.


07 자동차 Figure-2.jpg 자동차 주위의 공기 흐름과 역압력구배에 의한 유동 박리 현상

그럼 자동차의 외관으로부터 어떻게 공기저항이 형성되는지 위 그림에서 자동차 상부를 중심으로 간단히 살펴볼게요. 자동차가 주행 시 자동차 주위의 공기는 자동차 앞 보닛에서부터 시작하여 표면을 따라 흐르기 시작합니다. 이때 표면 근처에서는 점성에 의해 속도가 낮은 영역이 매우 얇게 존재하는데 이를 경계층(boundary layer)이라 합니다. 이 영역에서는 공기가 나아갈수록 압력이 높아지는 역압력구배(adverse pressure gradient)를 받기 때문에 공기흐름이 어느 순간 표면에 붙어서 갈 수 있는 운동량(momentum)을 잃고 떨어져 나갑니다. 이 현상을 유동 박리(flow separation)라 부릅니다. 유동 박리가 일어난 후, 뒤의 자동차 표면에서는 와류(vortex)가 발생하여 공기가 자동차를 앞으로 밀어주는 압력이 감소합니다. 결과적으로 자동차가 뒤로 받는 저항이 커지게 돼요. 즉, 자동차가 받는 공기저항이 커집니다.

자동차 주위 공기 흐름.png
곡면에서의 유동 박리.png
자동차 주위의 공기 흐름 (왼쪽) 및 곡면에서의 유동 박리 (오른쪽) [Sebben et al. (2014)]


정리하자면 자동차의 앞뒤 압력차가 발생하여 공기저항을 일으키는 가장 큰 원인은 유동 박리 현상 때문입니다. 따라서 공기가 자동차 상부 표면을 따라 계속 붙어갈 수 있도록 도와준다면 공기저항을 낮출 수 있겠죠.






와류발생기와 스포일러


안타깝게도 유동 박리 현상은 공기의 점성이 있는 한 완전히 없애진 못하지만, 박리를 지연(separation delay)시킬 순 있어요. 바로 와류발생기(vortex generator)를 설치하는 것인데요. 와류발생기는 공기흐름에 회전을 주어(즉, 와류를 발생시켜) 공기가 표면을 따라 더 나아갈 수 있게 운동량을 전달해줍니다. 이에 따라 유동 박리에 의한 압력 감소가 줄어들어 결과적으로 공기저항이 감소하죠.

와류발생기.png 와류발생기는 박리 지연을 통해 공기저항을 감소시킨다.


와류발생기의 원리는 자동차 뿐만 아니라 공기 또는 물을 가르는 모든 물건에 적용됩니다. 비행기 날개 윗면에도 와류발생기가 설치되어 있어 날개가 위로 받는 양력(lift)이 급격히 감소하는 실속(stall) 현상을 완화해줘요. 골프공은 표면에 여러 구멍, 즉 딤플(dimple)이 있는데 이 또한 와류발생기와 동일한 역할을 합니다. 즉, 박리 지연을 통해 골프공의 항력을 감소시켜 줌으로써 골프공이 안정적으로 멀리 날아갈 수 있도록 도와주죠.

비행기 와류발생기.png
골프공 딤플.png
비행기 날개에 있는 와류발생기 (왼쪽) 및 와류발생기와 동일한 기능을 하는 골프공의 딤플 (오른쪽) [출처: boldmethod, livescience]


승용차 중 세단 또는 SUV 및 해치백 등의 트렁크를 유심히 본 사람들이라면 날개처럼 생긴게 달려 있는 걸 봤을 겁니다. 이는 스포일러(spoiler)라 하며, 세단에서 립 스포일러(lip spoiler), SUV 및 해치백에서는 루프 스포일러(roof spoiler) 또는 윈도우 스포일러(window spoiler)라고 해요. 이들은 설치조건에 따라 차량 뒷부분의 압력 감소를 줄여 공기저항을 감소시켜줍니다. 또한, 바닥을 향해 작용하는 다운포스(downforce)를 증가시켜 차량 앞부분보다 상대적으로 가벼운 뒷부분을 노면 방향으로 눌러줌으로써 주행 안정성을 높여주는 역할을 하기도 합니다.

립스포일러.png 립 스포일러에 의해 뒷부분의 압력이 덜 낮아짐으로써 공기저항이 감소한다. [출처: Occam's Racer]
루프스포일러.png 자동차 후면부를 본뜬 모델에 생기는 압력계수 분포. 루프 스포일러가 없을 때(왼쪽)보다 있을 때(오른쪽) 압력이 상대적으로 더 높다. [Cheng et al. (2017)]






미래의 자동차 디자인


이처럼 자동차 주위에 발생하는 공기흐름을 제어하는 것은 자동차 성능에 있어서 중요한 요소 중 하나입니다. 아마 로봇처럼 걸어 다니거나 혹은 하늘을 나는 자동차가 아닌 이상 공기역학적 성능이 충분히 최적화된 지금의 자동차 외관은 오랫동안 유지되겠죠?


brand-hyundai-elevate-vehicle-pc.png
brand-hyundai-elevate-vehicle-for-elderly-pc.png
현대차에서 소개한 콘셉트 자동차인 엘리베이트(Elevate) [출처: 현대차]

그나저나 2019년 국제 전자제품 박람회(Consumer Electronics Show; CES)에서 현대차는 걸어다니는 자동차 '엘리베이트(Elevate)' 콘셉트 자동차를 공개했습니다. 이후 현대차는 2021년 6월, 보행 로봇을 주로 개발하는 로봇 전문 업체 '보스턴 다이내믹스(Boston Dynamics)'를 인수했죠. 현대차는 로봇 기술을 차에 접목시켜 모빌리티의 새로운 패러다임을 제시하려는 것 같습니다. 정말로 현대차가 꿈꾸는대로 걸어다니는 자동차가 상용화될 수 있을까요? 그렇다면 자동차 디자인은 어떻게, 얼마나 바뀔까요? 이때도 공기역학적 설계가 중요할까요? 미래의 자동차 디자인, 정말 기대됩니다! - EngNerd




이 글은 저작권법에 의하여 보호받는 저작물로 무단 복제 및 배포를 금합니다. 이 글을 인용하여 수익을 얻거나 이에 상응하는 혜택을 누리고자 하는 경우에는 저자와 사전에 별도의 협의를 하거나 허락을 얻어야 하며, 출처를 명확히 밝혀야 합니다.




참고자료

- Katz, J. (2016). Automotive aerodynamics. John Wiley & Sons.

- Sebben, S., Walker, T., & Landström, C. (2014). Fundamentals, Basic Principles in Road Vehicle - Aerodynamics and Design. Encyclopedia of Automotive Engineering, 1-16.

- Choi, J., Jeon, W. P., & Choi, H. (2006). Mechanism of drag reduction by dimples on a sphere. Physics of Fluids, 18(4), 041702.

- Cheng, S. Y., & Mansor, S. (2017). Influence of rear-roof spoiler on the aerodynamic performance of hatchback vehicle. In MATEC Web of Conferences (Vol. 90, p. 01027). EDP Sciences.


그림 출처

- 현대 아이오닉5: https://auto.naver.com/car/image.nhn?yearsId=144233&selectIndex=1

- 아우디 Q5 공기흐름: https://www.audi-technology-portal.de/en/body/aerodynamics-aeroacoustics/aerodynamics

- ADESS AG: https://www.adess-ag.com/services/computational-fluid-dynamics.html

- 자동차가 받는 힘: https://gr8autotech.wordpress.com/2013/06/16/vehicular-aerodynamics/

- 비행기 와류발생기: https://www.boldmethod.com/learn-to-fly/aerodynamics/vortex-generators/

- 골프공 딤플: https://www.livescience.com/32446-why-do-golf-balls-have-dimples.html

- 립 스포일러: https://occamsracers.com/tag/aerodynamics/

- 현대 엘리베이트: https://www.hyundai.com/worldwide/ko/brand/technology-with-a-human-heart

keyword