결합발명 진보성, 쪼개면 다 공지라는 함정

대법원 2024후10641 파기환송 판결 실무 해설

by 여인재 변리사

자동차 안전벨트 위축기 특허의 진보성을 다툰 이 사건에서, 대법원은 구성요소를 하나씩 떼어내 각각의 공지 여부만 따지는 방식으로는 결합 발명의 진보성을 판단할 수 없다는 법리를 재확인하며 원심을 파기환송하였다. 특허심판원은 진보성을 인정하였고, 특허법원은 이를 뒤집어 진보성을 부정하였으나, 대법원은 다시 진보성을 인정하였다. 동일한 특허를 놓고 심급마다 결론이 엇갈린 이 사건은 결합 발명의 진보성을 판단할 때 실무자가 빠지기 쉬운 함정을 선명하게 보여준다.


사건 배경 — 안전벨트 위축기 특허와 세 심급의 엇갈린 판단

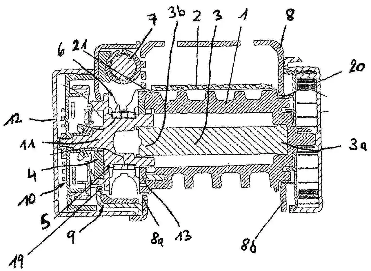
이 사건 특허발명(특허 제1642068호)은 "힘 제한 장치 및 조임 장치를 구비한 벨트 위축기"라는 명칭으로, 자동차 안전벨트 시스템에 관한 발명이다. 우선일은 2008. 11. 27., 등록일은 2016. 7. 18.이며, 특허권자는 스웨덴의 글로벌 자동차 안전장치 기업이다.

이 발명의 기술적 특이성은 2-부분 벨트 샤프트, 인장기 구동 휠의 배치, 프레임에 고정되는 별도의 하우징, 하우징 내부에서 맞물리는 잠금 구조를 유기적으로 결합하여 위축기의 소형화와 안전성 향상을 동시에 달성한 것에 있다. 구성요소 하나하나는 공지 기술에서 찾을 수 있어 보이나, 이들을 이 방식으로 결합한 것에 진보성이 있는지가 쟁점이었다.


pdf_page27_img1_514x712.jpeg
pdf_page25_img2_1179x1485.jpeg
pdf_page25_img1_1563x1143.jpeg


특허법원의 판단 — 무엇이 문제였는가

특허법원은 원고가 새로 제출한 선행발명 5, 9, 10을 인용하였다. 선행발명 5는 화약식 인장 장치(파이로테크닉 텐셔너)와 전기식 인장 장치(가역적 벨트 텐셔너)를 하나의 위축기에 함께 사용하는 발명으로, 두 인장 장치를 양쪽에 독립적으로 배치하는 것을 기술적 특이성으로 한다.

특허법원은 "선행발명 5에서 파이로테크닉 텐셔너를 제거하면 차이점 1을 극복할 수 있고, 나머지 차이점은 선행발명 9, 10을 결합하면 극복 가능하다"고 보았다. 이것이 대법원에서 정면으로 부정된 핵심 논리이다.


대법원의 판단 — 차이점별 상세 분석

대법원은 이 사건 제1항 발명과 선행발명 5 사이의 5개 차이점을 개별적으로 검토한 뒤, 그 중 차이점 1, 3, 4, 5에 대해 선행발명 결합으로 극복이 불가능하다고 판시하였다.


차이점 1 — 선행발명의 기술적 과제를 무시한 사후적 고찰

대법원이 가장 먼저 지적한 것은 "파이로테크닉 텐셔너를 제거하면 된다"는 특허법원의 논리였다. 선행발명 5의 기술적 특이성은 두 가지 인장 장치를 하나의 위축기에 독립적으로 배치하여 상호 간섭을 막는 것에 있었다. 그중 하나를 제거하면 선행발명 5가 해결하고자 하는 기술적 과제 자체가 무너지게 된다.

대법원은 이렇게 판시하였다.

"선행발명 5는 이 사건 제1항 발명이 해결하고자 하는 기술적 과제인 '구조의 단순화, 소형화'에 관해서는 아무런 인식조차 없었음을 고려할 때 더욱 그러하다."

이것이 사후적 고찰 금지 원칙의 전형적인 적용이다. 이 사건 특허발명을 이미 알고 있는 상태에서 역추적하면 "파이로테크닉 텐셔너를 빼면 된다"는 발상이 자연스러워 보인다. 그러나 이 사건 특허발명을 모르는 상태에서 선행발명 5만 놓고 보면, 두 가지 인장 장치의 공존이 발명의 핵심이므로 그중 하나를 제거할 동기가 없다.

대법원은 선행발명 10의 명세서 기재도 검토하였다. 거기에는 "제1 프리텐셔너 기구를 생략할 수 있다"는 내용이 있었으나, 동시에 "생략 시 좌우 밸런스 불균형이 발생하므로 긴급 잠금 동작기구를 적용하는 것이 좋다"는 기재도 있었다. 대법원은 이를 오히려 결합에 대한 부정적 교시(teach away)로 평가하였다.


차이점 3 — 외관이 아닌 기능으로 대응 관계를 판단해야

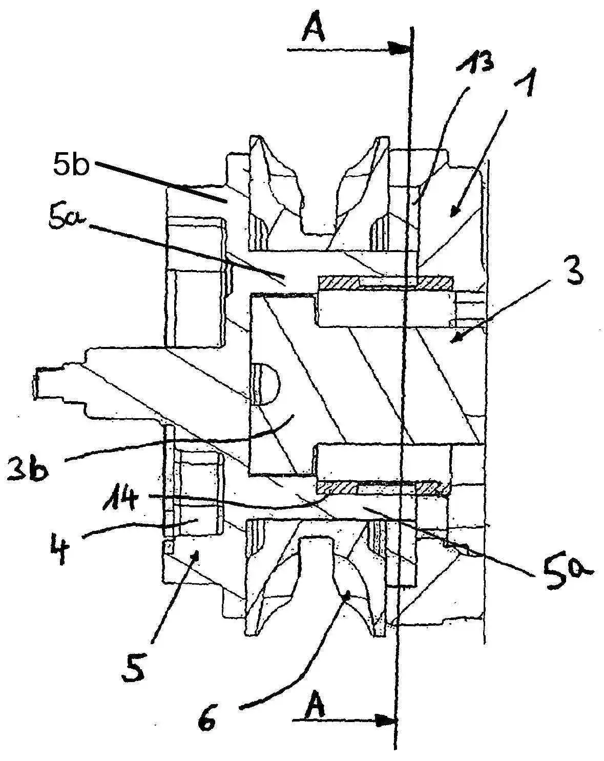
특허법원은 선행발명 9의 링부(24), 폴(20), 래칫 톱니(22)가 이 사건 발명의 하우징(9), 잠금장치(4), 톱니(19)에 각각 대응된다고 보았다. 대법원은 이 대응 관계 자체가 잘못되었다고 판단하였다.

선행발명 9에서 잠금 기능을 수행하는 구성은 폴(20)이 아니라 별도의 "잠금기구 및 래칫 톱니수단(10a)"이었다. 폴(20)은 부하 제한 기능을 수행하는 구성이다. 외관상 명칭이나 형상이 유사하더라도, 수행하는 기능이 다른 구성요소는 서로 대응되는 것으로 볼 수 없고, 결합 동기도 인정되지 않는다.


차이점 4 — 대응 구성의 부재와 전체 구성으로서의 특유 효과

이 사건 제1항 발명의 "외측부(5b)"에 대응되는 구성요소가 선행발명 5에는 아예 존재하지 않는다. 대법원은 외측부(5b)가 발휘하는 특유한 효과를 구체적으로 적시하였다.

외측부(5b)가 있으면 인장기 구동 휠이 제1 부분과 제2 부분 사이에 안착되어 고속 회전 시 안정적인 구조를 유지할 수 있고, 외측부의 직경이 하우징 내부 직경보다 커서 내부 부품이 하우징 밖으로 이탈되지 않도록 하는 걸림부 역할도 수행한다. 선행발명 5에는 이 구성 자체가 없으므로, 이러한 효과를 기대할 수 없고 그 차이를 결합으로 극복하기도 어렵다.


차이점 5 — 같은 이름이라도 기능이 다르면 다른 구성요소

이 사건 특허발명의 하우징(9)은 프레임에 고정되어 인장 장치, 잠금장치, 제2 부분을 모두 감싸서 보호하며 소음과 가스를 차단한다. 선행발명 5의 기어(32) 하우징은 전기모터와 기어 등을 보호하는 모듈화된 기어박스일 뿐, 잠금 톱니나 인장 장치 등을 감싸는 구성이 아니다. 같은 "하우징"이라는 명칭을 사용하더라도, 발명에서 수행하는 기능이 근본적으로 다르면 대응 구성요소로 볼 수 없고, 결합 동기도 인정되지 않는다.


실무 시사점 — 결합 발명 분쟁에서 기억해야 할 네 가지

(1) 구성요소 대비표는 출발점일 뿐이다

결합 발명의 진보성 판단에서 구성요소별 대비표를 작성하는 것은 필요한 작업이다. 그러나 그것이 분석의 끝이어서는 안 된다. 대법원이 요구하는 것은 "특유의 과제 해결원리에 기초하여 유기적으로 결합된 전체로서의 구성의 곤란성"과 결합 동기의 존부까지 나아가는 것이다. 차이점마다 "이것은 선행발명 A에 있다"는 식의 분석만으로는 진보성 부정의 논리가 완성되지 않는다.

(2) 선행발명의 기술적 과제를 적극 활용하라

특허권자 측에서는 "선행발명의 기술적 과제가 본원 발명의 기술적 과제와 다르다"는 점을 적극 주장할 필요가 있다. 선행발명이 해결하고자 하는 과제에 반하는 방향의 결합은 동기가 부정될 수 있다. 반대로, 무효를 주장하는 측에서는 결합하고자 하는 선행발명들의 기술적 과제가 서로 양립 가능한지, 결합 시 어느 한쪽의 기술적 과제가 훼손되지 않는지를 사전에 면밀히 검토해야 한다.

(3) 선행발명 명세서의 부정적 교시를 발굴하라

선행발명의 명세서에 "구성요소 A를 생략하면 문제 B가 발생한다"는 취지의 기재가 있다면, 이는 해당 구성요소의 생략이나 제거를 내용으로 하는 결합에 대한 부정적 교시가 된다. 특허권자 측에서는 선행발명의 명세서를 면밀히 검토하여 이러한 기재를 발굴하고 적극 원용할 필요가 있다.

(4) 기능적 대응 관계를 정확히 파악하라

외관상 명칭이나 형상이 유사해 보이더라도, 수행하는 기능이 다른 구성요소는 서로 대응되는 것으로 볼 수 없다. 구성요소 대비 시 단순한 구조적 유사성이 아니라 기능적 대응 관계를 정확히 파악하는 것이 결합 동기의 인부를 좌우할 수 있다.

이 사건은 특허심판원과 대법원은 진보성을 인정하고, 특허법원만 진보성을 부정한 드문 사례다. 구성요소를 분해하여 개별 공지 여부에 집중하는 접근이 어떤 오류를 낳는지를 생생하게 보여주는 판결로, 결합 발명을 둘러싼 무효심판·심결취소소송 양쪽 모두에게 유의미한 선례가 될 것이라 사료된다.


이 판결의 전문 해설은 아래 링크에서 확인하실 수 있습니다.

특허 진보성 판단, 구성요소를 쪼개서 보면 다 공지라는 함정 — 대법원 파기환송 사례 분석

여인재 변리사 | 특허사무소 소담

작가의 이전글유명 브랜드 이름, 상표등록해도 될까?