brunch
매거진 물류와 SCM

아마존의 비즈니스 모델을 이해하는 세가지 관점

커머스, 물류, 데이터

by 최효석

(추가의견:2019.05) 이 글을 쓴게 2016년인데요 매일 다르게 새로운 기술이 나오는 아마존이기에 몇 년이 지난 지금은 이때와 비교할 수 없을 정도로 많이 변했습니다. 지금 기준으로는 맞지 않는 내용도 있으니 참고해주시기 바랍니다



제프 베조스가 세운 아마존닷컴은 거의 매월 테크 매거진 헤드라인을 채울만한 신사업을 발표하고 있습니다. 그 빈도도 놀랍지만 그 아이디어들도 하나 같이 혁신적일 따름입니다. 이렇게 혁신적이면서도 놀라운 성과를 가지고 있는 회사인 아마존의 사업모델이 점점 복잡해짐에 따라 비즈니스 모델을 공부하시는 분이나 창업가들은 복잡함을 느끼기도 할 것입니다. 전자상거래는 물론이거니와 최근엔 화물선을 구입하기도 했고 파이어폰같은 스마트폰을 만들기도 하였으며 재사용이 가능한 로켓을 발사하기도 했으니까요. 하지만 이런 수많은 활동들을 잘 지켜보면 그들의 사업들을 커다란 카테고리로 묶을 수 있음을 어렵지 않게 알 수 있습니다.


아마존의 비즈니스 모델을 소개하는 글은 많지만 저는 쉽게 세가지 관점에서 그들의 서비스를 정리해보려 합니다. 그들의 비즈니스는 크게 커머스, 물류, 데이터로 나눌 수 있습니다. 아마존의 수많은 서비스들은 크게 철학적으로는 커머스, 사업적으로는 물류, 재무적으로는 데이터로 나뉘어 집니다.



커머스


아마존의 본질은 커머스(Commerce)입니다. 책 제목이기도 한 "The Everything Store"는 그들의 철학이 어떤 방향으로 나가는지를 말해줍니다. 그들은 온라인 서점에서 사업을 시작했습니다. 사업은 빠르게 성장했고 이내 생활용품을 팔기 시작했습니다. 지금은 세계최대의 오프라인 스토어인 월마트의 시가총액을 넘었습니다. 그들은 전형적인 플랫폼 전략을 통해서 자사를 통해 소비자와 생산자를 연결하려고 하고 있으며 그런 관점에서 소비자가 원하는 것은 무엇이든 아마존을 통해 구입할 수 있도록 가장 강력한 전자상거래 플랫폼을 만들었습니다.


그 과정을 보자면, 아마존은 먼저 온라인 서점을 만들어 소비자가 인터넷으로 책을 구매할 수 있는 모델을 90년대에 이미 만들었습니다. 이후 DVD와 음반, 디지털컨텐츠(오디오북, MP3), 비디오게임 등으로 영역을 확대하다가 가전, 가구, 패션에 이르는 리테일의 모든 것을 완성했습니다.

이 과정에서 영국의 온라인 서점인 Bookpage, 독인의 Telebook등 뿐만 아니라 식료품(Homegrocer), 장난감(Back to basics Toys), 럭셔리(Ashford) 등의 회사를 이미 90년대에 인수하면서 적극적인 투자로 사세를 넓혀가고 있습니다. 이러한 과감한 투자 전략은 지금까지도 이루어져서 신발(Zappos), 인공지능(Alexa), 음악(CDNow), 부품(Smallparts) 등 수십개가 넘는 회사에 투자하여 큰 성과를 이뤄냈습니다.


하지만 조금 더 들여다보면 본질인 커머스를 이루기 위한 그들의 핵심은 컨텐츠라는 것을 알 수 있습니다. 아마존의 본질이 '상품'이 아닌 '컨텐츠'라고 말하는 이유는 실제로 그들은 리테일 제품의 판매에서는 거의 0%에 수렴하는 적은 마진만을 유지하고 있기 때문입니다. 또한 실생활에서 자주 사용하는 물건을 통해 소비자를 아마존 플랫폼으로 끌어오려는 전략이 일반 소비재의 목적이라면, 실제로는 디지털 컨텐츠에 더 많은 관심을 쏟고 있다는 증거를 여러 군데에서 확인할 수 있습니다.


킨들

전자책 시장을 만들었다고 해도 과언이 아닌 킨들

현재 세계에서 가장 많이 팔린 e-book reader device이자 대명사로 불리는 킨들은 그 자체의 하드웨어를 판매하여 수익을 남기려 한다기 보다는, 책에서 시작한 제프 베조스의 사업을 e-book이라는 새로운 시장으로 개척하기 위한 도구로 사용하기 위해 만들어졌다는 표현이 더 맞다고 생각합니다. 실제로 종이책과 전자책의 가격차이가 크지 않고 전국도 당일이면 배송되는 국내와는 다르게 해외에서의 전자책 시장은 상당한 규모로 커지고 있습니다. 애플이 비롯 회계적으로는 디바이스에서 수익이 가장 많이 남지만 스스로 플랫폼 생태계를 만들고 유지하고 있는 것에 가장 많은 노력을 쏟고 있는 것과 같은 전략으로 볼 수 있습니다.


파이어(Fire)

킨들 파이어 역시 같은 전략입니다. 초기에 파이어폰(Fire Phone)이라는 스마트폰이 처음 공개되었을때 사람들은 아이폰의 절반에 불과한 가격에 충격을 먹었습니다.(당시엔 샤오미 등 저가폰이 대중화되지 않았을때였습니다) 이 역시 당연히 파이어폰을 팔아 이윤을 남기겠다는 것이 아니라 Contents device로서 아마존의 전자책, 오디오북, 동영상, 쇼핑에 최적화된 단말기를 팔았다고 보는 것이 옳습니다.(애플의 i-Tunes 전략과도 유사합니다). 물론 불행히도 상상을 초월할 정도로 스마트폰이 과열화되어 현재 파이어폰은 단종되었으나 태블릿은 계속 나오고 있는데, 이 역시 스마트폰 시장에서는 어렵지만 동영상(아마존프라임)과 전자책 리더로서의 역할은 필요하다고 판단하기 때문으로 보입니다.


top-7-features-of-new-kindle-fire-hdx-tablets.jpg 아마존 프라임 무비는 넷플릭스의 가장 강력한 경쟁자로 떠올랐습니다. 킨들파이어는 이를 위한 컨텐츠 디바이스구요.



아마존 북스토어(Amazon Bookstore)

최근 아마존이 오프라인 서점을 열어서 화제가 되었습니다. 1호점을 내었고 앞으로 줄줄이 추가 매장을 낸다고 합니다. 역설적으로 아마존으로 인해 수많은 중소형 서점들이 문을 닫았는데 그렇게 궤멸된 오프라인 서점시장에 아마존이 진출한다. 이것이 의미하는 바는 무엇일까요?


결론적으로 말하자면 온라인 스토어가 아마존으로 쏠림 현상이 일어났듯이 오프라인 서점도 아마존이 기존 서점을 압도할 것으로 예상됩니다. 왜냐하면 경기의 방식자체가 다르기 때문입니다. 기존 서점에서는 주인이나 MD들이 잘 팔릴만한 책들을 진열해서 놓습니다. 그러나 아마존 북스토어는 온라인몰의 빅데이터를 분석하여 '팔릴 책'을 진열합니다. 같은 행위를 두고 인간과 인공지능이 경쟁을 하는 것이니 같은 방식으로는 싸울 수가 없는 것입니다.(물론 다른 인공지능과의 경쟁 이슈와 마찬가지로 로봇이 인간보다 못하는 다른 서비스를 통해 틈새시장에서 생존할 수 있는 전략은 있습니다)


Header_FINAL._V289787686_.0.0.jpg 여느 서점과 다를바 없지만 기존 서점을 모두 무너뜨릴지도 모릅니다


그렇다면 애써 도서구매의 패러다임을 온라인으로 바꾼 아마존이 왜 다시 오프라인 서점을 여는 것일까요? 제가 생각하는 바는 아마존은 오프라인 북스토어의 런칭 경험을 토대로 마트와 같은 슈퍼마켓 비즈니스도 열 것으로 보입니다. 물론 서점과 마찬가지로 소비자의 수요를 정확하게 예측하고 뒤에 나올 그들의 상상을 초월한 물류 시스템을 통해 월마트나 다른 오프라인 기업의 시장까지도 가져올 것으로 보입니다. 그렇게 되면 궁극적으로는 아마존이 우리의 생활에서 만나는 모든 종류의 온라인 컨텐츠 뿐만 아니라 리테일 상품들 까지도 가장 저렴한 가격과 가장 다양한 상품으로 소비자들과 만나게 될 것입니다. 뿐만 아니라 전자 상거래를 통해 온라인 유저들의 행동을 측정했던 것 처럼, 오프라인 매장을 통해 실제 쇼핑 행위를 하는 소비자들의 행동을 관찰하는 첨병 역할도 담당할 것입니다.


즉 요약하자면 온라인 서점에서 시작한 아마존은 각종 소비재를 포함하여 디지털 컨텐츠까지 포함한, 우리가 일상에서 만날 수 있는 모든 종류의 컨텐츠를 다루는 플랫폼이 되고자 하는 전략을 가지고 있습니다. 그리고 그 고객접점을 늘리기 위한 수단으로 북스토어를 시작했고, 곧 다른 여러 종류의 오프라인 스토어를 만들어 온라인과 오프라인 어디서든 아마존을 통해 모든 상품을 만날 수 있게 하려는 계획을 가지고 있습니다.




물류


아마존의 본질은 커머스라고 언급했지만 이는 사실 철학적 본질로 보는 것이 맞고, 사업적 본질은 물류기업으로 보는 것이 옳습니다.


지난 2016년 1월 발행된 2015년도 증권거래위원회(SEC)의 연차보고서에서 그들은 명확하게 "우리는 운송서비스 업체이다(we are the transportation service provider)"라고 언급합니다. 그렇다면 물류기업으로서의 아마존은 어떻게 진화하고 있을까요.


amazon.jpg 아마존의 증권거래위원회 연차보고서 내용중. "우리는 운송 서비스 업체이다"


아마존은 가장 다양한 제품 중에서 고객이 최고의 제품을 선택하면 그것을 가장 빠른 시간에 배송하여 고객 만족을 최대화 시키려는 전략을 가지고 있습니다. 이것을 수행하기 위해 '다양한 제품'을 갖추기 위해 앞에서 말씀드린 컨텐츠 확보를 하고 있고 '가장 빠른 시간'을 이루기 위해 물류 혁신을 하고 있습니다. 그렇다면 가장 빠른 배송을 하기 위한 그들의 전략중 잘 알려진 것들을 몇개 보겠습니다.



물류센터

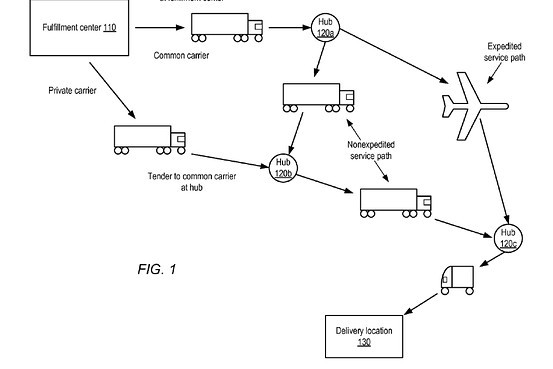
그들은 북미지역에만 100개가 넘는 물류센터를 최적의 입지에 보유하여 Hub&Spoke형 배송의 완벽한 전형을 보여주고 있습니다. 특히 Fulfillment Center(제품 보관 및 배송 센터), Sortation Center(택배업체들을 위한 사전 분류 센터), Redistribution Fulfillment Center(개별 F/C의 재고보충을 위한 상위 물류 센터) 뿐만 아니라 프라임 나우 서비스를 위한 Prime Now hub라는 별도의 창고를 운영하고 있기도 합니다. 이렇게 목적과 네트워크에 맞추어 다양한 창고를 세우고 운영하는데 있어서 놀라운 기술을 보여주고 있습니다.


배송시간절감을 위한 다양한 소비자 옵션

Amazon Prime(연 $99, 무료 2일 배송), Amazon Prime Fresh(연 $299. $50이상 무료배송), Amazon Lockers(락커배송), Amazon Flex(Uber형태의 1~2시간 배송), Smazon Saturday/Sunday delivery(주말배송), Amazon Prime Pantry(박스당 $5.99에 생필품 배송), Amazon Global(3PR에 대한 국제운송), Amazon Same Day Delivery(Prime회원의 경우 $35 이상 주문시 당일 배송), Amazon Prime Now(2시간 무료배송, 1시간 배송의 경우 주문당 $7.99).

이렇게 다양한 옵션을 통해 아마존은 고객들에게 최선의 선택을 할 수 있도록 제공합니다. 단순히 옵션의 선택지를 늘린 것이 아니라 각각의 기술을 위해 아마존은 배송시간을 절감하기 위한 상당한 수준의 R&D를 진행하였고 이는 비단 아마존뿐만 아니라 현대 물류기술 발전에도 큰 기여를 했습니다. 대표적인 것이 바로 드론입니다.


아마존 프라임 에어(Amazon Prime Air)

아마존이 드론 시연 영상을 처음 보였을때 사람들은 단순한 컨셉영상이라고 생각했습니다. 심지어 (지금까지도) 드론 배송은 아직은 불가능하며 이건 마케팅을 위한 언론 플레이다라고 하는 사람들도 상당히 많이 있습니다. 하지만 지금은 DHL, 알리바바 등 대부분의 리딩 물류업체들은 너나할것 없이 드론을 연구하고 있고 국내에도 최근 CJ대한통운이 드론을 이용한 공개 배송테스트를 하고 각종 국책과제들이 쏟아져 나오고 있어서 아마존의 시도가 선구자적인 역할을 했음을 부인하기 어렵습니다.


영상 자체는 놀라우나, 랜딩을 위한 Yard가 없고 아파트 중심의 국내 거주 환경에는 다소 시간이 필요할 것으로 보입니다.


'배송시간의 단축'에 대한 아마존의 집착은 놀라울 정도입니다. 이들은 배송드론을 선보이면서 5파운드(2.25kg) 이하의 상품의 경우 주문후 30분 이내에 배송하겠다는 공약을 하기도 했습니다. 일반 기업에서 고정비를 줄이기 위해 '1원이라도 싸게' 하는 법을 생각하는 것처럼, 아마존은 '1초라도 빠르게' 배송하려는 다양한 시도를 하고 있습니다. 또 어떤 노력들을 하고 있는지 보시지요.



결제예측배송(Anticipatory Shipping)


톰 크루즈가 출연한 영화 <마이너리티 리포트(2002)>를 보면 범죄가 발생하기전, 범죄를 일으킬만한 범죄자를 미리 예측하여 사전에 체포한다는 2054년의 워싱턴을 배경으로 하고 있습니다. 당시에는 정말 생소한 아이디어였지만 빅데이터의 발달로 불과 15년만에 체포까지는 아니더라도 예방단계에서는 유사한 수준의 기술이 활용되고 있습니다.


마찬가지로 아마존은 지난 2014년, 고객이 결제를 하기 이전에 결제여부를 예측한 뒤 자동으로 창고에 피킹(picking)과 포장(packing) 지시를 내린 뒤 고객이 위치한 지역의 창고로 보내는 기술을 특허로 등록했습니다. 어떻게 이것이 가능할까요? 아마도 고객이 결재 버튼을 클릭하기전 하는 행동들을 수집했다가 통계적으로 분석하여 그와 유사한 행동을 할때 구매로 간주하여 지시를 내리는 방식으로 생각됩니다. 루머에 의하면 마우스 포인터의 위치까지 트래킹한다는 소문도 있습니다.


재미있는 점은 아마존의 인공지능이 95%의 확률로 결재할 것이다라는 판단으로 배송을 시작했지만 5%의 확률로 결재를 하지 않을 확률도 있을 것입니다. 그럴때 아마존은 어떻게 할까요? 놀랍게도 그냥 그 고객에게 상품을 선물로 보낸다고 합니다. 회수물류비용이 발생하는 이유도 있지만 이를 그냥 마케팅용으로 활용하는 것이 더 효과가 클 것이라는 계산때문이겠지요. 정말 무서운 aws가 아닐 수 없습니다.



BN-BD558_patent_G_20140117133548.jpg 결재예측배송 특허 개념도




키바 로봇(KIVA Robot)


주문단계에서는 인공지능이 배송시간 절감에 기여한다면 창고에서는 키바로봇이 작업 시간을 비약적으로 줄여주고 있습니다. 2012년 아마존이 무인 자동화 로봇 생산업체인 키바 시스템즈(KIVA Systems)를 무려 8,500억원을 주고 인수한다고 하였을때 모두 놀랐습니다. 시장가를 훨씬 상회하는 가격이었기 때문이지요. 이렇게 공격적인 투자를 한 이유는 무엇일까요? 어쨌거나 인간이 기계의 생산성을 따라잡지 못한다는 점은 제조업에서 여실히 증명되었습니다. 따라서 물류현장에서도 로봇이 등장하는 것은 자연스러운 흐름입니다.


아마존은 2009년 토니 셰이가 큰 성공을 이룬 신발 쇼핑몰인 Zappos를 인수합니다. 자포스는 특유의 서비스와 경영철학, 혁신 등으로 유명한 회사였는데 이미 자포스는 그 당시에 물류창고에서 키바로봇을 사용하고 있었다고 합니다. 아마 아마존도 자포스를 인수하면서 키바를 눈여겨보았을 것으로 여겨집니다.

실제로 KIVA를 인수한 뒤 필드 테스트를 한 결과는 놀라웠습니다. 하루 평균 20만개의 아이템을 다루는 일반 물류센터의 경우 인력이 이를 처리하기 위해서는 75명씩 2개조인 총 150명이 작업해야 하지만 KIVA를 통하면 단 25대로 작업이 가능했기 때문입니다.



하지만 이러한 생산성의 증가 외에도 더 큰 이유가 있습니다. 아마 지금의 제조 공장처럼 가까운 미래에는 물류 창고도 대부분의 노동을 로봇이 대체하게 될 것이라 제프 베조스는 생각했을 것입니다(실제로 2016년 현재 로봇은 상당한 수준의 물류처리업무를 하고 있습니다). <미친SCM이 성공한다>라는 명저를 쓰신 인하대학교 아태물류학부 민정웅 교수님의 의견에 따르면, 베조스의 KIVA인수는 경쟁 물류기업들이 로봇물류에 들어오는데 진입장벽을 쌓기 위한 것이라는 분석을 하셨는데 저 역시 동의합니다. 물론 지금은 KIVA외에도 수많은 물류로봇이 나오고 있지만 적어도 베조스의 키바 인수로 아마존은 다른 업체들에 비해 몇년은 빠른 시장진입을 한 것은 사실이었으니까요.


막대한 돈을 투자하여 구설수가 많았던 베조스의 이 투자 결과는 어떨까요? 2012년 1월 주당 $180 정도였던 아마존의 주가는 5년이 채 되지 않은 현재 $700을 상회하여 유통공룡인 월마트의 시가총액을 넘은 것은 물론 그를 세계 4위의 부호로 만들었습니다.

이러한 놀라운 일들이 창고에서의 작업시간을 단축하겠다는 단순한 명제에서 시작했다는 것이 놀라울 따름입니다.



아마존 대시(Amazon Dash)


지난 2015년 3월 31일 아마존 대시가 공개되었을때 사람들은 이것이 만우절(4월1일) 농담이었을거라고 생각하기도 했습니다. 과연 진짜일까 싶을 정도로 놀라운 아이디어였기 때문이죠. 당시 아마존은 대시(Dash), 대시 버튼(Dash Button), 대시 보충 서비스(Dash Replenishment Service)를 같이 발표하였습니다.


대시는 바 형태의 가정용 하드웨어로서 마이크와 바코드스캐너가 달린 무선기기입니다. 이 기기를 통해 소비자는 직접 집에서 구매가 필요한 생필품을 바코드 스캐닝을 통해 기입력된 아마존 계정의 배송주소와 결제정보를 통해 주문할 수 있게 하였습니다. 즉 오프라인 스토어에서 점원이 하는 일을 소비자쪽으로 가져옴으로 인해서 아마존은 매장과 캐셔를 줄일 수 있는 금전적/시간적 효과를 얻게 되었지요. 바코드 뿐만 아니라 내장된 마이크를 통해 주문하면 마찬가지로 자동으로 배송되는 기술을 탑재하였는데, 작은 온라인 서점에 불과했던 아마존이 데이터베이스 기업인 알렉사 인터넷(Alexa Internet)을 인수한 것이 지난 1999년이라는 것을 볼 때 이런 기술이 하루 아침에 일어난 것이 아님을 알 수 있습니다. (현재 아마존의 음성비서 인공지능의 이름이 Alexa)


사진2.jpg



대시버튼(Dash Button)은 한 발 더 나아가서 스캐닝이나 음성주문을 하는 경험 자체를 없애고 버튼만 누르면 기기에 할당된 제품이 자동으로 결제 및 배송되게 하는 간편장치입니다. 이를 통해 결제예측배송으로 주문시간을, 키바로봇을 통해 창고작업시간을 줄이고자 했던 아마존이 구매의 과정에서도 얼마나 UX를 단순화시키려는지 의도를 알 수 있습니다. 대시보충서비스는 일종의 정기배송과 같은 개념인데 가까운 미래에는 이를 통해 '구매'라는 행위 자체가 없어지게 할지 모르겠습니다. 예를 들면, 냉장고에 생수병이 5개 들어가는 Slot이 있고 하루에 한 병씩 마신다고 하면, 슬롯에 재고가 1개 남은 것을 감지하면 자동으로 1일 이내에 다시 5개가 주문되어 자동으로 보충시켜주는 시스템입니다. 이렇게 식료품, 기저귀, 화장품 등 정기적으로 소모되는 생필품의 양을 측정할 수 있다면, 궁극적으로 아마존이 원하는 세상은 별도의 구매행위가 없어도 자동으로 주문-배송-결재가 쉬지 않고 일어나는 세상이 아닐까 생각해봅니다. 그 행위들은 모두 아마존이라는 에코시스템 안에서 이루어지도록 하고요. 중국의 알리바바가 이런 전략으로 '알리페이'에 굉장한 공을 들이고 있는 것으로 보아 전자상거래에서 아마존의 마지막 Big Puzzle은 결제가 아닐까하는 추측도 해봅니다.


아마존 대시 버튼 영상. 공개되었을때 엄청난 센세이션을 일으켰습니다.




FBA(Fulfillment by Amazon)


아마존을 물류기업이라고 부를 수 있는 가장 강력한 증거는, 제품을 팔아서 버는 수익보다 물류를 통해 버는 수익이 훨씬 많기 때문입니다. 그리고 그 중심에는 FBA가 있습니다.


아마존 물류수입의 대부분은 FBA에서 나옵니다.


아마존은 막대한 양의 제품을 배송하기 위해 고도로 정교하고 최적화된 물류 네트워크를 운영하고 있습니다.

위에서 언급한 창고외에도 차량, 트럭, 트레일러 등 다양한 운송수단을 그들의 보관수단과 연계하여 규모의 경제뿐만 아니라 효율성도 극대화 했습니다. 그래서 그들은 이를 자사물류에만 사용하지 않고 다른 제조사나 유통사도 이들의 물류망을 활용할 수 있게 하였습니다. 일종의 3자물류(3PL) 개념인데 이것이 바로 FBA입니다. 위에서 간단히 말씀드린대로 실은 이 FBA의 수입이 엄청나서 물류기업으로서의 아마존 그 자체로 설명할 수 있는 네트워크라고도 말할 수 있겠습니다. 또한 이는 서비스로서뿐만 아니라 물류 플랫폼으로서 수많은 중소 화주사를 아마존의 네트워크에 끌어들이는 효과를 가지고 있기도 합니다. 즉 다시 처음에 이야기한대로 이렇게 그들은 제조사들을 끌어당김으로서 Everything Store로서의 입지를 다지고 있는 것이기도 합니다.


Get-Mark-Scott-Adams-–-FBA-HeadStart-Amazon-Training-nulled-blackhat-.png FBA 개념도 : Store(보관), Pick&Pack(처리), Ship(배송)을 원스톱으로(심지어 가격도 저렴하게) 처리해줍니다.




선박 / 항공 / 로켓


모든 제품과 소비자를 연결하겠다는 그들의 꿈을 이루기 위해서는 당연히 운송수단도 모두 수직적 통합을 해야 그 효과가 극대화 될 것입니다. 그런 관점에서 보아야 그들의 최근 행보도 이해가 됩니다.


아마존은 지난 2015년 11월 미 연방해상위원회(Federal Maritime Commission)에 해상운송사업 등록 및 면허를 취득하였습니다. 이는 그들이 해상운송사업(포워딩)에 진출한다는 것인데 실제로 그들이 자체 선박을 운용함으로서 육상뿐만 아니라 물류의 절대다수를 차지하는 해운쪽도 입지를 넓히겠다는 전략입니다.(우리나라의 경우 수출물량의 99.8%이상이 해운운송입니다). 하지만 단순히 해운업을 하겠다는 것 이상으로 놀라운 아이디어가 하나 있는데요, 그것이 뭐냐하면 아마존은 자신들의 컨테이너선을 연해에 띄워놓고 그것을 이동식 창고로 사용하겠다는 기사가 났었습니다. 기존에는 항구 근처에 짐을 모두 쌓아놓고 각 물류센터로 보냈지만 이 아이디어에 따르면 배가 움직이면서 다른 작은 배가 화물을 가져가거나, 아니면 심지어 연안에서 내륙까지 드론으로 소화물을 운송하게 될 지도 모르겠습니다.


한편 당연히 2015년 12월에는 자가 항공운송 시스템을 도입하기로 하였고, 2016년 3월에는 ATSG사의 보잉767기 20대를 리스로 계약하기로 하였습니다. 조건은 ATSG의 지분 19.9%를 5년에 걸쳐 주당 $9.73에 매입하는 것이었는데, 전통적으로 그들이 M&A를 통해 성장한 전략 그대로, 보잉기를 통해 항공운송 네트워크를 완성하려는 전략을 알 수 있습니다.


또한 심지어 최근에는 로켓을 쏘기도 했지요. 그냥 로켓도 아니고 재착륙이 가능한(Reusable) 로켓 착륙 실험에 성공하여 세계를 놀라게 했습니다. 엘론 머스크나 리처드 브랜슨 등과 같이 로켓 사업가로 이름을 올린 그가 단순히 부자들의 취미생활로 이런 일을 했을까요?

아마도 그가 머리속에 그리는 그림은 "우주물류"가 아닐까 합니다. 가까운 미래에 인류가 우주에 나가는 일이 빈번해지면서 지구와 우주 정거장간 물류수요도 있을테고 지구와 다른 행성간 물류도 일어날 겁니다. 그때를 준비하며 제프 베조스는 이걸 준비하고 있지요.


launch.jpg 제프 베조스가 세운 로켓기업 "블루 오리진"은 이미 먼 미래를 준비하고 있습니다.






데이터


아마존이 철학적으로는 컨텐츠기업, 사업적으로는 물류기업이라고 말씀드렸지만, 재무적으로는 데이터 기업입니다. 지금까지 열거한 수많은 비즈니스 모델을 통털어서 가장 많은 매출을 내고 있고 전체 아마존 수익의 절반이상을 차지하고 있는 부분이 바로 AWS(Amazon Web Service)입니다. 구글과 페이스북이 겉으로는 검색엔진과 소셜미디어로 보여도 재무제표 상으로는 매출의 95%을 광고에서 버는 광고회사인 것과 같은 맥락입니다. Front-end에서는 전자상거래 업체로, 내부에서는 물류업체로 포지셔닝 되어 있지만 Back-end에서는 철저한 데이터 기업입니다.


저는 보통 이렇게 설명합니다. 커머스가 몸통이고 물류가 손발이라면 AWS가 바로 두뇌라고요. 이미 1998~1999년에 데이터 마이닝 기업인 Junglee, 영화DB사이트인 IMDb, DB쿼리 소프트웨어 기업인 Leep Technology를 인수한 아마존은 일찍이 사업초기부터 데이터 사이언스의 중요성을 잘 알고 있었습니다.

전자상거래와 물류는 특히 Data Transaction이 많은 분야인데, 당장 위에서 말씀드린 서비스만 보더라도 얼마나 많은 데이터들이 만들어지고 움직이겠습니까. 이것을 모두 서버에 저장해서 아마존이라는 거인의 두뇌를 만들어가고 있습니다.


AWS는 아마존의 클라우드 컴퓨팅 서비스를 말하는 것으로서 단순한 가상서버 뿐만 아니라 컴퓨팅, 스토리지, 데이터베이스, 분석, 애플리케이션, 서비스를 포함하는 광범위한 제국을 가지고 있습니다. 이를 곰곰히 보면 사실 FBA의 플랫폼 모델과 유사합니다. FBA가 자신의 물류 네트워크를 3자에게 공급하여 수익을 내는 것처럼 AWS는 데이터 플랫폼을 공급하여 수익을 내고 있습니다. 지금은 Oracle DB, MS Azure 등과 함께 세계 최고 수준의 클라우드 컴퓨팅 서비스를 제공하고 있습니다.


한편 아마존의 데이터 비즈니스는 이제 컴퓨팅을 넘어 인공지능을 향해가고 있습니다. 그리고 그 중심에는 위에서 언급한 알렉사(Alexa)가 있습니다. 구매경험 단축을 위해 고안된 Dash와 Dash button은 아마존 에코(Echo)로 통합되는 모양새입니다. 아마존 스토어의 고객 접점은 이제 인공지능으로 대체되려고 하는데 그것을 담당하는 IoT 허브가 바로 에코이며 에코의 뇌를 담당하는 음성비서의 이름이 바로 알렉사입니다.


Introducing Amazon Echo


에코는 대시가 조금 더 진화한 외관을 하고 있습니다. 아마존 에코는 7개의 마이크를 가진 음성인식 블루투스 스피커입니다. ‘알렉사(Alexa)’라는 음성인식 알고리즘을 통해 생활비서 업무를 수행하게하고 궁극적으로는 모든 가전기기를 에코와 연결하여 ‘스마트 홈(Smart Home)’의 허브로 만들겠다는 비전을 가지고 탄생했습니다. 음성인식을 위해 전 방향에서 입력이 가능한 7개의 마이크, 입력받은 음성신호를 사물인터넷을 통해 처리하는 컴퓨터, 그리고 그것을 다시 출력하는 스피커가 핵심 구성으로 되어 있습니다. 애플의 시리(SIRI)와 구글의 네스트(Nest)와 경쟁하기 위해 기업의 역량을 집중하여 개발한 알렉사(Alexa) 음성 비서 시스템은 그들과의 경쟁에서 우위에 오르기 위해 ‘알렉사 펀드(Alexa Fund)'라는 단체를 신설하여 음성 인식 기술 혁신을 지원하고자 총 1억 달러 규모의 자금을 사물인터넷과 연계된 스타트업에 투자하는 등 공격적인 행보를 하고 있습니다. 애플의 시리가 스마트폰에 내장되어 모바일 경험에 최적화 된 음성비서라면 아마존 에코는 가전제품이 실제 생활에 얼마나 깊숙하게 들어올 수 있는지 보여주는 제품입니다. 날씨를 묻거나 일정을 확인하는 것은 물론, 전등을 끄거나 보일러를 켜는 등의 제어 지시도 가전제품들과 연동되어 가능합니다. 즉 이를 통해 아마존은 가정에서 일어나는 제품들의 경험을 자사 브랜드를 통해 극대화시키기고 여기서 나오는 데이터를 토대로 더욱 정교한 마케팅 전략을 구축할 수 있을 것입니다.


다들 짐작하실 수 있듯이 이들의 나아갈 방향도 명확합니다. 스마트홈 허브로서의 입지를 넓히면서 점점 스마트 팩토리, 스마트 빌딩으로 확장되다가 스마트 시티까지 되면서 결국은 모든 객체를 인터넷으로 연결하는 만물인터넷(Internet of Everything) 시대의 브레인이 되겠다는 결심이지요. 그래서 시리나 알렉사는 지금은 비록 스마트폰이나 작은 외장형 기기에 들어가 있지만 곧 다양한 모습으로 진화할 것입니다.


가장 가시적으로 예측할 수 있는 것은 바로 자율주행자동차입니다. 모든 IT 기업들이 사활을 걸고 준비하고 있는 분야지요. 애플이 자율주행 전기차 시장에 들어올 것이라는 루머는 파다하게 퍼져있고 그것이 현실화 된다면 그 알고리즘은 아마 시리가 차지하게 될 것입니다.

하지만 자율주행차가 도입되면 가장 빠르게 성장할 시장은 승용차가 아니라 바로 물류트럭입니다. 그 이유는 첫째로 골목을 누비는 승용차에 비해 트럭은 고속도로를 위주로 장거리 운행을 하기 때문에 기술적으로 접근이 쉽고, 둘째로 개인이 아닌 기업 비즈니스를 하기 위해 사용되는 차량이기 때문에 기술의 수익성이 높으며, 셋째로 대부분의 (컨테이너) 트럭들은 일정한 간격과 속도를 유지하며 주행하기 때문에 자가용에 비해 구현이 용이하기 때문입니다. 아마 모든 트레일러가 무인화된다면 고속도로의 마지막 차선은 마치 지하철과 같이, 같은 속도의 트럭들이 일정한 간격을 가지고 줄줄이 서서 이동하는 모습이 될 것입니다. (지난 2013년 일본의 NEDO는 5년 간의 연구 끝에 '무인트럭 대열주행'에 성공했습니다. 80미터 정도의 차간 거리를 4미터로 줄이는 프로젝트인데요 차간거리가 4미터인 이유는 바로 연비 때문이라고 합니다. 16미터의 차량 간격을 4미터로 줄이면 약 15%의 연비를 향상시킬 수 있다고 합니다)


볼보의 무인트럭 영상입니다. 이 부분은 사실 거의 상용화 직전까지 왔다고 봅니다.


어쨌든 이와 같은 모든 사업을 하는데 있어서 이들의 목표는 인간의 개입을 점점 줄이는 방향으로 가는 것 입니다. 그리고 그것을 감당할 수 있는 인공지능 컴퓨터 알고리즘을 개발하고 있지요. 그것이 AWS를 통해 데이터 기업으로 성장하고 있는 아마존의 인공지능 전략입니다.




결론


지금까지 아마존의 비즈니스가 어떤 카테고리와 방향성을 가지고 발전하고 있는지 알아보았습니다.

아마존의 수많은 서비스들은 크게 철학적으로는 컨텐츠, 사업적으로는 물류, 재무적으로는 데이터로 나눌 수 있습니다. 커머스(컨텐츠)로는 소비자 접점을 관리하고, 물류로는 커머스 수익을 극대화시키며, 데이터로는 이 모든 비즈니스를 커버하고 있는 모양새입니다. 이렇게 복잡한 사업군을 마치 하나의 정교한 시계 톱니바퀴처럼 하나의 오차도 없이 돌아가게 만들었다는 점에서 아마존이 왜 위대한 기업인지를 다시 생각해보게 됩니다. 그러나 그보다 더 그들이 대단한 이유는 단순히 경영을 잘해서뿐만이 아니라고 봅니다.


저는 그 이유를 결코 숫자로는 표현할 수 없는 그들의 ‘혁신성’ 때문으로 봅니다. 다른 사람들이 섣불리 시도하지 못하고 있는 분야에 과감히 투자하여 새로운 시장을 만들어내고, 그 시장의 선도자가 되어 다른 후발주자들에게 영향을 미치는 리더십을 보여주고 있기 때문입니다. 애플이 아이폰을 성공시키며 다른 수많은 연관 산업들을 견인한 것처럼 아마존의 물류기술혁신이 후발 물류기업들에게 이정표가 되어준다는 점에서 그들의 리더십은 더욱 가치가 있습니다.


늘 한발 앞서는 전략과 투자로 새로운 기술을 연구하는 그들의 방향은, 한편 앞으로의 미래가 가야할 청사진을 보여주는 것이기도 합니다. 아직도 한국의 물류현장에서는 까대기나 상하차 알바 문제로 고민하는데 이들은 우주물류를 고민하고 전 세계를 인공지능으로 연결할 고민을 하고 있습니다. 이런 리더십이 우리에게 항상 큰 도전을 줍니다.



amazon-boxes.jpg





글 / 최효석 (서울비즈니스스쿨 대표)





keyword
매거진의 이전글물류의 미래 : 아마존에서 답을 찾다