brunch

중국은 방역 완화가 아니라 포기였다.

울고 싶은 놈 뺨 때려줬나?

by 이철

중국 당국이 방역 완화를 취했다. 사람들은 인민의 시위가 큰 힘을 발휘한 것으로 알고 있다. 어떤 이들은 중국 공산당이 백지 혁명이 무서웠을 것이라고 한다. 그리고 중국이 이제 정상적인 생활로 돌아가고 내년부터는 중국발 호경기가 전 세계에 좋은 영향을 주기를 사람들은 바라고 있다.


그런데 "중국의 폭발적인 사례 증가는 엄격한 제로 클리어링 정책 제한 해제 때문이 아닙니다. 제로 정책 완화 이전에 시작되었습니다."라고 WHO의 보건 비상 관리 책임자인 Michael Ryan은 제네바에 있는 WHO 본부에서 언론에 이렇게 말했다.

https://www.rfi.fr/cn/%E4%B8%AD%E5%9B%BD/20221214-%E4%B8%96%E5%8D%AB-%E4%B8%AD%E5%9B%BD%E7%97%85%E4%BE%8B%E7%88%86%E7%82%B8%E6%97%A9%E5%9C%A8%E6%B8%85%E9%9B%B6%E6%94%BF%E7%AD%96%E6%94%BE%E6%9D%BE%E4%B9%8B%E5%89%8D%E5%B0%B1%E5%BC%80%E5%A7%8B%E4%BA%86

이게 무슨 소리인가? 그것은 중국 당국이 방역 완화를 하기 전에 이미 중국 각지의 코로나 확산이 심해져 중국 정부가 더 이상 손을 쓸 수 없었다는 말이다. Michael Ryan이 어떤 데이터를 근거로 이야기하는지는 알 수 없지만 중국의 의료 관계자들과 소통하고 있었을 것으로 생각된다.


중국 정부를 믿을 수 없지만 중국 정부 만이 데이터를 가지고 있는 이 상황에서 역시 언제 어디서나 마찬가지로 민중이 이 문제를 해결하였다. 도시 데이터 단(城市数据团)이라는 시민 그룹에서 코로나 데이터를 분석하여 발표한 것이다. 이들의 데이터 분석은 그야말로 필자 같은 사람을 경탄케 한다. 이번 글은 이들의 데이터 분석을 소개하는 내용이며 이들에게 경의를 표하는 바이다.

https://chinadigitaltimes.net/chinese/690773.html

우선 이들은 중국 정부에서 발표한 코로나 감염자 데이터를 믿을 수 없었다고 말한다. 다음은 중국 정부가 발표한 데이터를 도시 데이터 단에서 정리한 것이다. 바오딩, 스자좡, 베이징 3개 도시의 데이터인데 이들 도시들은 엄청난 감염 폭발로 중국의 SNS 상에 수많은 글들이 올라왔거나 올라오는 곳이다. 그러나 정부 발표를 보면 이미 피크가 지나가고 있다. 바오딩 같은 경우 아예 별 감염의 흔적조차 보이지 않는다. 한 마디로 사람들의 체감과는 달라도 너무나 다른 것이다.

image-1670679784076.png

전국 데이터를 살펴보아도 이상한 것은 마찬가지이다. 4월 하순의 피크 기간이 잘 넘어갔고 11월 하순 다시 피크가 도달했으나 12월 초 숫자는 이미 급격한 하강 곡선을 그리고 있다. 그런데 사람들이 보기에는 너무나 현실과는 다른 데이터였던 것이다. 결국 도시 데이터 단은 정부 데이터를 믿을 수 없다고 판단하고 독자적인 조사에 나섰다.

화면 캡처 2022-12-17 152346.png


중국 전체 데이터를 얻을 방법이 없었던 도시 데이터 단은 '발열' 관련 검색 횟수에 주의했다. 다른 나라의 사례를 보면 발열 관련 검색 수의 동향이 코로나 감염의 선행 지수 같은 모습을 보인다는 것에 착안한 것이다. 다음은 홍콩에서 발열 관련 검색 수 패턴과 실제 코로나 감염자 수의 데이터를 시간에 따라 맞추어 본 것이다. 검색 패턴이 실제 코로나 감염보다 약 1주 정도 앞서며 거의 동일한 패턴을 보인다.

화면 캡처 2022-12-17 152902.png

홍콩뿐만 아니라 다른 국가들의 사례를 보아도 거의 유사한다. 타이완, 싱가포르, 일본의 경우를 보면 세 나라 모두 감염자 변화 패턴은 다르지만 발열 관련 검색 수와 대조해 보면 모두 1주 정도 시간 차이를 보이며 유사한 패턴을 보임을 알 수 있다. 즉, 발열 관련 검색은 코로나 발생 수의 선행 지표의 역할을 한다는 것이다.

화면 캡처 2022-12-17 153152.png

그러면 중국 주요 도시의 발열 관련 검색 수는 어땠을까? 도시 데이터 단은 2022년도의 데이터를 다음과 같이 조사하였다. 상해의 경우 4월에 봉쇄가 있었다. 그리고 발열 관련 검색은 4월 10일에 평균 수준의 1.57배에 달했다. 창춘은 3월 9일에 1.74배에 달했다. 우루무치는 10월 20일에 2.60배에 달했다. 이 도시들 모두 피크 치 이후 폭발적인 감염자 발생이 있었다.

화면 캡처 2022-12-17 153431.png

우루무치의 경우 상하이나 창춘에 비해 검색 수가 높은데 실제 감염자 수는 적었다. 왜일까? 그것은 아마도 중국 정부가 데이터를 조작했을 가능성이 높다. 우루무치에는 전국에서 의료진들이 지원을 갔는데 지금까지 해제되지 않고 있는 것을 보면 말이다.


그리고 베이징은 12월 초 검색 수가 3.98배에 달했다. 바오딩은 4.98배, 스쟈좡은 4.00배에 달했다. 의심할 여지없이 이들 도시들에 감염 폭발이 오고 있는 것이다. 게다가 상하이나 우루무치에 비해 훨씬 큰 규모일 것을 짐작할 수 있다. 세계를 놀라게 했던 상하이 봉쇄가 이렇게 보면 검색 수 1.57배 증가에 불과했다. 20대에서 상하이 서기 리창이 코로나 사태의 책임이 있어 상무위원 승진이 어려울 것으로 예상했던 사람들이 있었는데 이렇게 보면 상하이가 얼마나 관리를 잘했는지 알 수 있다.


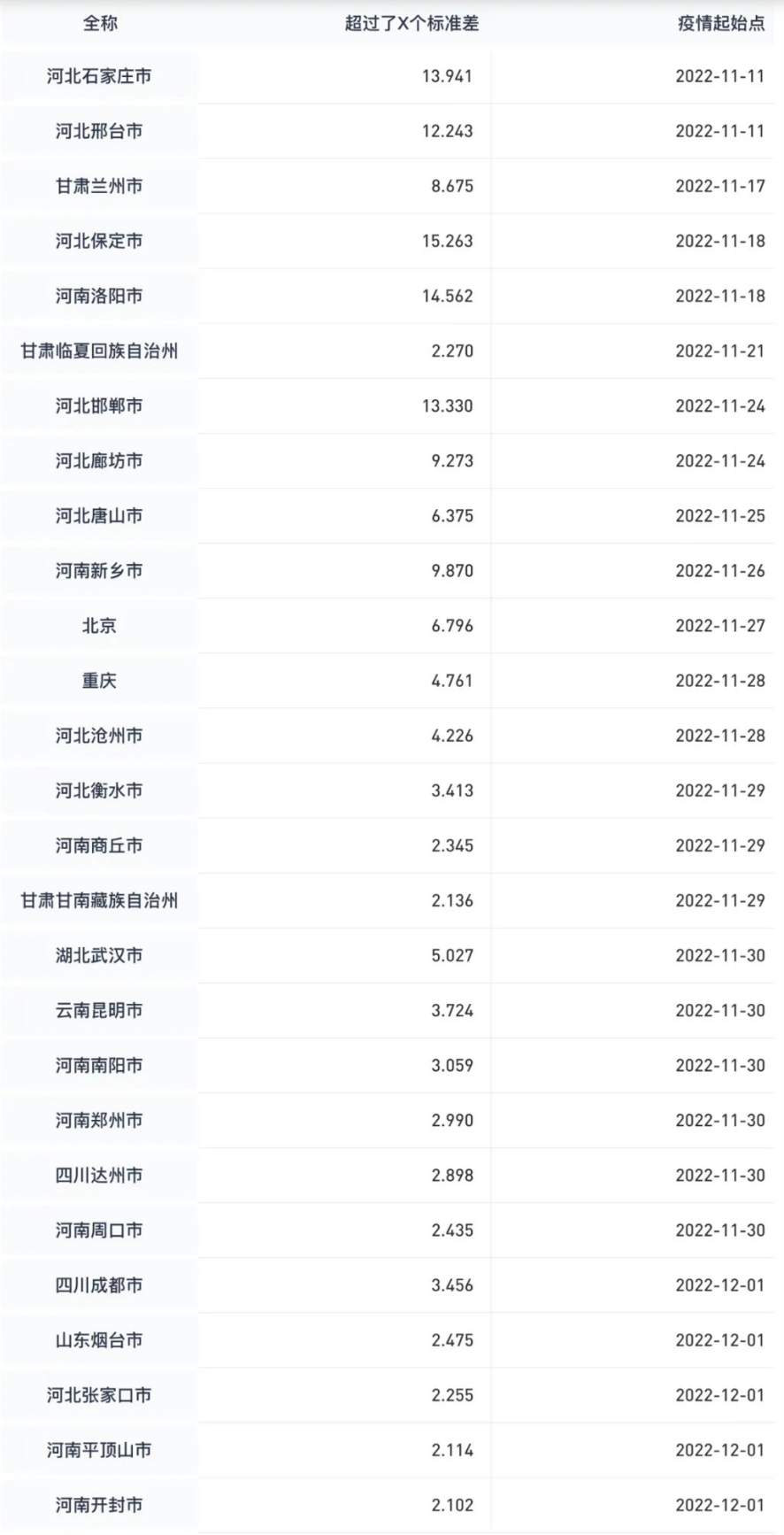
중국 정부가 11월 11일 소위 20개 조치를 발표하며 코로나를 억제할 수 있다고 했는데 그날부터 중국의 여러 도시들의 검색 수 피크 배수를 살펴보면 다음과 같다. 바오딩을 보라. 11월 18일 15배를 넘었다. 허난 성 뤄양 시는 같은 날 14배를 넘었다. 베이징은 11월 27일 6.8배 정도이다.

화면 캡처 2022-12-17 155123.png

그리고 이들 도시들의 코로나 확산 시작일을 추정했는데 대부분 11월 초순에서 하순까지임을 알 수 있다. 즉 중국 정부가 코로나를 잡을 수 있다며 20가지 조치를 발표하고 있을 때 코로나는 전국에서 확산 중이었다는 의미이다.


이들 도시 데이터 단은 코로나 감염을 넘어 집단 면역 시점을 예측했다. 그리고 그 결과는 다음과 같다. 먼저 감염 폭발했던 상하이나 광저우는 12월 7일경 집단 면역을 이룰 것으로 추정했다.

집단감염에상독시.png

이들은 코로나 라운드가 생각했던 것보다 일찍 시작되었음을 알 수 있다고 한다. '20대 조치'가 발표된 첫날인 11월 11일 허베이성 스자좡과 싱타이 시에서 집단 감염이 본격화되기 시작했고, 거의 한 달 동안 지속됐으며 둔화되지 않고 있다는 것이다. 2차 감염자는 11월 17일부터 11월 18일까지 란저우, 간쑤, 허난성 뤄양, 허베이성 바오딩이었고 그 루는 아마도 2주 동안 한단, 랑팡, 탕산, 창저우, 헝수이, 장자커우… 등일 것이라고 한다.

이들은 방역 접종 효과와 사망률 등을 분석하여 중국 정부가 3월 경에 방역 완화를 했어야 했다고 주장한다. 그 구체적 통계 분석 방법은 전문적 내용이라 필자도 잘 이해되지 않아 생략한다. 이들에 의하면 기존 방역 효과와 동일한 효과를 오미크론을 대상으로 얻으려면 사람들의 이동량을 추가로 52% 정도 줄여야 한다고 한다.

봉쇄인구.png


금년 중국의 봉쇄 인구는 28%까지 다다랐다. 3월 초부터 11월 말까지 중국에서 총 10억 명이 봉쇄를 경험했고, 평균 27일 동안 봉쇄됐다. 현재 노령 인구 중심으로 코로나로 인한 사망 예상자가 170만 명 정도이다. 이 사람들을 어떻게 보호할 것인가가 관건이다. 그러나 중국 정부는 아예 무증상 데이터를 이제 그만 발표하겠다고 선언했다. 데이터 신뢰성에 대한 지적을 방어할 길이 없어진 때문이다.

https://news.mingpao.com/pns/%e4%b8%ad%e5%9c%8b/article/20221215/s00013/1671041589401/%e4%ba%ac%e7%96%ab%e9%a2%a8%e6%9a%b4%e5%90%b9%e6%95%a3%e5%a4%9a%e5%80%8b%e8%a8%98%e6%8b%9b-%e7%96%ab%e6%83%85%e6%95%b8%e6%93%9a%e5%8f%8d%e9%99%8d%e8%a2%ab%e8%b3%aa%e5%a4%b1%e7%9c%9f-%e7%84%a1%e7%97%87%e7%8b%80%e5%81%9c%e5%a0%b1-%e8%a1%9b%e5%81%a5%e5%a7%94-%e7%84%a1%e6%b3%95%e6%8e%8c%e6%8f%a1%e5%af%a6%e6%95%b8

중국 당국도 노령자의 위험을 홍보하고 있어서 중국의 노인들, 특히 도시의 노인들은 불안하기 이를 데 없다. 그러자 베이징에서는 민간에서 만든 다음 설문 링크가 돌고 있다. 각자 스캔을 해서 실제 양성자 수의 통계를 내고 있는 것이다.(김진영 님 감사합니다)


微信图片_20221217154258.jpg
微信图片_20221217154241.jpg

2022년 12월 17일 낮 기준으로 설문에 응한 사람 가운데 26만 7705명이 음성으로 60.3%였고 17만 6249명이 양성으로 39.7%였다.


이제 사람들의 관심은 1월 22일 춘절에 대한 중국 정부의 정책이다. 이미 지방 정부에서는 베이징이나 상하이 같은 대도시에서 방문 올 사람들을 생각하여 비상 상태라고 한다. 특히 농촌에서는 방역 접종 비율이 낮고 노인 비율이 높아 일시에 대도시에서 양성자들이 대거 방문하면 큰 피해를 입을 가능성이 있다고 한다. 하지만 중국 당국은 이미 방역 완화를 선언하였다. 아무래도 방역 완화가 아닌 방역 포기일 가능성이 높지 않은가?

keyword
매거진의 이전글중국의 백지 혁명과 방역 완화