brunch

핀테크 - 모바일 결제 (하1)

구글 모바일 결제 - 안드로이드 페이 특허

by 역삼동 이변리사

이번 장에서는 모바일 결제와 관련된 특허를 살펴보겠습니다. 기술에 대한 이해가 있는 경우 보다 재밌게 볼 수 있으므로, 잠깐 앞의 내용을 보실분은 아래의 링크를 참조하세요.


https://brunch.co.kr/@dawner/28



안드로이드 페이 Android Pay, by Google

google_application.jpg
google_map.jpg

[ 모바일 페이에 대한 년도별 출원 및 발명자 국적 현황(미국, 독일, 인도) ]


이 중 관심가는 몇개의 특허를 살펴보겠습니다.


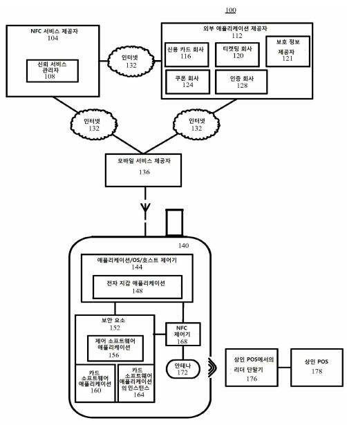
그리고 이번 특허의 내용을 간략하게나마 이해하기 위해서는, 금융 결재 시스템의 내용 일부를 이해하면 좋습니다. 보안요소(Seure Element), TSM(TrustedService Manager)등을 이해하기 위해서는 아래의 블로그를 추천합니다.


http://skccblog.tistory.com/192







원클릭 오프라인 구매 ONE-CLICK OFFLINE BUYING
최초 출원 : US 61/536042 (2011.09.18) - provisional(가출원)


onclick offline(KR).png


비접촉식 지불 거래를 개시하는 방법

(a) (준비단계) 휴대폰의 스크린 활성화,
(b) NFC 시스템 활성화, 보안 요소(SE) 활성화;
(c) 휴대폰에서 NFC 신호 검출;
(d) 휴대폰에서 비접촉식 통신 세션 확립;
(e) NFC 단말기로부터 지불 거래 정보 수신;
(f) 휴대폰의 보안 요소(SE)에 저장되는 디폴트 지불 정보 송신;


: NFC를 통한 휴대폰 결재를 진행할 때에 모바일 장치를 이용하려면, 기기를 키고, 활성화 상태에서, 결재할 카드를 고르고, 필요한 경우 비밀번호 등을 입력하는 절차들을 거쳐야 합니다. 경우에 따라서 사용자들은 각각의 모바일 결제에서 특정 지불 조건만을 사용하는 경우가 많은데, 이런 특정 지불 조건을 저장하여 사용하는 경우에는 보다 사용자들의 사용 경험을 간소화할 수 있습니다.


본 발명의 핵심은 휴대폰 내에 저장되는 디폴트 지불 정보를 이용하는 것입니다. 여러 심사 과정에서 본 특허는 'NFC 신호를 검출하기 전에는 활성화 되지 않는 보안 요소'를 이용한 통신이라는 한정을 부가해서 등록을 받았습니다(US 9390414). 한국, 일본, 중국, 유럽, 호주에서는 같은 내용의 출원이 진행중입니다.






보안 요소를 갖지 않는 지불 거래들의 처리 PROCESSING PAYMENT TRANSACTIONS WITHOUT A SECURE ELEMENT
최초 출원 : US 61/635277 (2012.04.18) - provisional(가출원)


google2.png


보안 요소 없는 지불 거래 방법

(a) POS로부터 지불 계정 정보를 요청 받음
(b) 휴대폰은 비보안 요소 프로세서로 수행 가능한 요청으로 변환하여 처리
(c) 휴대폰은 보안 요소에서 처리된 것 처럼 보이는 응답을 비보안요소를 이용하여 생성하고, 이 응답은 계좌식별 정보를 포함하여 지불 제공자들이 계좌를 이용하여 거래를 처리하게 함
(d) 생성된 정보를 휴대폰에서 POS기기로 전달함


: 이 특허는 보안요소가 없이 계좌정보를 전달하지만, 실제로 이렇게 전달되는 정보의 형태가 보안요소에서 생성된 것처럼 보이도록 생성하여, 처리함으로써, 지불 제공자들 간에 보안요소 없이 계좌 정보를 전달할 수 있도록 하는 것을 그 내용으로 하고 있습니다.


일반적으로 휴대폰 제조사는 통신사(MNO; Mobile Network Operator - SK, KT, LGU+)를 위해 그들과 거래가 있는 지불 제공자(예들들어 Master Card)를 위한 특정한 TSM(Trusted Service Manager)을 선택합니다. 소비자들은 VISA를 사용하고 싶은데, 제조사들은 소비자가 원하는 VISA와 연계된 TSM을 선택하는 것이 아니라 보통 통신사가 원하는 Master Card와 연계된 TSM를 제조사에게 요청합니다.


따라서, VISA를 쓰고 싶은 고객들의 요구를 만족시킬 수 없습니다. 위의 특허는 다른 지불자들 간에 계좌정보를 보안 요소(SE) 없이 전달할 수 있는 기능을 포함하고 있습니다. 따라서, 제한된 TSM이 있더라도 타사의 카드나 은행을 이용할 수 있게 하는 기술입니다.


현재 한국, 미국, 일본에 등록되어 있으며, 호주, 유럽, 중국, 캐나다 등에 출원 중입니다.






PREDICTIVE AUTHORIZATION OF MOBILE PAYMENTS 이동 전자 지불의 예상된 권한 부여
최초출원 : US 15/012316 (2016.02.01)


google3.png



스마트 시계를 이용한 결제 방법

(a) 지불 시스템으로부터 스마트 시계로 결제 정보를 전달 받고,
(b) 스마트 시계는 휴대폰과 가깝게 위치하는지 판단하고,
(c) 스마트 시계는 휴대폰이 신뢰할 수 있는 상태인지 판단하고,
(d) 스마트 시계는 자신이 착용 상태인지 판단하고,
(e) (b), (c), (d)가 만족되는 경우, 결제 정보를 지불 시스템에 전달함


: 애플 페이는 스마트 시계로 결제할 때에 별도로 비밀번호를 입력해야 합니다. 이것은 사용자로 하여금 다소 불편한 동작을 요구합니다(poor experience).


구글에서는 휴대폰과 연계된 결제 방식을 택해서, 휴대폰과 스마트 시계가 가까이 있는 경우에 결제가 가능한 방식을 특허로 진행하고 있습니다. 스마트 시계에서는 착용여부, 휴대폰의 인증 상태, 양 기기간의 인접 여부를 조건으로 하여 스마트 와치에서의 결제 방법을 생각하고 있는 것 같습니다.(구글의 웨어러블 결제를 조금 미리 볼 수 있게 되었네요^^)


이 특허는 올해 출원되었으며, 아직 미국에서만 심사중이어서, 등록받은 특허는 없습니다.


PCT 출원을 수반하고 있으며, 다른 특허와 마찬가지로, 이 방식을 안드로이드 페이에서 채택한다면, 미국에서 등록될 때 쯤 다른 특허와 마찬가지로, 한국, 일본, 중국 등 각국에 출원이 진행될 것으로 생각됩니다.




안드로이드 페이, 애플 페이, 삼성 페이 들의 특허를 보니 내용이 많아져서, 3부로 나누어 실을 예정입니다. 다음에는 애플 페이에 적용되는 특허들을 살펴 보겠습니다^^




keyword
작가의 이전글핀테크 - 모바일 결제(상)