brunch

다이슨이 가진 특허는?

과연 팬리스(Fanless) 권리를 다이슨이 가지고 있나?

by 역삼동 이변리사
1. 최초 영국 특허 출원



출원일 : 2007년 09월 04일

출원번호 : 2007017155(GB)

발명의 명칭 : Bladeless fan

출원인 : DYSON TECHNOLOGY LTD (GB)


20160901_104616.jpg



2. 각국 해외 출원


최초 다이슨의 fanless fan의 특허는 2007년 9월 4일 시작되었다. 영국에서 최초출원되었으며, 이를 바탕으로 각국에 특허출원을 진행하였다. 그 내용은 아래와 같다. 원래 가전제품의 경우, 수요국층이 넓기 때문에 되도록 많은 국가에 출원하는 것이 일반적이며, 다이슨의 경우 계속적인 분할 출원을 진행해서, 특허의 수를 확장하였다. 2007년 출원을 바탕으로 총 45건의 특허가 출원되었으며, 현재까지도 심사중인 건이 있다.


한국 : 3건 (등록 2건 / 거절 1건)

미국 : 5건(등록 4건 / 심사중 1건)

일본 : 3건(등록 3건)

중국 : 2건(등록 2건)

유럽 : 3건(등록 2건 / 심사중 1건)

PCT : 2건(등록과 관계없음)

러시아 : 2건(등록 2건)

호주 : 5건(등록 5건)

캐나다 : 3건(등록 2건 / 심사중 1건)

홍콩 : 2건(등록 2건)

브라질 : 1건(등록 1건)

포르투갈 : 2건(EU번역등록 2건)

멕시코 : 1건(등록 1건)




3. 심사 과정


최초청구항

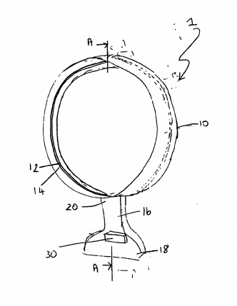
1. A fan assembly 1 suitable for creating an air current comprising a nozzle 10 and means suitable for creating an airflow through the nozzle 10,
wherein the fan assembly is bladeless; and
the nozzle 10 comprises an interior passage 20 communicating with a mouth 12,
the mouth 12 being adjacent a surface 14 and adapted and arranged in communication with the interior passage 20 so as to direct airflow from the interior passage 20 over the surface 14.

(계략적인 번역)
1. 노즐(10)과 노즐(10)을 통해 공기 흐름을 생성하는 수단을 포함하는 팬 조립체(1)는,
날개가 없고,
노즐(10)은 입구(12)와 연결되는 내부 통로(20)를 가지고,
표면(14) 위에 있는 입구(12)는 내부 통로(20)와 연결되어 공기흐름을 분사하는 것을 특징으로 함


최초 도면

20160906_232601.png
20160906_232511.png

청구항만을 가지고 정확하게 특허를 특정지을 수는 없지만, 계략적으로 내부통로(20)에 공기가 주입되고, 인접한 곳에 돌출부분(14)을 가지는, 입구(12)로 바람이 나오는 것을 특징으로 하는 것을 알 수 있다.




4. 선행 특허


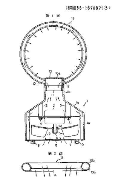
한국특허청의 심사 과정 중에 다음과 같은 인용 문헌이 있다.


일본공개공보 : 56-167897

출원인 : TOSHIBA CORP

출원일 : 1980년 5월 28일


20160908_001118.png


구성 : 공기 배출 링(13)을 흐르는 공기는 고리 모양의 슬릿(14)을 통하여 배출됨. 슬릿(14)은 강한 공기 흐름을 생성할 수 있도록 좁게 설계됨. 이렇게 강한 공기 흐름은 공기 배출 링(13) 내의 공기의 방향을 조절할 수 있고, 이를 통하여 공기 배출 링(13)에 의해 둘러싸는 전체 공간에 공기의 흐름을 제공할 수 있음.

팬의 날개(5)의 회전으로 베이스(1)의 주변으로 공기가 흡입되고, 공기 배출 링(13)와 연결되는 두 개의 공기 배출 포트(12)를 가지는 넥 피스(10)를 향하여 베이스(1)의 상단으로 공기가 전달됨.



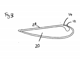
5. 차이점 부각을 통한 등록


최초 다이슨의 넓은 권리 범위 특허는 도시바 특허에 의해서 거절되었으며, 도시바에 없는 기술들을 부각하여 특허를 등록 받았다. 한국에서는 동일한 특허 내에서 두 개의 분할 출원을 진행하여 아래와 같은 내용으로 등록을 받는다. 아래에서도 알 수 있겠지만, 최초 출원의 의도와는 다소 다른 방향으로 등록된 부분이 있다. 어디까지나 변형이 있더라도, 권리가 있는 것과 없는 것은 엄청나게 큰 차이가 있다.


KR 10-1233227 (2013.02.07)


청구항 1항 (대표청구항)

기류를 발생시키기 위한 무블레이드(bladeless) 송풍기 조립체로서,

상기 송풍기 조립체는 베이스 상에 장착된 노즐을 포함하며, 상기 베이스는 상기 노즐을 통하여 공기 흐름을 발생시키기 위한 공기 흐름 발생 수단을 수납하고,
상기 노즐은 상기 베이스로부터의 상기 공기 흐름을 받아들이기 위한 내부 통로, 및 상기 공기 흐름이 배출되는 마우스를 포함하고, 상기 노즐은 축(X)의 주위로 연장되어 개구부를 형성하되, 상기 마우스로부터 배출된 공기 흐름에 의해 상기 송풍기 조립체의 외부로부터의 공기가 상기 개구부로 유입되고,
상기 노즐 및 상기 베이스는 상기 축(X) 방향으로 각각 소정의 두께를 가지되, 상기 베이스의 두께(D1)는 상기 노즐의 두께(D2)의 2배 이하이고
상기 노즐을 통하여 공기 흐름을 발생시키기 위한 상기 공기 흐름 발생 수단은, 모터, 상기 모터에 의해 구동되는 혼류 임펠러(mixed flow impeller), 및 상기 임펠러의 하류에 위치한 디퓨저를 포함하고,
상기 베이스는 하나 이상의 공기 유입구를 포함하는 측벽을 구비한,
송풍기 조립체.


KR 10-1320980 (2013.10.16)


청구항 1항 (대표청구항)

기류를 발생시키기 위한 무블레이드(bladeless) 송풍기 조립체로서,
상기 송풍기 조립체는, 베이스와 연결되고 상기 베이스에 의해 지지되어 있는 노즐을 포함하고,
상기 베이스는 상기 노즐을 통과하는 공기 흐름을 발생시키기 위한 공기 흐름 발생 수단을 포함하고,
상기 공기 흐름 발생 수단은 혼류형(mixed flow) 임펠러, 상기 임펠러를 구동하기 위한 모터, 및 상기 임펠러의 하류에 위치한 디퓨저를 포함하고,
상기 노즐은 내부 통로를 함께 형성하는 외벽 및 내벽을 포함하되, 상기 외벽과 내벽은 서로 접근하여 상기 내부 통로로부터의 공기 흐름을 받아들이기 위한 마우스를 형성하도록 배열되어 있고,
상기 마우스는 상기 외벽과 내벽 사이에 형성된 출구 쪽으로 좁아지는 테이퍼 영역을 포함하고,
상기 노즐은 상기 마우스에 인접하여 위치되는 코안다 표면(Coanda surface)을 포함하되, 상기 마우스는 상기 공기 흐름을 상기 코안다 표면으로 유도하도록 되어 있는, 송풍기 조립체.



6. 관련된 내용의 후속 출원


제품을 출시하다보면, 여러가지 문제점을 발견할 수 있고, 고객으로부터 여러가지 여러 클레임을 받을 수 있기 마련이다. 계속적으로 제품은 개선되고 이에 대한 기록은 특허권으로 남게 된다. 다이슨은 향후 관련된 특허를 계속적으로 출원하였다. 계략적인 제품에 대한 특허의 내용은 아래와 같다.(한국 특허만 소개한다.)


1. KR 10-1649246 B1(등록) : 가습 장치 (HUMIDIFYING APPARATUS)

2. KR 10-1564707 B1(등록) : 가습 장치 (HUMIDIFYING APPARATUS)

3. KR 10-2014-0135226 A(심사중) : 가습 장치 (HUMIDIFYING APPARATUS)

4. KR 10-1290625 B1(등록) : 가습 장치 (HUMIDIFYING APPARATUS)

5. KR 10-1455224 B1(등록) : 선풍기 (A FAN)

6. KR 10-1331485 B1(등록) : 선풍기 (A FAN)

7. KR 10-1293593 B1(등록) : 선풍기 (A FAN)

8. KR 10-1113034 B1(등록) : 선풍기 (A FAN)

9. KR 10-1038000 B1(등록) : 선풍기 (A FAN)

10. KR 10-1368837 B1(등록) : 선풍기 조립체 (A FAN ASSEMBLY)

11. KR 10-1370267 B1(등록) : 선풍기 조립체 (A FAN ASSEMBLY)

12. KR 10-1331488 B1(등록) : 선풍기 조립체 (A FAN ASSEMBLY)

13. KR 10-1311397 B1(등록) : 선풍기 조립체 (A FAN ASSEMBLY)

14. KR 10-1293594 B1(등록) : 선풍기 조립체 (A FAN ASSEMBLY)

15. KR 10-1278525 B1(등록) : 선풍기 조립체 (A FAN ASSEMBLY)

16. KR 10-1263742 B1(등록) : 선풍기 조립체 (A FAN ASSEMBLY)

17. KR 10-1248538 B1(등록) : 선풍기 조립체 (A FAN ASSEMBLY)

18. KR 10-1230295 B1(등록) : 선풍기 조립체 (A FAN ASSEMBLY)

19. KR 10-1214052 B1(등록) : 선풍기 조립체 (A FAN ASSEMBLY)

20. KR 10-1181883 B1(등록) : 선풍기 조립체 (A FAN ASSEMBLY)

21. KR 10-1145790 B1(등록) : 선풍기 조립체 (A FAN ASSEMBLY)

22. KR 10-1119692 B1(등록) : 선풍기 조립체 (A FAN ASSEMBLY)

23. KR 10-1119693 B1(등록) : 선풍기 조립체 (A FAN ASSEMBLY)

24. KR 10-2011-0086876 A(거절) : 선풍기 조립체 (A FAN ASSEMBLY)

25. KR 10-1320980 B1(등록) : 송풍기 (A FAN)

26. KR 10-1233227 B1(등록) : 송풍기 (A FAN)

27. KR 10-2013-0005308 A(거절) : 송풍기 (A FAN)

28. KR 10-2014-0125340 A(심사중) : 팬 (A FAN)

29. KR 10-2015-0112027 A(심사중) : 팬 어셈블리 (A FAN ASSEMBLY)

30. KR 10-1331487 B1(등록) : 팬 어셈블리 (A FAN ASSEMBLY)

31. KR 10-2014-0079484 A(심사중) : 팬 조립체 (A FAN ASSEMBLY)


7. 기술 독점성 확보


한국에서 등록 받은 기술은 기본적인 팬리스 선풍기에 대한 권리를 포괄적으로 가지고 있지 않다. 대신에, 다이슨은 팬리스 팬과 관련된 기술에서 부가적으로 필요한 다양한 기술에 대한 권리를 획득한다. 예를 들어, 소음 및 진동의 저감, 발열 방지 또는 풍향 제어 등 부가적으로 필요한 기술들을 계속적으로 연구개발하였고, 현재는 수직방향으로 확장된 타입과, 헤어 드라이어를 생산 판매하고 있으며, 이에 대한 특허도 다수 보유하고 있다.


이렇게 초기에 원하는 권리를 획득하지 못하더라도, 지속적인 출원으로 인하여 날개없는 선풍기(fanless fan)의 기술 독점성을 확보하였다. 이렇게 이미 다른 기업에 의해 개발된 부분이 있음에도 특정 기술 분야의 계속적인 연구개발과 특허의 획득은 기술에 대한 독점적인 권리 획득이 가능함을 보여는 사례라고 할 수 있다.




keyword
작가의 이전글지식재산권, 비즈니스를 보호하기