brunch

미 육군, 드론 잡는 수류탄 개발

드론 잡는 수류탄 개발 성공

by 아나드론스타팅


최근 미국과 영국에 드론으로 인한 비행 지연이 발생하면서 이에 대응하기 위한 움직임이 활발해지고 있습니다. 미 육군은 드론을 잡는 수류탄을 개발했습니다.


190211 1.jpg


기즈모도 등 주요 외신은 드론 스타트업 에코다인이 미 육군 연구원팀과 함께 드론 잡는 수류탄에 대한 특허를 냈다고 지난 8일(현지 시각) 보도했습니다.


190211 2.jpg


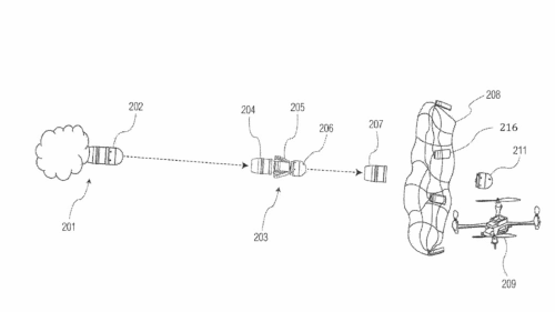
이 수류탄은 40mm 크기로 목표에 가까워지면 제어보드의 신호가 서보를 활성화해 중앙 잠금 플랜저를 당깁니다. 이에 따라 그물이 발사되며 근처에 있는 드론을 포획하게 됩니다.


190211 3.png


펜타곤의 특허 라이선스를 취급하는 테크링크의 브라이언 메츠거 선임기술관리자는 “이 수류탄으로 모든 쿼드콥터 드론을 잡을 수 있다”며 “40mm 수류탄을 사용한 것은 수십 년 동안 사용된 익숙한 무기이기 때문”이라고 설명했습니다.


190211 4.jpg


특허에 따르면, 이 수류탄은 다른 안티드론 장비와 비교해 효과적입니다. 무게가 가벼우며 별도의 훈련이 필요 없고 사용 가능한 범위가 넓기 때문입니다.


190211 5.jpg


브라이언 메츠거 선임기술관리자는 “공급할 수 있는 제조업체를 찾는 중”이라며 “이미 개발 완성 단계에 있기 때문에 조만간 생산을 시작할 수 있을 것”이라고 말했습니다.




WRITER 박소연/아나드론스타팅 필진

드론에 대해 더 잘 알고 싶은 박소연입니다.



초보자를 위한 드론 전문 웹진, 아나드론스타팅!

www.anadronestarting.com

keyword
매거진의 이전글수상드론의 미래를 개척한다, 제이와이시스템