brunch

보어의 아이디어

원자에서 전자의 에너지는 불연속이다.

by 잔박

20세기 초, 보어(Bohr)라는 물리학자는 전자와 원자핵 사이의 거리는 특정한 값들만 가질 수 있다고 가정하면 이 문제를 해결할 수 있다고 제안하였다. 전자와 원자핵 사이 거리가 특정한 값들만 가질 수 있기 때문에, 원자가 가지는 에너지 역시 연속적인 값이 아니라, 불연속적인 값을 갖게 된다. 이후 전자가 특정한 자리에 위치하는 것이 아니라, 확률 분포를 가지고 존재한다는 식으로 보다 발전된 이론이 만들어졌다.

스크린샷 2024-02-08 오후 5.37.07.png 보어의 모형. 전자는 특정한 궤도 반지름들에서만 안정하고, 궤도 사이를 오고 보어의 모형. 전자는 특정한 궤도 반지름들에서만 안정하고, 궤도 사이를 오고 갈 수 있다. 있다.

입자가 특정한 에너지만 가질 수 있다는 가설은 우리의 일상 경험과 잘 맞지 않는 것처럼 보인다. 다이빙 경기를 보면 다이빙대에서 떨어지면서 선수의 낙하 속력이 빨라지는 것을 볼 수 있다. 물리학의 관점에서 보면 이는 물체의 높이에 비례하는 위치 에너지(potential energy)가 운동 에너지(kinetic energy)로 변환된 것이다. 다이빙대의 높이를 연속적으로 바꿀 수 있다면 위치 에너지 역시 연속적으로 바꿀 수 있는 셈이다. 그러나, 양자 가설에 따르면, 입자가 가질 수 있는 에너지는 우리가 일상생활에서 눈치챌 수 없지만, 그래도 작은 간격이 있다. 비유를 들자면 일종의 계단이 있어서, 우리의 높이가 특정한 값만 가능하고, 따라서 위치 에너지도 특정한 값만 가능하게 되는 것이다. 그 외의 높이에서는 불편하기 때문에 오래 있을 수 없을 것이다.


양자 가설이라고 불리는 이 가설은 1900년 플랑크라는 물리학자가 물체가 내뿜는 열에너지를 설명하기 위해 도입하였다. 어떤 물체가 내뿜는 열에너지는 파장에 따라서 다르다는 것은 양자 역학이 태동하기 전에 알고 있었고, 고온의 물체일수록 단파장의 빛을 더 많이 내뿜는다. 플랑크 이전의 방식으로는 파장이 짧은 영역을 설명할 수 없었고, 이를 자외선 파탄이라고 부른다. 플랑크는 양자 가설을 도입하여 이 문제를 해결할 수 있었으나, 양자 가설에 깊은 의미를 부여하지는 않았다.


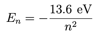
어쨌거나 보어는 양자 가설을 원자에 적용함으로써 예전에 설명되지 못했던 여러 현상들을 기술할 수 있었다. 가장 대표적인 것이 원자 스펙트럼이라고 불리는 것이다. 보어의 이론에 따르면 전자의 에너지는 다음과 같은 식으로 주어진다.

스크린샷 2024-02-08 오후 5.39.01.png

식을 보면 에너지가 n이라는 변수로 기술되는 것을 알 수 있다. 이 값을 주양자수(principal quantum number)라고 부르며, 전자가 차지할 수 있는 상태들, 즉, 에너지 준위들의 번호라고 생각하면 된다. 원자의 경우 이런 상태를 오비탈(orbital)이라고 부르기도 하며, 전자의 주소라고 생각해도 되겠다. 이 오비탈은 전자가 2개 채워질 수 있는데, 수소 원자는 전자가 하나만 있어서 오비탈을 절반만 채우게 된다. 에너지 단위인 eV는 1.602,176,634 곱하기 10의 마이너스 19 제곱 줄(Joule, J)에 해당한다. 1J이 대략 100g에 해당하는 물체를 1 m 들어 올리는데 필요한 힘인 점을 생각하면, eV의 단위가 얼마나 작은지 가늠할 수 있을 것이다.


우리가 이사를 다닐 수 있듯이 전자 역시 움직여서 다른 주소를 가질 수 있는데, 이를 전이(transition)이라고 부른다. 기사를 보다 보면 기자들이 퀀텀점프(quantum jump)라는 말을 가끔 쓰는 것을 볼 수 있는데, 전이가 퀀텀점프에 해당한다. 수소 원자에서 전자는 n = 1인 상태에 있기를 선호하는데, 특정한 에너지의 빛을 흡수하게 되면 다른 상태로 퀀텀점프할 수 있다. 과학자들은 전자가 들뜬상태가 되었다고 이야기한다. 수소 원자가 들뜬상태에서 보다 안정한 아래 상태로 전이하게 되면 그 에너지 차에 해당하는 만큼의 에너지를 가진 빛이 나오게 된다.

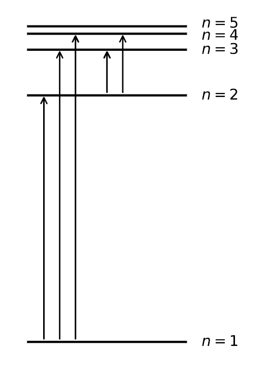
스크린샷 2024-02-08 오후 5.39.30.png 수소 원자의 에너지 준위와 가능한 전이들. n은 무한대까지 가능하나, 보기 쉽도록 5까지만 그렸다.


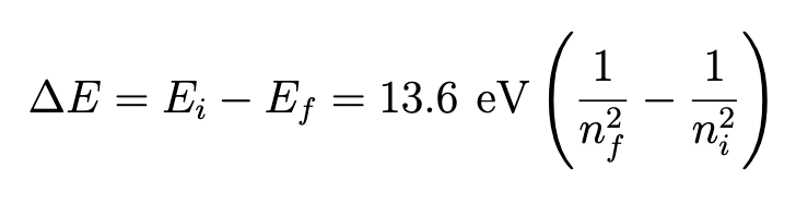
방출되는 빛의 에너지는 처음과 나중 주양자수를 알면 구할 수 있다.

스크린샷 2024-02-08 오후 5.40.48.png

이 식은 이전까지 알려져 있던 수소 원자의 방출 스펙트럼을 잘 기술하였고, 보어 모형이 단순하지만 꽤 유용한 모형임을 잘 보여준다. 반대로 수소 원자가 빛을 흡수하여 낮은 에너지 준위에서 높은 에너지 준위로 전이도 가능하다.




keyword
매거진의 이전글원자는 왜 안정하지?