brunch

애플의 미래 전략은? AR, 애플카? 아이폰?

by 윰기자

안녕하세요, 경제유캐스트 윰기자입니다.



아이폰이 애플의 매출 절반 이상을 가져다주면서 든든한 먹거리로 자리잡고 있지만, 애플의 미래를 책임진다고 보기에는 어려움이 있죠. 아이폰에서 더 이상 큰 성장을 기대하기 어렵기 때문이죠. 하지만 애플은 여전히 성장에 대한 의지가 높은 기업입니다.



그래서 이번 영상에서는 애플이 아이폰이 아닌 다른 무엇으로 미래 성장 전략을 구상하고 있는지 살펴볼게요.



애플의 단기적 미래 먹거리부터 시작해서 장기적으로 성장을 노리는 부분을 하나씩 살펴보겠습니다.


그리고 결국엔 그래도 왜 아이폰이 애플에게 계속 중요한 존재일지는 영상을 끝까지 봐주시길 바랍니다.

>> 영상으로 보러가기 : https://youtu.be/c3BPK8WI8ng


#AR


먼저 단기적인 성장 전략을 보면, AR과 헬스케어, 애플서비스를 볼 수 있어요.

AR은 증강현실을 말하죠. 팀쿡은 몇 년전부터 “애플의 미래 먹거리는 AR이다”라는 말을 수차례 강조했는데요, 페이스북을 비롯해 많은 테크 기업들이 가상현실인 VR을 강조할 때도 애플은 꾸준하게 AR에 대한 관심을 드러냈죠.

그리고 IT 업계에서 애플이 AR에 대한 관심이 심상치않다고 보는 이유는, 애플의 특허 출원 때문이기도 합니다. 애플은 끊임없이 새로운 기술과 관련된 특허를 출원하는데, 그중 많은 부분이 AR과 관련됐어요.

지금 당장 AR 특허 기술과 관련된 서비스나 기기 출시로 이어지지는 않겠지만, 관련 기술을 계속 연구개발하고 있고, 이렇게 연구개발에 투자를 한다는 건 여기서 미래 먹거리를 찾겠다는 의지로 해석할 수 있죠.


5.ar_patent-apple-glasses-patent-2.jpeg?type=w1200 애플글래스 관련 특허(자료:애플 특허)


AR과 VR의 차이점은, AR은 현재 우리가 눈으로 보고 있는 현실세계를 바탕으로 그 위에 입체적인 형상을 덧입히는 거에요. 포켓몬 고 게임을 생각하면 쉽습니다. 반면 VR은 눈 앞에 펼쳐지는 모든 것이 현실이 아닌 그래픽으로 만들어진 가상세계를 보여주는 것입니다.

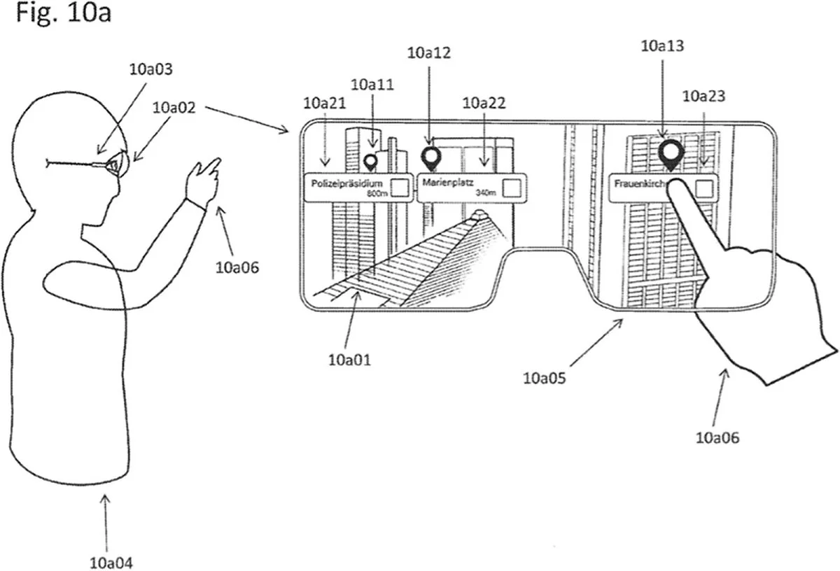
애플이 말하는 AR은 스마트 안경과 같은 ‘애플 글래스’를 쓰면 안경 렌즈 위에 증강현실이 나오거나 홀로그램을 통해 길안내를 받거나 정보를 받을 수 있는 방식이죠.

그렇다고 애플이 AR만 연구하는 건 아니고요, 2020년엔 넥스트VR이라는 회사를 인수하기도 했고 현재 1000여명의 직원들이 VR/AR 관련 업무를 하고 있는 것으로 알려졌어요. VR, AR 헤드셋 전용칩도 개발 중인 것으로 알려졌습니다.

블룸버그와 디인포메이션은 2023년에, 애플 전문 애널리스트로 알려진 밍치궈는 2025년에 AR 기기인 애플글래스가 출시될 것으로 보고 있어요.

#헬스케어


다음은 애플의 헬스케어 분야에요.

애플 CEO인 팀 쿡은 2016년 한 컨퍼런스에서 “건강은 전 세계적으로 주요한 쟁점이다. 헬스케어의 다음 단계로 도약하기 위해서는 ‘단순성’과 ‘새로운 관점’이 관건이라고 보고 있다”라고 말한 적이 있어요.

건강 관련 분야에 애플의 강점인 단순성과 새로운 관점을 불어넣겠다는 의미로 해석할 수 있죠.

애플워치는 전자 기기 중에서도 사용자와 가장 밀접하게 직접적으로 접촉하는 전자기기에요. 그 덕분에 애플워치를 사용자가 차고 있는 중이라면 걸음수, 운동 강도, 심장박동수, 심전도 등 다양한 신체 활동량과 건강 상황을 체크할 수 있죠.

11.%EC%95%A0%ED%94%8C%EC%9B%8C%EC%B9%98-%EC%95%A0%ED%94%8C.jpeg?type=w1200


애플은 이렇게 수집한 사용자의 건강 및 운동 정보를 관리하는 건강 플랫폼인 헬스킷을 운영하고 있어요. 다른 개발사가 이 헬스킷에 접근해 애플이 수집한 운동 및 건강데이터를 이용한 헬스케어 서비스들이 나올 수 있도록 했죠.

또 애플은 그동안 헬스케어 관련 스타트업인 튜이오헬스(Tueo Health), 베딧(Beddit), 글림스(Gliimpse) 등을 인수하기도 했죠.

애플은 지난해 애플워치를 활용한 건강 구독 서비스 ‘피트니스+’를 통해 홈 트레이닝 결합 구독모델도 선보였었죠.

애플이 이러한 헬스케어 서비스를 넘어 애플워치에 수집된 데이터들을 의사들과 연계해 병원에 1차 진료 서비스를 제공하는 등의 의료 서비스도 구상했지만, 현재는 정체된 상태라는 지적도 나오긴 합니다.

헬스케어를 비롯한 의료서비스는 각종 규제도 많고 관련 데이터는 워낙 민감한 개인정보를 포함하고 있기 때문에 빠르게 사업을 진행하기 어려운 부분도 있어요. 그래서 기대보다 더디게 진행된다고 느껴질 수도 있죠.

애플 외에 아마존, MS, 구글 등 대부분의 테크 기업들이 헬스케어 시장에 뛰어들어 확장하고 있는 건 분명한 사실이고 앞으로 이 분야도 테크 기업들의 경쟁이 더욱 치열할 것 같습니다. 누가 헬스케어 분야를 선점할지는 아직 모르는 일이죠.

다만 사용자와 가장 밀접하게 접촉하고 있는 전자기기인 스마트워치를 선점한 애플이 헬스케어 사업을 결코 놓치거나 뒤처지지는 않을 것으로 전망됩니다.

19.Apple_Fitness-Plus_Pilates_09142021.jpg?type=w1200



#애플서비스


다음은 애플서비스인데요, 애플서비스라고 하면, 애플 기기가 아닌 온라인 서비스, 구독서비스를 의미합니다. 애플뮤직, 클라우드, iOS 앱 수수료, 애플TV, 애플 피트니스+, 유료 애플 팟캐스트 등 계속 다양한 구독 서비스와 유료 서비스들이 나오고 있죠.

아직 애플 서비스들의 매출은 아이폰을 넘어설 정도는 아니에요. 하지만 지난 에피소드에서 봤듯이 애플서비스의 매출 점유율은 점차 높아지고 있죠. 아이폰에서 정체된 매출을 애플서비스가 메워 전체 성장을 이끄는 모습입니다.

구독 경제가 점차 확대될수록 애플의 서비스분야 성장도 지속될 것으로 보이죠. 애플 서비스분야는 사람들이 애플에 기대를 거는 ‘혁신’의 모습은 아니지만 애플의 먹거리를 꾸준하고 안정적으로 책임져줄 분야입니다.

#애플카


마지막으로 장기적으로 애플을 성장시켜줄 분야, 바로 애플카입니다. 아마 사람들이 가장 관심을 갖고 있지만, 가장 베일에 쌓여있는 분야가 아닐까 생각됩니다.

애플은 2015년 9월에 애플카 프로젝트인 ‘타이탄’을 공식적으로 발표했는데요, 애초에는 전기차와 자율주행차에 대한 연구개발을 진행할 것으로 보였지만 현재는 자율주행에만 집중하고 있는 모습입니다.

그동안 애플이 영입한 자동차, 모빌리티 관련 전문가들을 보면 대부분 자율주행 전문가들이고요. 최근에 나오는 소문들은 애플이 자동차 제조보다는 자율주행을 위한 자율소프트웨어 시스템에 집중하고 있다는 예측입니다.

자율주행이 시작되면 자동차체보다는 자율주행 시스템이 더 중요해지죠. 자동차가 하나의 컴퓨터가 되는 셈이고, 컴퓨터에서도 소프트웨어가 중요해진 것처럼, 자동차도 소프트웨어가 중요해질 것으로 보이죠.

애플카 관련 최근에 나온 소식은 애플의 타이탄 프로젝트를 책임지던, 테슬라 출신 더그 필드가 포드로 이직하고 난 뒤, 애플워치 책임자인 케빈린치가 타이탄 프로젝트를 맡는다는 소식입니다. 사실 케빈린치는 자동차 관련 경력은 없어서 우려의 목소리도 나오고 있습니다.

최근 몇 년동안 애플카 관련 핵심 인력들이 애플을 이탈하면서 여러 부정적인 소문들이 나오기도 했죠. 그리고 애플카를 포기하는 것이 아니냐, 라는 의심도 많았었는데요,


pexels-photo-919073.jpeg?auto=compress&cs=tinysrgb&h=750&w=1260


하지만 애플은 자율주행 테스트를 위한 시범 운전자 수를 늘리는 등 타이탄 프로젝트를 지속하고 있습니다. 지난 8월초 기준으로 미국 캘리포니아 주 자동차국(DMV)에 따르면, 애플은 69대의 자율주행 테스트 차량과 92명의 시범 운전자를 확보하고 있어요. 운전자를 114명까지 늘릴 수 있도록 당국의 허가도 받은 상태죠.

최근엔 또다시 애플이 자율주행 소프트웨어에만 집중하는 것이 아니라 직접 애플카, 전기 자율주행차를 만들 것이라는 전망도 나옵니다.

애플이 자율주행 소프트웨어에 집중하고 자동차 제조는 협력업체에 맡기기 위해서는 기존 완성차 업체와의 협력이 중요한데요, 완성차 업체들은 대부분 자신의 기존 브랜드를 가지고 있어요. 하지만 애플과 협력을 하게 된다면, 애플은 자동차 생산에 대한 주도권을 애플이 갖길 원할테고, 완성차 업체들은 그 주도권을 애플에게 넘기기가 쉬운 결정이 아닐 겁니다. 이미 자신의 브랜드를 갖고 사업을 하던 회사들인 걸요. 그래서 아마 애플은 기존 완성차와의 협상이 쉽지 않았을 거에요.

애플카에 대한 소문은 많고 명확하게 알려진 것이 없기 때문에 애플카가 실제로 나와야 애플카에 대한 애플의 전략을 더 구체적으로 파악할 수 있을 것 같습니다. 밍치궈는 2025년에서 2028년 사이에 애플카가 출시될 것으로 예상했어요.

#결국 아이폰?


이번 에피소드에서는 애플의 미래 먹거리에 대해서 알아봤습니다. 단기적으로는 애플 서비스, AR, 헬스케어가, 장기적으로는 자율주행차와 관련된 서비스들이 애플의 주요 수입원이 될 것으로 보입니다.

애플이 미래 성장을 위해 많은 분야를 준비하고 있는데요, 사실 저는 이 모든 것이 결국엔 아이폰 중심으로 돌아가지 않을까 라는 생각이 들었어요.

애플 서비스든, 증강현실이든, 애플카든 이 모든 것에 소프트웨어의 역할이 중요해지고 결국 iOS를 기반으로 움직이게 됩니다. iOS는 결국 애플 생태계죠.

좀더 구체적으로 상상을 해보면, 아이패드를 통해 애플 클라우드에 저장했던 영화를, 애플 카에서 이어서 보거나, 애플워치로 수집된 내 건강 데이터를 애플글래스를 통해 홀로그램으로 확인하고 의사와 상담을 할 수 있는 거죠.

29.Apple_HowToBuy_iPhone-13-Pro_09162021.jpg?type=w1200


iOS를 기반으로 여러 기기들이 연결되면 이걸 사용자가 한 곳에서 관리하는, 컨트롤 역할을 하는 기기가 필요한데, 결국 아이폰이 되지 않을까 생각됩니다. 끊임없이 새로운 기기, 새로운 서비스들을 연동하려면 최신 스마트폰이 필요하죠. 결국 아이폰 자체가 혁신이 되지 않더라도 사람들은 아이폰 신제품을 살 수 밖에 없게 될 것입니다.

애플의 생태계는 iOS와 아이폰을 중심으로 더욱 공고해지겠죠.

지난 에피소드에 이어 이번 에피소드까지 애플은 어떻게 돈을 벌까에 대해서 알아봤습니다.
다음 에피소드에서는 또 다른 기업을 준비해볼게요.

오늘도 들어주셔서 봐주셔서 감사합니다.




keyword
매거진의 이전글애플 투자 전에 알아야 할 애플 수익구조