brunch
매거진 UXUI

사용할 수 없는 UXUI 패턴, 디자인 특허

해외 아티클 리뷰 (1)

by 정연



같은 기능을 제공하는 서비스다 하더라도 어떤 사용자 경험을 주느냐에 따라 시장 우위가 달라진다. 때문에 기업들은 고객에게 좋은 사용자 경험을 주고자 연구하고 개발한 UXUI 결과물을 경쟁사들이 사용하지 못하도록 디자인 특허를 등록한다.


따라서, UXUI 디자이너라면 내 작업물이 특정 특허권을 침해하고 있는 것은 아닌지 체크하는 것이 필요하다. 더 나아가 특허 정보를 지속적으로 접하는 것도 좋은데, 특허는 서비스나 제품으로 공개되기 이전에 등록해야 하므로 기업의 관심 분야나 기술 동향을 간접적으로나마 미리 알아볼 수 있기 때문이다.


이와 관련해 "말 그대로 사용할 수 없는 UXUI 패턴(The UX/UI Patterns You Literally Can't Use)"라는 제목으로 몇 가지 특허 사례를 정리해놓은 아티클이 있어 리뷰해 보고자 한다. 리뷰할 아티클은 비교적 최신인 올해 2월에 나왔고, 같은 저자의 이전 아티클에서는 UXUI 특허에 대한 기본적인 설명과 넷플릭스나 페이스북과 같이 우리에게 좀 더 친숙한 사례도 나와있으니 함께 읽어보면 좋을 것 같다.



참고자료)



가장 재밌게 본 사례는 리프트(Lyft)로, 우버와 같은 차량 공유 서비스다. 우버나 리프트와 같은 차량 공유 서비스를 가장 많이 사용하는 곳을 꼽으라면 아마 공항일 것이다. 공항에 내려 목적지까지 교통수단이 마땅하지 않고, 비싼 공항 택시를 이용하자니 부담되는 상황에서 차량 공유 서비스는 좋은 대안이다. 리프트는 공항에서 픽업을 기다리는 이들의 편의성을 높이기 위해 터미널과 게이트 위치를 상세하게 지정할 수 있는 UI를 구성했다.

픽업 장소 지정 UI 화면 google patents @USD858534S1



리프트는 위처럼 기존 서비스의 개선과 관련한 특허도 있지만, 미래 서비스 모델과 관련한 특허도 많다는 점이 흥미롭다. 리프트는 현재 운전자와 탑승자를 중개하는 서비스인데, 출원한 특허권을 보면 자율 주행 차량을 호출하고 이용할 때의 UXUI가 많았다. (번외로, google patents에서 리프트의 특허를 쭉 살펴봤더니 자율 주행 차량 관련한 자체 기술 개발도 굉장히 활발했었는데 코로나 여파로 타격을 받아 올해, 자율주행차 사업 부문을 도요타에 매각했다고 한다.)



자율 주행 차량 탑승과 하차 시 Unlock 프로세스 google patents @US10613537B2
자율 주행 차량 탑승 시 Unlock UI 화면


위 특허는 자율 주행 차량을 탑승할 때 사용자의 앱에서 차량 잠금을 푸는 프로세스와 화면으로 추측된다. 오른쪽 수평으로 스와이프해서 잠금을 해제하는 것이 애플의 특허인 밀어서 잠금해제를 연상시킴에도 불구하고 애플의 특허를 침해하지 않으면서 리프트만의 독자적인 특허권으로 등록된 것 같다.



자율 주행 중 대시보드 UI 화면 google patents @USD842331S1




자율 주행 차량에 탑승해서는 현재 도로 상황과 도착 예상 시간, 위치 등을 볼 수 있는 대시보드 화면이 제공되는 듯하다. 해당 대시보드 화면의 GUI 역시 특허로 등록되었다.


리프트는 자율 주행 차량 탑승자뿐만 아니라 보행자나 다른 차량과의 인터랙션도 함께 고려하고 있었는데 개인적으로 좋은 UX 솔루션이라는 생각이 들었다. 예를 들어, 차량 윈도우에 "SAFE TO CROSS" 문구를 띄워 보행자에게 지금 도로를 건너도 안전한 상황이라는 것을 알려주는 것이다.


자율 주행 차량의 창문을 이용한 알림 인터랙션 google patents @US10607491B2




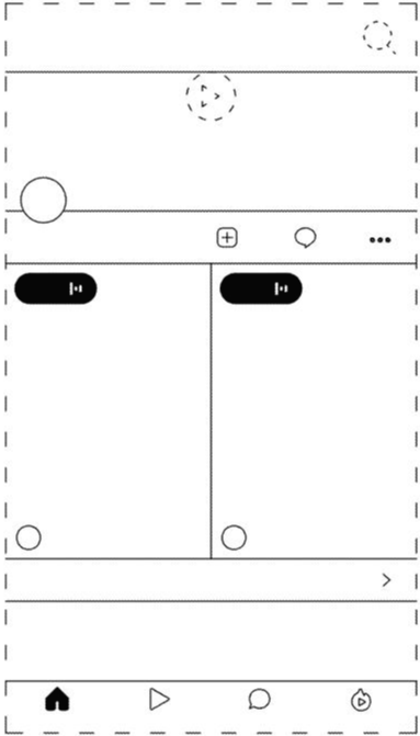
리프트 뿐만 아니라, 요즘 MZ 세대를 중심으로 핫한 서비스인 틱톡(TikTok)을 운영하고 있는 바이트댄스(Bytedance)의 특허들도 소개되어 있는데, 아티클에 소개된 것만으로는 부족해서 더 찾아봤더니 비디오 콘텐츠의 UI 레이아웃과 관련한 특허가 많았다. 틱톡 자리를 위협할만한 다른 쇼트 비디오 서비스가 나오기 이전에 이런 특허 출원을 발 빠르게 진행하고 있는 것처럼 보인다.


비디오 콘텐츠 UI 레이아웃 google patents @USD875132S1 @USD875133S1 @USD867383S1



이외에도 스포티파이(Spotify)의 Shuffle Play 버튼 디자인 특허라던지 페이팔(Paypal)의 알 수 없는 UI 애니메이션 사례도 나와있는데, 특허 내용과 함께 사용자 경험을 위한 다양한 시도들을 엿볼 수 있다는 것에 방점을 두고 한 번쯤 읽어보면 좋을 것 같다.


Spotify UI 특허



Paypal의 UI 특허


keyword
매거진의 이전글KT 기가지니에 담긴 경험 디자인 ①