brunch

엔비디아의 IP, 준비해야 할 IP

by 특허법인BLT
1e11a5a84b7ff.png


엔비디아의 주가가 최고치를 경신했다. 필자의 어린 시절 3Dfx의 경쟁자였던 엔비디아는 더 이상 그래픽 카드를 만드는 회사가 아니라 AI 모델을 학습시키고 추론하는데 이용하는 AI반도체를 설계하고, 세계경제를 주도하는 회사로 성장했다. 이 글에서는 엔비디아의 성장에 기여한 IP(Intellectual Property) 전략과 앞으로 AI 기술분야에서 준비해야 할 IP에 대해서 말하고자 한다.



혁신적인 기술에는 IP가 함께했다.

1980년대 이후 인간의 생활을 크게 변화시킨 장치를 꼽으라면 바로 컴퓨터와 스마트폰일 것이다.


컴퓨터는 컴퓨터 상에서 구현되는 소프트웨어를 통하여 다양한 산업분야에서 자동화를 이루었고, 스마트폰은 그러한 컴퓨터를 휴대하고, 앱을 통해 다양한 서비스를 제공할 수 있었다.


인텔의 특허기반 x86 아키텍처 IP는 인텔이 CPU 분야에서 독점할 수 있는 기술적 해자를 제공했다. ARM이 제공하는 AP 설계의 특허 역시, ARM이 스마트폰 AP를 독점할 수 있는 제도적 장치를 제공했다.


즉, 컴퓨터의 CPU를 제공하는 인텔과 스마트폰의 AP설계를 제공하는 ARM모두 IP를 기본으로 해자를 구축하고 입지를 견고히 할 수 있었다.


1.png [표 1 : PC와 스마트폰 비교]


컴퓨터와 스마트폰을 잇는 혁신 기술로 인공지능 AI가 대두되고 있으며, 인텔과 ARM이 그랬듯 엔비디아도 경쟁력 확보를 위해 IP포트폴리오를 전략적으로 구축하고 있다. 아래에서는 엔비디아의 성장에 근간이 된 엔비디아의 IP전략에 대하여 소개한다.



엔비디아의 IP 전략 1

: 근본에 집중

엔비디아는 GPU(Graphics Processing Unit)를 설계하는 기업이다. 엔비디아가 생산하는 GPU는 Graphic Processing Unit이라는 이름이 무색할 정도로 데이터 센터에 사용하는 칩이 되어버렸지만, 병렬연산에 최적화되어있는 칩이며, 엔비디아는 병렬연산을 위한 많은 수의 양질의 특허확보를 지속적으로 확보하고 있다.


61838ed2f9a45.png [그림 1 : 엔비디아 Processor관련 특허동향]


그림 1에서 볼 수 있듯이 엔비디아는 기술적 우위를 점하고 있으면서도 프로세서에 대한 특허를 꾸준히 지속적으로 출원하고 있다. 엔비디아는 자체 개발하고 설계한 프로세서를 특허로서 지속적으로 꾸준히 보호하고 있는 것이다.


또한, 엔비디아가 확보한 멀티스레드 병렬 처리 기술, GPU의 유닛을 다양한 목적으로 사용할 수 있는 등록특허는 2014년에 삼성과 퀄컴에 침해주장의 근거가 되는 특허로 사용되기도 하였다.



엔비디아의 IP 전략 2

: 구성간 연결(connection)에 대한 기술을 확보

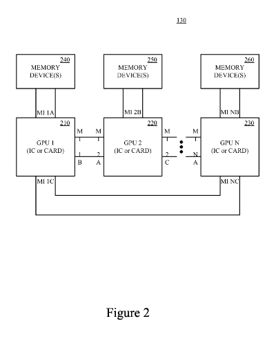
엔비디아가 설계하고 제작하는 AI반도체는 여러 구성들이 연결되어 동작하는데, 특히 GPU와 메모리의 연결관계가 매우 중요하다.


범용적으로 쓰이고 있는 초거대 모델, GPT3의 경우 1750억 개의 파라미터로 구성되는데, 한 파라미터당 2바이트의 메모리가 할당되며, 우리가 Chat GPT를 이용할 때마다 GPU는 1750억에 2바이트가 할당된 350GB에 해당되는 데이터의 연산을 수행해야 한다.


통상 하나의 GPU의 경우 8개의 메모리(HBM : High Bandwidth Memory의 경우)와 연결되어 80GB 메모리와 통신을 수행하게 되는데, 이것은 350GB에 턱없이 부족한 용량이다. 따라서 엔비디아는 이러한 GPU 8개를 연결하고 동기화하여 학습 및 추론을 수행하도록 설계하였다.


이러한 AI반도체의 동작에서 구조적 한계를 극복하기 위하여 각 GPU를 연결하는 연결 기술이 매우 중요하며, 엔비디아는 여러개의 GPU를 연결하고 동기화하는 기술을 특허로 확보해 놓았다.


0472cdd716fe5.png [그림 2: Multi GPU interconnect techniques, Fig.2]


그림 2는 엔비디아의 GPU 인터페이스 간 연결기술인 NVlink관련 등록특허를 나타낸 것이며, 해당 특허 청구항에서 각 GPU의 메모리 인터페이스가 서로 연결되어 전체 통신 비트폭을 유지하는 기술적 특징을 제시하고 있다.


이처럼 엔비디아는 자신들이 설계하는 GPU에 대한 특허와 타사가 설계한 메모리를 연결하는 연결기술에 대한 권리를 확보하였다.


연결기술을 특허로서 확보하면 연결되는 객체다 달라지더라도 권리주장이 가능하다. 이를테면 GPU에 HBM이 연결되어도 엔비디아는 권리를 주장할 수 있으며, GPU에 LPDDR(Low Power Double Data Rate)이 연결되어도 권리주장이 가능할 것이다.


즉, 엔비디아는 디바이스의 필수적 연결 기술을 확보함으로써, 구성 자체의 권리를 확보하는 것 이상의 활용성 있는 특허를 선점하였고 이러한 특허 포트폴리오는 엔비디아의 경쟁력 향상에 기여하였다.



엔비디아의 IP 전략 3

: 시스템 청구항(system claim)의 활용

일반적으로 시스템 청구항은 특허 기술의 동작을 설명하기 용이한 반면, 기술 실시 주체가 달라 침해적발이 어려운 단점이 있다. 이러한 치명적인 단점 때문에 일부 기술분야에서는 시스템 청구항의 작성이 지양되기도 한다.


그러나 엔비디아의 특허 다수에는 시스템 청구항이 포함되어 있다.


6ce082c240d53.png [US 2024-0112007 A1의 시스템 청구항]


다만, AI반도체의 경우에는 1) GPU, 메모리 등 다양한 구성들이 시스템을 이루어 동작하는 것이 필수적이여서 실시 주체가 달라지기 어려우며, 2) 오히려 특허 기술의 동작을 간결하게 제시할 수 있어 권리범위를 제시할 수 있는 점에서 시스템 청구항의 사용이 적합한 기술분야이다. 엔비디아 역시 시스템 청구항의 특성을 이해하고 시스템 청구항을 적극적으로 작성하고 있는 것으로 보인다.



엔비디아의 IP 전략 4

: AI 반도체 생태계에 대한 IP확보

엔비디아는 상술한 전략 1 내지 3을 이용하여 AI 반도체 기술 개발의 핵심 요소들을 포함하는 전략적인 특허 포트폴리오를 구축하였다. 이러한 특허 선점은 단순히 기술을 보호하는 수준을 넘어, 향후 기술 발전 및 사업화에 유리한 위치를 선점할 수 있도록 한다. 특허 확보는 엔비디아의 기술적 우위성을 입증하고, 경쟁사로부터 차별화되는 중요한 요소이다.


엔비디아는 AI반도체 자체에서 더 나아가 CUDA(Compute Unified Device Architecture) 플랫폼이라는 개발자 친화적인 프로그래밍 환경을 구축하여 AI 반도체 활용도를 높이고 있다. CUDA 플랫폼은 개발자들이 엔비디아의 AI 반도체에서 손쉽게 프로그래밍을 수행할 수 있도록 지원하며, 이는 활발한 AI 생태계 형성에 기여한다.

이러한 CUDA의 IP는 엔비디아의 기술적 역량과 시장 지위를 강화하는 핵심 요소이다. CUDA 플랫폼의 폭넓은 채택과 라이센싱 수익은 엔비디아의 지속 가능한 성장을 뒷받침하는 중요한 동력이 되고 있다.


위에서 살펴본 바와 같이 엔비디아는 특허 및 특허 외적의 IP를 잘 확보하고 있다. 이는 엔비디아가 기술 경쟁력을 유지하고, 시장에서 선도적인 위치를 차지하는 데 큰 역할을 하고 있다.


이러한 상황 속에서 엔비디아 이외의 기업이 준비해야 할 IP 전략의 방향은 어떻게 될까? 엔비디아의 직접적인 경쟁자가 될 수 있는 AI반도체 기업과 그 외 기업으로 나누어서 전략을 제시하고자 한다.



AI반도체 기업의 전략

: 전력소비와 가격에 경쟁력 있는 도메인 최적화 칩의

IP확보

엔비디아의 강력한 경쟁력 속에서 차별화된 전략을 모색하는 AI 반도체 기업들에게 새로운 기회가 열리고 있다. 바로 특정 언어나 도메인에 특화된 모델과 도메인에 최적화된 칩 개발을 통한 시장 공략이다.


엔비디아는 초거대 모델 설계에 주력하고 있지만, 모든 분야에 걸쳐 경쟁력을 확보하기는 어려울 수 있다. 이에 AI 반도체 기업들은 특정 지역이나 언어에 특화된 모델을 설계하고 이를 구현하는 칩을 개발한다면, 엔비디아 칩보다 경량화되고 효율적인 솔루션을 제공할 수 있다.


이렇게 개발된 특화된 모델과 칩의 IP 확보를 통해 해당 지역이나 언어 시장에서 경쟁력을 확보할 수 있다.


특정 도메인의 연산을 효율적으로 수행하는 AI 반도체를 개발한다면, 엔비디아 칩보다 뛰어난 성능과 전력 효율을 제공할 수 있다. 고효율 AI반도체는 해당 도메인에서 AI 반도체 기업의 경쟁력을 크게 강화할 것이다. 특히, 엔비디아 칩이 직면하고 있는 전력 소비 문제를 해결하는 핵심적인 솔루션이 될 수 있다. 이렇게 개발된 칩의 IP 확보를 통해 경쟁력을 확보할 수 있을 것이다.



고도화된 도메인 지식 기반,

차별화된 서비스에 대응되는 IP확보

AI 반도체 기업이 아닌 서비스 제공 기업들은 이 시대에 발맞춰 서비스에 대한 IP(Intellectual Property) 확보와 도메인 지식 강화에 집중해야 한다.


과거 x86 아키텍처 기반 하드웨어 개발 이후 소프트웨어 서비스가 등장했고, ARM 아키텍처 기반 스마트폰 개발 이후 다양한 앱 서비스가 등장했다. 이와 같이 AI 반도체 기반 서비스도 폭발적으로 증가할 것으로 예상된다. 이러한 서비스 경쟁에서 살아남기 위해서는 AI 반도체 기술 자체뿐만 아니라 서비스에 대한 IP 확보가 필수적이다. AI 기술과 AI 반도체를 활용한 서비스에 대한 IP를 확보함으로써 기업은 경쟁력을 확보하고 차별화된 서비스를 제공할 수 있을 것이다.


한편 AI 기반 서비스는 단순한 AI 기술력만으로는 충분하지 않다. 앞으로 AI기술의 완성도가 증가할수록 각 사업 분야의 전문 지식, 즉 도메인 지식이 더욱 중요해질 것이다.

기업은 AI 기술과 도메인 지식을 결합하여 고객의 니즈에 맞는 차별화된 서비스를 개발해야 한다.


AI기반 서비스에 대한 IP 확보와 도메인 지식 강화는 이러한 전략의 핵심 요소이다.



‘AI 반도체’ 다음은 ‘AI 서비스’

현재 AI 기술은 아직 초기 단계이며, 대중의 일상에 직접적으로 적용되는 서비스는 많지 않다. 하지만 과거 컴퓨터 소프트웨어와 스마트폰 앱이 그랬듯이, AI 반도체 기반 서비스는 훨씬 더 큰 가치를 창출할 가능성이 있다. AI 반도체의 발전은 단순히 기술적인 혁신을 넘어, 우리 삶의 방식을 변화시키고 새로운 산업을 창출할 잠재력을 가지고 있습니다.


따라서 AI 시대를 앞두고 기업들은 AI 서비스 구체화와 권리화에 집중해야 한다. AI 기술을 활용한 구체적인 서비스를 개발하고, 이에 대한 지적 재산권을 확보하는 전략이 중요하다. 이를 통해 기업은 경쟁 우위를 확보하고 시장에서 차별화된 서비스를 제공할 수 있을 것이다.


AI 기술의 발전과 더불어 한국 기업들이 AI 서비스를 개발하고 IP를 확보하여 세계적인 기업으로 성장하는 모습을 기대한다.




BLT 칼럼은 BLT 파트너변리사가 작성하며 매주 1회 뉴스레터를 통해 발행됩니다.

뉴스레터 구독신청


필자 소개
박기현 변리사는 카이스트 전기 및 전자공학부를 졸업하고 2015년 52기 변리사 시험에 합격했습니다.
국내 대기업의 기술 권리화, 특허 분쟁 대응 및 컨설팅 경험을 보유하고 있으며, 자율 주행, 영상 처리, 의료기기, 기계학습, 디스플레이, 단말 UI/UX, IP 포트폴리오 설계 및 IP 심판 소송 분야를 담당하고 있습니다.


특허법인 BLT

누군가는 특허를 만들 때, BLT는 당신의 사업의 성공을 만들어 냅니다. The Only Firm for Your Success!!


#엔비디아 #NVIDIA #AI #인공지능 #AI반도체 #ai서비스 #지식재산권 #특허 #전략 #청구항 #기술 #특허법인 #박기현변리사

keyword