brunch

AI 특허와 오픈소스 라이선스 간의 관계

AI특허

by 정혜윤 변리사


안녕하세요. 더클라쎄 특허법률사무소의 정혜윤 변리사입니다.


오픈소스는 공개된 소스코드이고, 누구나 자유롭게 사용할 수 있는 소프트웨어입니다.


그러나, 구글, 마이크로소프트, 메타와 같은 최고의 오픈소스 기여자들은 최다의 특허 보유자들입니다.


누구든 자유롭게 사용할 수 있는 오픈소스와 독점 · 배타적인 권리인 특허, 뭔가 이상하지 않나요?

오픈소스를 가져다 사용하면, 최다 특허 보유자들로부터 자유로워질 수 있는 것일까요?

아니면 오픈소스를 사용하면서 언젠가 있을 수도 있는 특허 소송을 대비해야 하는 것일까요?


이번 칼럼에서는 인공지능 등 소프트웨어 특허들과 오픈소스 라이선스 간의 관계에 대해 알아보도록 하겠습니다.


더클라쎄에서는 인공지능 개발자인 변리사가 AI 사건들을 대리하고 있습니다.
COGNEX, 바이두, 뷰노, 마키나락스, 카카오게임즈, 넷마블, SIA 등의 AI 사건들을 수행하고,
AI 기업들을 전담으로 맡아 기술특례상장평가를 총괄 심사하던
변리사를 통해 성공적인 AI 특허를 확보하세요.


오픈소스란?


오픈소스란 오픈소스 소프트웨어(Open Source Software, OSS)를 뜻하는 용어입니다.


오픈소스 소프트웨어는 공개적으로 액세스 할 수 있도록 되어 있으며, 누구든지 자유롭게 확인하고, 사용, 검토, 변경, 재배포할 수 있습니다.


image?url=https%3A%2F%2Fdocs-us.oss-us-west-1.aliyuncs.com%2Fimg%2Fblog-cover-images%2Ftensorflow-vs-pytorch.png%3Fx-oss-process%3Dimage%2Fresize%2Climit_0%2Cm_fill%2Cw_1536%2Ch_1024%2Fquality%2Cq_100&w=3840&q=75


오픈소스는 인공지능 기술의 최전선에서 소프트웨어 개발을 지원하고 있습니다. 구글의 텐서플로우와 메타의 파이토치가 그 대표적인 예시입니다. 많은 개발자들과 기업들이 텐서플로우와 파이토치를 포함한 오픈소스 프로젝트들을 혼합하여 AI 애플리케이션을 개발하고 있습니다.


그럼, 오픈소스에 대한 특허권은 어떤 것들이 있는지 알아보겠습니다.





Google이 보유한 오픈소스 특허들 (Transformer, Dropout, DQN 등)


인공지능 개발자라면 이 문장을 모를 수가 없습니다.


"Attention is all you need."


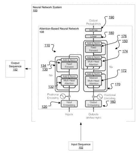
Attention Is All You Need는 Transformer 모델, 즉, Self-Attention을 처음 제안한 논문입니다. (Vaswani, Ashish, et al. “Attention is all you need.” Advances in neural information processing systems. 2017.) 해당 논문은 2023년 1월까지 62,000회 이상 인용되어 AI 분야에서 가장 많이 인용된 논문 중 하나가 되었습니다.


현재 제안되는 최신 모델들은 대부분 Self-Attention을 기반으로 하고 있습니다. 자연어 처리뿐만 아니라, 멀티모달 임베딩, 이미지, 비디오, 그래프 등 다양한 분야에서 활용되고 있습니다.


그런데, 이렇게 많은 사람들이 사용하고 있는 Self-Attention은 구글이 특허로 보호하고 있습니다. (US10/716,764)


왼쪽 그림은 Self Attention 논문에서 발췌한 내용이고, 오른쪽 그림은 구글의 보유 특허 내용입니다. 구글이 공개한 Transformer 모델을 사용하면, 원칙적으로는 구글이 보유한 US10/716,764 특허를 침해한 것이 됩니다.



image.png?type=w466
image.png?type=w466
Google의 Self-Attention 논문과 특허



그뿐만 아니라, 구글은 [신경망 학습 시 overfitting을 막기 위한 drop out]을 보호하기 위한 특허 (System and method for addressing overfitting in a neural network US14/015,768), [강화학습을 통해 신경망을 학습하는 DQN(Deep Q-Network)]을 보호하기 위한 특허 (Training reinforcement learning neural networks US10/733,504) 등 핵심적인 수많은 특허를 보유하고 있습니다.


image.png?type=w966 Google의 DQN 특허



이처럼 구글은 수많은 오픈소스 소프트웨어에 대한 특허를 보유하고 있습니다.


특허는 독점, 배타적인 권리를 부여하는 것인데, 오픈소스를 사용해도 문제가 없을까요?





오픈소스는 특허권의 허락을 의미하는 것인지?


오픈소스 소프트웨어는 창작물이기 때문에, 오픈소스를 개발한 개발자에게 저작권이 귀속됩니다. 개발자가 별도의 등록 절차를 거치지 않더라도 자동적으로 저작권이 부여되는 것입니다.


오픈소스 소프트웨어의 라이선스는 자신의 저작권에 기초하여 오픈소스 소프트웨어 사용자들에게 실시권을 허여 하는 형태입니다. 그런데, 저작권과 특허는 엄연히 다른 권리입니다. 저작권 사용 허락을 했다고 해서, 특허권의 사용 허락을 의미하는 것은 아닙니다.


구글은 오픈소스 라이선스와 OPN(Open Patent Non-Assert, 오픈특허권비분쟁서약)을 통해 이에 대해 명확하게 입장을 표명하고 있습니다.



1. 오픈소스 라이선스: Apache License 2.0


구글의 Tensorflow는 아파치 라이선스 2.0을 차용하고 있습니다.


아파치 라이선스 2.0은 2차 변형물에 대한 특허 출원을 명시적으로 허여하고 있으며, 오픈소스 소프트웨어 사용자들에게 영구적, 전 세계적이면서 취소 불가능한, 로열티가 없는 특허 라이선스를 부여합니다.


다만, 특허권자에게 오픈소스 사용자가 침해 소송을 제기했을 경우, Apache 2.0에 따른 특허권 허여는 모두 취소됩니다.


image.png?type=w966 Apache License 2.0의 특허 허여 조항



즉, 구글이 오픈소스에 대한 특허권을 보유하는 것은 해당 특허권을 행사하기 위함이 아니라, 추후 발생할 수도 있는 소송을 방지하기 위한 방어적인 목적의 특허권 확보임을 알 수 있습니다.



2. OPN(Open Patent Non-Assert, 오픈특허권비분쟁서약)


그뿐만 아니라, 구글은 OPN을 통해 오픈소스 특허를 방어용으로만 사용하고 소송 목적으로 이용하지 않겠다고 선언했습니다.


OPN 서약이란 자사가 보유한 일부 특허와 관련해 오픈소스 소프트웨어의 사용자, 배포자, 개발자를 상대로 특허 소송을 제기하지 않겠다고 선언한 것입니다. 다만, 상대방이 먼저 소송을 제기한 경우에는 소송으로 반격한다는 내용을 담고 있습니다.


image.png?type=w966 OPN의 특허 침해 소송을 제기하지 않겠다는 약속



구글의 오픈소스 라이선스와 OPN 서약을 통해 알 수 있는 점은, 오픈소스를 사용하면서 오픈소스 라이선스의 요구사항만 지킨다면 특허권 침해 문제는 발생하지 않을 것이라는 사실입니다.





인공지능 특허의 실효성


인공지능 등 소프트웨어 분야는 오픈소스 문화가 뿌리 깊게 자리 잡고 있습니다. 자신이 개발한 코드를 공유하고 해당 코드에 대한 피드백을 주고받으면서 모델을 발전시켜 나가는 것이 개발자들에게 이상한 일은 아닙니다.


그렇다면, 과연 인공지능 기술에 대한 특허를 받을 필요가 있는 것인지? 특허를 받더라도 실효성이 있는 것인지? 궁금하실 수 있습니다.


인공지능 특허의 경우, 대부분 특정 누군가를 공격하는 목적으로 사용하기보다는 방어적인 목적이 강한 편입니다.


내가 AI의 핵심 기술에 대한 특허권을 가지고 있다면 AI 애플리케이션을 개발하는 제3자도 내 특허권을 침해하고 있을 수 있기 때문에 함부로 소송을 걸 확률이 낮아집니다. 서로가 가진 특허권들을 어느 정도 침해하고 있는 상태이기 때문에 lose-lose 사태가 벌어지는 것을 막기 위해서, 서로 소송을 걸지 않게 되는 것입니다.


그렇지만, 내가 아무런 특허도 보유하고 있지 않다면, 무방비 상태로 노출되는 것이나 다름없습니다. 나만 일방적으로 제3자의 특허권을 침해하는 상태가 되고, 제3자는 내 특허권 침해에서 자유로운 상태라면, 제3자는 부담 없이 소송을 제기할 수 있게 됩니다.


즉, 대부분의 공개 모델은 오픈소스 라이선스를 차용하고 있기 때문에 누군가가 나한테 특허 공격을 할 확률은 낮지만, 혹시나 있을 수 있는 특허 분쟁을 차단하기 위함입니다.



이번 칼럼에서는 AI 특허와 오픈소스 라이선스에 대해 살펴보았습니다. 빅테크 기업들은 끊임없는 특허 장벽을 쌓아가고 있습니다. 전 세계가 자신들의 오픈소스를 사용할 수밖에 없는 생태계를 구축하고, 뒤에서는 혹시나 있을지 모를 전쟁을 대비하고 있는 것입니다. 더클라쎄에서는 AI 특허와 오픈소스 라이선스들을 모니터링하고 있습니다. 추후에도 이와 관련된 업데이트가 있다면, 빠르게 해당 내용으로 찾아뵙도록 하겠습니다.



AI 특허에 대한 다른 인사이트도 확인해 보세요!





저자 소개 | 정혜윤 변리사


정혜윤 변리사는 한국거래소와 나이스디앤비에서 인공지능과 소프트웨어 분야의 기술특례상장평가 전문위원으로 활동하였습니다. 또한, 국내 유수의 투자회사에서 벤처캐피털리스트로 활동하며 수준 높은 해외 딥테크 기술들을 다룬 경험을 가지고 있습니다.


IT와 BM 분야의 전문성을 살려 기술 기반 기업들의 기술특례상장평가 및 지식재산권 컨설팅을 수행하고 있습니다.





자세한 사항은 더클라쎄 특허법률사무소로 문의 부탁드립니다.

theclasseip@theclasseip.com

02-6925-6792

www.theclasseip.com



keyword
작가의 이전글직무발명보상제도를 활용한 절세 방법 (2024년 개정)