10. 추가하거나 또는 좁히거나

by 박소현

완전히 새롭게 개발되는 기술은 거의 없다고 생각하면 됩니다. 발명자들과 상담을 하면서 발명을 전부 듣고 ‘일단 검색해봅시다’, 라고 말하면 십중 팔구 ‘이런 건 아마 전혀 없을 거’라고 자신있게 말합니다.


하지만 안타깝게도 대개 비슷한 것이 이미 있습니다. 완전히 똑같은 발명이 등록도 못되고 거절된채 공개되어 있는 경우도 매우 잦습니다. 그만큼 사람들의 생각은 다 거기서 거기인거죠.


선행기술조사와 시장조사 결과로 발명을 구체화하고 차별점을 찾는다는 것은 쉽게 말하면 발명을 하라는 말인데, 이미 어떤 제품이나 서비스를 만들겠다고 마음을 먹은 사장님들이 그 단계에서 한걸음 더 나아가 발명을 더욱 구체화하고 차별점을 찾기란 무척 어려운 일입니다.


특히 경영상 이유로 어느 시한까지 반드시 특허출원을 해야하는 경우에는 시간문제로 장시간의 조사와 연구로 발명을 발전시키기 어려울 때도 많습니다.


그렇다고 포기해야할까요? 그럴 수는 없습니다. 이제 특허가 없으면 사업하기 어려운 시대입니다. 특허가 필요하면 만들어야 합니다.


구성요소 추가


가장 손쉬운 방법은 공개된 기술을 참고해서 새로운 구성요소를 추가하는 것입니다. 새로운 구성요소 하나만 있으면 거기에 여러 부가요소를 결합해서 여러 개의 청구항이 등록 가능하게 할 수 있습니다. 물론 어느 정도의 아이디어가 필요합니다만, 제품 자체의 차별점을 발명하는 것보다는 조금 쉬울 수 있습니다.


한 회사는 가정용 수경재배장치로 농촌 특별정책자금을 신청할 예정이었고, 그것을 위해 특허가 필요했습니다. 하지만, 특별한 아이디어는 없는 상황이었죠. 그저 ‘가정용’ ‘수경재배’ ‘장치’가 키워드의 전부입니다.


이럴 땐 최근에 공개된 대기업의 관련 기술특허를 참고해 아이디어를 떠올리는게 도움이 됩니다. 마침 삼성전자에서 2019년에 출원한 특허가 있었습니다.


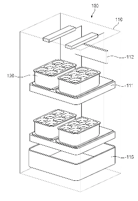
청구항을 살펴보니 주요 구성요소는 노즐, 액체공급장치, 센서, 재배박스(120) 인식기, 제어장치였습니다. 각 재배박스를 식별하고, 작물에 맞게 온습도 등을 제어하는 것이 특징인 발명입니다.


수경 재배 시스템(10-2019-0113145, 삼성전자)

작물의 생장에 영향을 주는 것은 양액에 포함된 물질조성, 온도, 습도, 광량, 빛의 파장, 이산화탄소 농도, 산소 농도, 미생물 등입니다. 이러한 상식에서 출발해서 위 발명의 구성에 결여된 것을 찾습니다.


양액 조성, 광량, 광파장, 이산화탄소 농도, 산소 농도, 미생물에 대한 구성이 없는 것 같네요.


이 중에 신청인이 손쉽게 제어할 수 있는 구성을 선택합니다. 예를 들어, 파장이 다른 LED를 혼합하고 재배 작물에 따라 적절하게 변경하는 구성을 생각해볼 수 있습니다. 실내에 들어오는 자연광의 광량을 센싱하여 자연광이 부족할 때만 인조조명을 켠다면 에너지절약을 할 수 있을 것입니다.


이런 식으로 나머지 작물 생장에 대한 요소들도 우리 발명의 구성으로 승화시켜볼 수 있습니다.


하위 개념으로 구체화


구성요소 중 하나를 하위 개념으로 구체적으로 기재하는 방법도 많이 사용합니다. 예를 들어, 저주파를 이용한 관절염치료기의 프로브의 피부접촉부분을 '금속'으로 기재하는 대신 '알루미늄 합금'으로 한정하는 것입니다. 물론 이때 알루미늄 합금으로 구체적으로 한정할 때 그에 따른 특별한 효과(구성의 곤란성)가 유발되어야 합니다. 알루미늄 합금이 일반금속보다 열전도율이 높으므로 그로 인해 치료효과 상승에 도움이 될 수 있습니다.


정말 꼭 특허가 필요한 경우라면 수치나 재료까지 한정해볼 수도 있는데, 그렇다고 너무 좁히면 권리가 좁아져서 권리행사할 수 없는 특허가 되어버리므로 주의해야합니다. 그래도 등록은 없는 것보다는 있는 것이 나으므로, 수치나 재료를 한정해서 등록이 나올 수 있다면 고려해봅니다.


초음파를 이용한 가정용 관절염 치료기는 이미 10년 전에 제품이 출시되어 판매되고 있는 제품입니다. 의료기기이므로 식약처 허가 후 공시도 되어 명확히 공지된 기술이죠. 하지만 여러가지 목적에서 우리는 특허가 꼭 필요했습니다.


그런데 아주 좁은 특정 영역대 파장의 초음파가 치료 효과가 현저히 좋다는 제조사의 얘기를 우연히 듣게 되었습니다. 이후 그 파장대의 초음파 치료기의 효과에 대한 실험데이터를 대학 연구실에 의뢰하여 실험 결과를 얻을 수 있었습니다. 이를 바탕으로 매우 좁은 특정 파장으로 수치를 한정한 가정용 초음파 관절염 치료기에 대해 특허를 확보하였습니다.


레시피도 특허등록이 됩니다. 어떤 재료를, 얼마나, 어떤 온도와 방법으로, 어떤 순서로 조리하는지가 특허 내용이 됩니다.


다만, 음식이라는 것이 인류와 역사를 같이 하다보니 재료의 양과 온도, 조리방법과 순서를 매우 좁게 한정한, 좁은 범위의 권리만 가지는 것이 보통입니다.


C쉐프는 30년차 요리사였습니다. 공중파 방송에도 여러 번 출연해서 나름대로 인지도 있는 쉐프이자, 자체 쇼핑몰을 운영하고 있는 사업가이기도 했죠. 자체 교재를 가지고 아카데미도 운영하고 있고 2년제 대학에서 강의도 하는 교수님이기도 하셨습니다.


그런데 C쉐프는 그것만으로는 조금 모자랐습니다. 바로 요리명장이 되고 싶었던 것입니다. 요리명장은 엄격한 심사를 거쳐 선정하는데, 한 해 1명만 또는 적절한 명장이 없는 경우 아예 선정하지 않을 정도로 까다롭게 심사하여 정한다고 합니다. 현재까지 단 12명만 요리명장으로 인정 받았습니다.


그런데 재밌게도 요리명장 심사에 본인의 레시피가 특허등록이 되어 있으면 높은 가산점이 있다고 하네요. 워낙 경쟁이 치열하니 특허점수 몇 점도 정말 소중하죠.


C쉐프는 4개의 특허등록이 필요했는데, 그 중 ‘바질페스토 조리방법’은 등록이 쉽지 않은 아이템이었습니다. 이미 잣이나 호두를 갈아 넣은 바질페스토가 시중에 널리 판매되고 있었습니다.


C쉐프는 잣, 호두 등의 견과류를 고소한 맛이 나는 곡물로 대체하여 제조단가를 낮추고 견과류 알레르기 문제가 없는 바질페스토의 제조방법을 연구개발을 통해 도출하였습니다.

바질페스토 제조방법

곡물을 볶은 후 1차 분쇄하는 제1 단계, 및 - 바질 100 중량부에, 1차 분쇄된 곡물 A 중량부, 엑스트라버진 올리브 유 B 중량부, 천일염 C 중량부, 통깨 D 중량부 및 파마산 치즈 E 중량부를 첨가하여 2차 분쇄하는 제2단계를 포함하는 바질페스토의 제조방법.


그러나 위 내용을 청구항으로 한 특허출원은 심사단계에서 거절이유을 지적받아 조금 더 한정하게 되었습니다.


바질페스토 제조방법 - 보정 후

곡물을 볶은 후 1차 분쇄하는 제1 단계, 및 - 바질 100 중량부에, 1차 분쇄된 곡물 A 중량부, 엑스트라버진 올리브 유 B 중량부, 천일염 C 중량부, 통깨 D 중량부 및 파마산 치즈 E 중량부를 첨가하여 2차 분쇄하는 제2단계를 포함하는 바질페스토의 제조방법으로서, 상기 곡물은 현미인 바질페스토의 제조방법.


곡물 중 맛의 유지에 적합한 “현미”로 한정하게 된 것입니다.


다만, 이렇게 구성을 추가하거나 하위개념 또는 특정 수치나 재료로 특허를 한정하는 것은 권리범위를 매우 좁히는 일이 됩니다.


그렇다면 특허를 위한 특허일 뿐일까요? 꼭 그렇지는 않습니다. 이 과정에서 많은 제품들이 업그레이드 되고 기업은 미래사업전략을 가질 수 있습니다.


그러니 신중하게, 등록이 될 정도로는 충분히 좁으면서도 권리행사가 불가능할 정도로는 좁지 않은 그 적절한 경계를 찾아내는 것이 우리의 과제입니다. 다만, 권리가 좀 많이 좁더라도 언제나 권리는 있는 편이 없는 것보다 낫습니다.

이전 10화9. 다르게 보기