brunch

피아노는 발전 중

내 실력은 정체 중

by KayYu

Member, Arm, Rib, Key, Engagement... 기술 특허를 보다 보면 흔하디 흔하게 보이는 단어들이다. 피아노도 엄연히 기계장치다 보니 특허 검색을 하다 보면 가끔 피아노 특허들도 얻어걸리기 마련이다. 기계라고는 하지만 복잡해 보이는 특허 문서에서 우러나오는 탄탄한 목재의 깊은 향기와 어디선가 들리는 건반 울림소리는 아마도 기분 탓이라고 밖에. 여기 그렇게 얻어걸린 세 가지 지식들을 피아노에 관심 있는 분들과 공유해 봅니다.


1. 어쿠스틱 특허 동향 연구논문 - 한국예술종합학교 한국예술연구소. 권미혜

2. Upright Piano - Steinway 디자인 특허

3. Keyboard device for keyboard musical instrument - KAWAI


1. 어쿠스틱 특허 동향 분석

한국예술종합학교 한국예술연구소, 권미혜


특허는 아니고, 특허 분석을 통한 어쿠스틱 피아노의 기술 동향을 연구한 논문입니다. 피아노 관련 특허의 상당수가 디지털 피아노에 쏠려 있지만 그래도 여전히 어쿠스틱 피아노 또한 발전하고 있다는 사실을 알 수 있습니다. 점점 둔화되고 있다는 사실이 조금 아쉽기도 하네요. 피아노의 기술적인 부분에 관심 있다면 흥미롭게 읽어볼 만한 자료라고 생각됩니다.


[인용] 어쿠스틱 피아노의 기술 동향을 파악하기 위해 통합 특허 데이터베이스인 톰슨 이노베이션을 활용하여 1995년부터 2015년까지 출원된 어쿠스틱 피아노 관련 특허를 분석하였다. 분석 결과, 어쿠스틱 피아노에 대한 특허 출원은 1995년에 가장 활발하였으나 이후 점차 감소하는 추세였으며, 주요 국가 중 일본의 특허 출원 비율이 가장 높았으나 1996년 이후 감소하는 추세인 반면 한국과 미국의 특허 출원은 증가하는 추세였다. 기술 성장 단계 분석론을 통하여 어쿠스틱 피아노 기술을 세분화하여 각 특허들을 검토한 결과, 디자인 관련 기술과 케이스 기술의 비율이 가장 높았으나 감소 추세인 반면, 건반 기술 및 해머 기술에 대한 특허 출원은 증가하는 추세였다.



어쿠스틱 피아노 연도별 특허 동향


"어쿠스틱 피아노 기술의 연도별 국가별 동향을 검토한 결과, 한국은 연평균 약 10여 건, 미국은 연평균 약 30여 건, 유럽은 연평균 약 30여 건, 일본은 연평균 80여 건의 출원이 이루어지고 있음이 확인되어, 일본이 어쿠스틱 피아노 기술 발전을 주도하였던 것으로 확인되었다. 특히, 일본 회사인 가와이(KAWAI®)와 야마하(YAMAHA®)가 어쿠스틱 피아노 관련 가장 많은 특허를 출원한 출원인임 을 확인하였다. 다만, 일본에서는 1996년 130여 건의 특허를 출원한 후 특허 출원 수가 감소하는 추세임을 확인하였다." - 연구보고서 인용 -


본 연구보고서에서 가장 주목할 말한 특허로 유럽 특허(EP 0700029 A2)를 소개하고 있다. 아래 그 내용을 요약해 봅니다. 사실, 논문의 핵심 부분을 그대로 발췌하였으니 요약이라고 할 것도 없네요. ^^; 다만, 어쿠스틱 피아노의 타건과 원리(소리를 내고 울림이 이어지지 않고 바로 멈추도록 하는 기능 등)의 기계적 메커니즘을 대략적으로나마 이해하고 있지 않으면 정말 재미없을 글이라 생각되고, 하나 더, 특허문서를 접해보지 않았던 분이라면 뭔가 복잡하게 생긴 그림과 거기에 적힌 어지러운 번호들을 매칭해 가며 본문 내용을 오락가락 보려면 피아노 연습만큼이나 인내심이 필요할 것 같아 보이네요. 이것도 좀 익숙해지면 괜찮긴 합니다만...


EP 0700029 A2 특허는, 소음기(silencer)와 댐퍼 사이의 상관관계 기술에 대한 특허이다. 이전 종래 기술에서, 좌측 도면과 같이, 스트링(4)을 때리는 해머(2)의 아래에 소음기(1)가 위치하였으며, 사용자가 소음기(1)를 작동시키면 소음기(1)의 헤드(1c)가 90도 회전함으로써 해머(2)가 스트링(4)에 닿지 않게 생크(2b)의 하단을 잡아주어, 해머(2)가 스트링(4)을 때리지 못하게 하여 소음이 이루어졌다. 이 경우, 소음기(1)가 해머(2)의 생크(2b)를 과도하게 잡아 유지하므로 연주자가 건반을 누르는 경우 그 감각을 방해하였고, 연주자가 건반을 강하게 누르면 생크(2b)가 휘어지는 현상(deflection) 이 발생하였으며, 댐퍼(3)에 소음기(1)가 닿음으로써 댐퍼 페달 기능에 오류가 발생하는 문제가 있었다.


EP 0700029 A2 특허는 이러한 문제를 해결하고자, 의 우측 도면과 같이, 소음기(31)가 약 5도 내지 10도 각도만큼만 시계방향으로 회전하게 하고, 별도의 쿠션재(31c)가 생크(17c)의 상단을 잡아주어 생크(17c)의 변형을 방지하였으며, 댐퍼(3)가 닿을 수 있는 소음기 부분에 쿠션재(31g)를 위치시켜 댐퍼(3)의 손상을 방지하였다. 이를 통하여, 연주자가 건반을 강하게 누르는 경우 소음기(31)가 생크(17c)의 상단을 적은 힘으로만 잡고 유지함과 동시에 쿠션재(31g)가 완충 역할을 한다. 이를 통하여 생크(17c)의 손상이 방지되고 연주자가 건반을 누 르는 감각을 방해하지 않는다. 또한, 댐퍼(3)와 소음기(31) 사이에 별도의 쿠션재 31)가 더 구비됨과 동시에 소음기(31) 내측에 별도의 공간이 구비되어 댐퍼(3)가 삽입되는 구조를 채택함으로써, 댐퍼(3)와 소음기(31)가 함께 작동하여도 댐퍼 페달의 기능에 오류가 발생하지 않는다.


종래 기술(좌), 개선 기술(우)



2. Upright Piano (USD928223 S1)

Current Assignee : Steinway Musical Instruments Inc

Date Aug. 17 , 2021


Steinway Musical Instruments에서 공개한 최근 특허이다. Steinway Musical Instruments는 이름에서 짐작했듯이 자회사로 Steinway & Sons를 두고 있다. 특허명이 Upright Piano인데 이래도 되나 싶을 정도로 특허명도 조금 당황스럽고, Design 특허이기 때문에 기술적인 내용도 없다. 특허 본문에는 Design인과 Color에 대한 내용이 짧게 소개되어 있는데, 인쇄된 몇 장의 사진 같은 그림으로는 내용 파악이 되지 않는다. 전문가라면 어떤 Design이 다른지 알 수 있으려나 싶지만, 특허라는 게 어떤 점이 특허이며, 무엇을 보호하려고 하는 것이며, 어떤 점이 이전 기술과 다른 점이며 무엇을 개선하려 하였는지에 대한 내용이 있어야 하는데 그럼 점이 전혀 없어 이렇게도 특허가 성립하는지 정말 의아스럽다. 이런 게 Design 특허인가 보다. 솔직히 참~ 성의 없는 특허인데 워낙 유명한 메이커니 베껴가는 사람들이 많아서 그런 게 아닐까 추정해 본다. 참고로 Steinway Musical Instruments는 고급모델인 Steinway & Sons, 중급모델인 Boston, 입문자모델인 Essex 브랜드가 있고, 특허의 사진에는 Boston 로고가 새겨져 있다.

Stewinway Upright Piano 특허



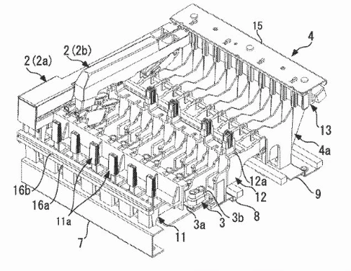
3. Keyboard device for keyboard musical instrument

Current Assignee : Kawai Musical Instrument Manufacturing Co Ltd

Date 30. Mar, 2023 (참고로, 특허는 출원 후 1년 6개월 후 공개한다)


KAWAI에 개인적으로 관심이 많다. 내 디지털피아노니까. 하하. 디지털 피아노의 개발은 궁극적으로 그랜드피아노의 터치감과 소리를 가장 유사하게 모방하는 게 목적이다. 그리고 그 중심에 가장 핵심적인 Let-off (또는 Escapement)라는 기능이 있습니다. 이 기능은 피아노의 개발 역사에서도 대단히 중요하게 다뤄지는데 건반을 빠르게 연속 타건을 하도록 해 주는 핵심적인 역할이기 때문이지요. 그래서 하프시코드와 피아노를 가름하는 역사적인 발명으로 소개되기도 하고 이 기능 덕분에 베토벤은 더 화려한 곡을 작곡할 수 있었음은 물론이고요. Let-off의 느낌이 어떤 느낌인지는 말로는 설명하기 참 어렵습니다. 그리고 초보자들에게는 그다지 중요하지 않은 문제일 수 있습니다. 하지만 점점 실력이 늘어나면서 표현력에 좀 더 집중하게 되면 건반에서 오는 미세한 반발력과 손 끝으로 전해오는 건반에 대한 탄력성, 받쳐주는 힘 등의 복합적인 느낌이 작용하고 있음을 알게 되는데 이 쯤되면 이제 돌아올 수 없는 강을 건너신겁니다. 그 터치감에 대한 눈높이는 결코 예전으로 돌아가기 어려울 같네요.


이 기능에 대한 보다 자세한 내용은 이전에 작성한 내용을 참고해 주시면 감사~ 꾸벅.

https://brunch.co.kr/@ronation/63


그렇기 때문에 Let-off의 느낌을 어떻게 살려내는가에 따라 디지털 피아노의 가격대도 큰 차이가 나게 됩니다. 여기 소개하는 특허도 이 느낌을 어떻게 살릴까, 어떻게 더 그랜드 피아노 같은 느낌을 갖도록 할까에 집중하여 개선된 기계적 메커니즘을 제안하고 있습니다. 사실, 이전 기능보다 어떤 부분이 달라졌는지까지는 파악할 여력이 없었기에 무엇이 좋아졌는지 설명할 수는 없지만 보다 개선된 점이라고만 짐작할 뿐이다. 또한 이 기능이 현재 KAWAI의 모델에 적용되었는지까지도 모르겠습니다. 건반구조도 가격대에 따라 여러 종류가 있고 이 기술의 효과에 따라 어느 수준의 기종에 적용할지 결정하지 않을까 생각됩니다. 그리고! 특허라는 게 효과가 좋다는 의미와는 별개이니까 꼭 적용된다는 보장도 없고.

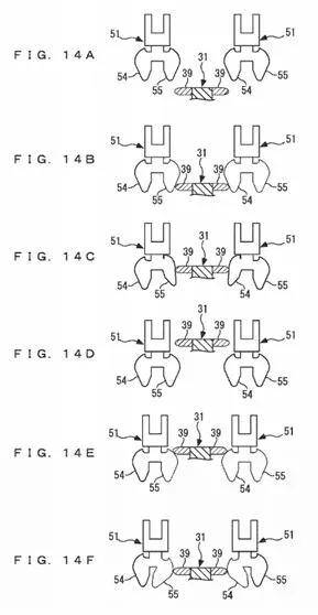
1 옥타브 건반 모듈


건반 한 개의 분해도 (White key). 45번이라고 표기된 숫자 바로 윗부분에 아래 Let-off 관련부품이 끼워진다.
Let-off 효과가 발생되는 원리. 두 건반의 단면 일부로 건반 동작에 따른 부품의 위치 변화를 보여준다.


독특한 모양의 탄성 재질의 54번 부품이 건반이 오르락내리락할 때 스치듯 지나가면서 미세한 반발력을 발생시키고 여기서 나오는 반발력은 건반이 흐물흐물하지 않고 손 끝과의 터치 시간을 수 밀리초 늘려준다. 탄성 재질의 모양에서 접촉면의 기울기를 보면 건반이 내려갈 때 저항력을 발생시키고 곡면이 꺾이는 지점을 지날 때 순간 저항력이 풀리는 느낌을 받게 될 듯하다.


흠... 자, 생각해 봅시다. 건반을 누르는 시간은 정말 수 분의 1초에 지나지 않습니다. 그럼에도 사람의 손 끝은 그 차이를 감지해 내고 이 차이에 환호하지요. 한 번 느낀 이 터치감은 잊을 수 없게 되고 악기 매장에서 눈높이가 순식간에 올라가는 바람에 마음속으로 생각했던 가격대 따위는 집어던지면서 내일은 일단 내일 생각하고 당장 지갑을 열고 카드를 긁게 만들어 버리는 마법을 발휘합니다. 이성은 끼어 들 여지가 없고 이게 다 나를 위한 것이라면서. Let-off는 그렇게 우리의 정신줄도 Let off 하게 만들기 충분한 매력적인 기술임이 분명하네요~. 짝짝짝!


오늘의 결론입니다. 피아노는 지금도 계속 발전하고 있다!

keyword