2. 명세서의 구조와 청구항 보는 법

by 박소현

명세서의 구조


명세서를 처음 접했을 때 가장 어려운 점이 특허업계 특유의 용어와 구조일 것입니다.


특허발명을 묘사할 때는 다른 대안이 없을 정도로 명확하게 기술하면서도 너무 권리를 좁히지 않도록 지나치게 구체적이지는 않도록 표현해야합니다. 그러다보니 관행적으로 쓰이는 특허용어들이 있습니다. 한자용어들이 많은 것이 특징인데 잘 읽어보면 이해됩니다.


명세서의 구조도 독특한 형식이 있습니다. 하지만 거의 고정된 형식을 쓰므로 구조만 잘 이해하면 어렵지 않습니다.


명세서는 다음과 같은 구조로 되어 있습니다.


(1) 특허정보

: 제목(발명의 명칭), 요약, 대표도

특허제도는 ‘공개’를 대가로 일정 기간 독점권을 주는 제도입니다. 기본적으로 인류공유의 문화자산이라 독점이 안되는데 ‘특별히’ 독점을 인정한다는 취지입니다. 이름도 ‘특허’잖아요.


그래서 특허에서는 ‘공개’가 매우 중요합니다. 특허정보 부분은 특허를 쉽게 검색하고 빠르고 요지를 파악할 수 있게 한 부분이라고 이해하면 됩니다. 그래서 특허공보를 보면 제일 앞에 있습니다.


특허검색을 할 때 명세서 전부를 다 읽기는 현실적으로 어렵습니다. 어떤 기술의 경우는 관련 분야 특허가 1천개가 넘게 검색되기도 하는데, 아주 충분한 시간이 주어진다면 모를까 현실적으로는 매우 어렵죠. 보통은 발명의 제목과 요약의 내용, 특허분류에 의해 검색된 특허를 요약과 대표도를 통해 빠르게 요지를 파악하고 관련이 크다고 생각하는 것들만 추려서 자세히 내용을 봅니다.


(2) 명세서

: 청구범위, 발명의 설명

발명의 구체적인 내용입니다. 발명 내용을 자세히 기술하고 그 중 특히 특허권으로 독점하기를 원하는 발명의 구성을 명확하게 청구범위로 다시 정리합니다. 두괄식으로 청구범위를 먼저 쓰고, 발명의 설명을 나중에 씁니다.


발명의 설명은 다시 발명의 상세한 설명과 도면의 간단한 설명으로 이뤄집니다. 발명의 상세한 설명에는 기술분야, 배경기술, 발명의 내용 (해결하는 문제점, 해결방법, 효과, 발명의 구체적인 내용, 실시사례 등)을 적습니다.


명세서에서 정말 중요한 내용은 3가지입니다. 청구범위, 발명의 실시를 위한 구체적인 내용, 도면. 나머지는 참고사항입니다.


청구범위(청구항)는 청구범위는 말 그대로 특허신청을 하는 발명의 범위입니다. 발명 내용 전부를 특허신청할 필요는 없다는 말이기도 합니다. 청구범위는 여러 개의 청구항들로 이루어져 있습니다. 청구항 각각이 각각 하나의 발명들로, 청구범위는 독점권을 신청한 발명다발이라고 이해해도 좋겠습니다.


발명의 실시를 위한 구체적인 내용은 특허를 가지려는 발명의 내용을 자세하게 묘사한 부분입니다. 청구범위의 정확한 이해를 위해 제출하는 것입니다. 원칙으로는 청구범위에 설정한 부분만 특허권이 있고, 상세한 설명의 내용은 참고용입니다. 하지만 보통 청구항만 봐서는 특허 내용을 명확히 이해하기 어려운 경우가 많기 때문에, 특허의 권리범위가 어디서부터 어디까지인지 판단할 때는 상세한 설명의 내용을 토대로 판단하게 됩니다. 최대한 많이 자세하게 적는 것이 좋습니다.


도면 역시 참고용이지만 언어로 표현된 추상적인 기술을 눈으로 보고 이해할 수 있도록 해준다는 점에서 매우 중요합니다. 도면을 보거나 실제품을 보고나서야 발명과 청구항이 이해되는 경우도 많고, 청구범위 해석의 중요한 기준이 됩니다.


명세서를 읽을 때는 우선 도면을 먼저 보면 쉽습니다. 도면은 발명 내용을 이미지로 묘사한 것이기 때문에 이해가 빠르게 됩니다. 도면을 보면서 청구항과 매칭해보면 쉽게 발명의 구성이 이해됩니다. 친절하게도 청구항에는 발명의 구성요소에 매칭되는 도면상의 발명구성번호를 쓰도록 되어 있습니다. 그 이후에 발명의 상세한 설명과 효과를 읽으면 이제 다 이해될 겁니다.



청구항 보는 법


명세서에서 가장 중요한 부분은 청구항입니다. 발명의 상세한 설명에 아무리 많은 내용을 적었어도 청구항에 없으면 원칙적으로 특허권이 없습니다. 그만큼 중요합니다.


기술 내용 중 특허권을 설정한 범위를 정한 것이므로, 명세서를 볼 때도 청구항을 위주로 청구항을 이해하기 위해 나머지 부분을 본다고 생각하면 쉽습니다. 사실 청구항만 볼 수 있으면 다른 부분의 이해는 어렵지 않습니다.


청구항은 대개 발명의 구성을 나열하는 방식으로 기재하므로, 주요 구성이 무엇인지만 파악하면 쉽게 기술을 이해할 수 있습니다.


예를 들어보겠습니다.


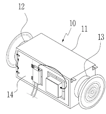
예시1: 공기 살균 정화장치(KR100809005)


[청구항1]

몸체(11) 일단에는 유입구(12)를 형성하고 타단에는 유출구(13)를 형성하며 몸체(11) 하측으로는 덮개(14)를 형성한 하우징부(10)와,

상기 하우징부(10)의 유입구(12) 일측에는 유입되는 공기에 포함된 분진을 여과하는 프리필터(20)와,

상기 프리필터(20)의 내측에 구비된 오존램프(30)와,

상기 오존램프(30)의 내측으로는 공기를 강제유입 및 유출시킬 수 있도록 회전하는 흡입팬(40)과,

상기 흡입팬(40)의 내측으로 흡입된 공기를 정화하는 원적외선 램프(50)와,

상기 원적외선 램프(50) 내측으로는 하우징부(10) 중앙에 형성되는 맥반석필터(60)와,

상기 맥반석필터(60) 내측과 유출구(13) 내측 사이로 형성된 광촉매필터(70)로 구성되는 것을 특징으로 하는 공기 살균 정화장치.

대부분 명세서에는 여러 개의 청구항이 들어 있습니다. 이 중 보통은 첫번째 청구항이 가장 중요하므로 청구항1만 파악하면 나머지 청구항은 쉽게 이해할 수 있습니다.


위 예에서 든 장치발명의 경우 ~와, ~와, ~와… 이런 식으로 구성요소를 나열하는 것이 관행입니다. 즉 ‘~와’의 바로 앞에 있는 단어에 밑줄을 그어보면 구조를 쉽게 파악할 수 있습니다.


몸체(11) 일단에는 유입구(12)를 형성하고 타단에는 유출구(13)를 형성하며 몸체(11) 하측으로는 덮개(14)를 형성한 하우징부(10)(A)와,

상기 하우징부(10)의 유입구(12) 일측에는 유입되는 공기에 포함된 분진을 여과하는 프리필터(20)(B)와,

상기 프리필터(20)의 내측에 구비된 오존램프(30)(C)와,

상기 오존램프(30)의 내측으로는 공기를 강제유입 및 유출시킬 수 있도록 회전하는 흡입팬(40)(D)과,

상기 흡입팬(40)의 내측으로 흡입된 공기를 정화하는 원적외선 램프(50)(E)와,

상기 원적외선 램프(50) 내측으로는 하우징부(10) 중앙에 형성되는 맥반석필터(60)(F)와,

상기 맥반석필터(60) 내측과 유출구(13) 내측 사이로 형성된 광촉매필터(70)(G)로 구성되는 것을 특징으로 하는 공기 살균 정화장치.


‘~와’ 바로 앞에 있는 구성에 밑줄을 그어 보니 위 발명은 7개의 구성요소로 되어 있네요. 하우징부(A), 프리필터(B), 오존램프(C), 흡입팬(D), 원적외선 램프(E), 맥반석필터(F), 광촉매필터(G)입니다.


각 구성의 옆에 붙어 있는 숫자 (10) (20) 등은 도면에서 표시하고 있는 해당 부분의 번호입니다. 하우징은 10, 프리필터는 20 등이네요.


한편, 발명의 상세한 설명에서 묘사하는 본 발명의 효과를 살펴보니 이 중에서도 특히 원적외선 램프(E), 광촉매필터(G), 오존램프(C)가 살균 효과를 갖도록 하는 중요한 구성요소임을 알 수 있었습니다.


예시2 : 아마존 구매 주문 방법 (US5,960,411A)

이번에는 방법 발명을 한번 살펴보겠습니다. 아마존에서 등록한 인터넷에서 제품을 구매하는 방법에 대한 특허입니다.


[청구항 1]

상품을 주문하는 방법에 있어서,

상기 방법은

클라이언트 시스템에 의해, 상품을 식별하는 정보를 표시하는 단계; 및

단일 액션만이 수행되는 경우, 서버 시스템에 상품 구매자의 식별자와 함께 상품을 주문하기 위한 요청을 전송하는 단계를 포함하며,

서버 시스템의 단일 동작 주문 구성 요소의 제어에 따라,

요청 수신하는 단계;

수신된 요청에서 식별자에 의해 식별된 구매자에 대해 미리 저장된 추가 정보를 검색하는 단계; 및

상기 검색된 부가 정보를 이용하여, 상기 수신된 요청에서 상기 식별자에 의해 식별된 구매자에 대한 상기 요청된 아이템의 구매 명령을 생성하는 단계;

장바구니 주문 모델을 사용하지 않고 아이템이 주문되도록 아이템의 구매를 완성하는 생성된 구매 명령을 완료하는 단계를 포함하는 것을 특징으로 하는 상품을 주문하는 방법


방법 발명의 경우 “단계”가 1개의 구성요소가 됩니다.

상품을 주문하는 방법에 있어서,

상기 방법은

클라이언트 시스템에 의해, 상품을 식별하는 정보를 표시하는 단계(A); 및

단일 액션만이 수행되는 경우, 서버 시스템에 상품 구매자의 식별자와 함께 상품을 주문하기 위한 요청을 전송하는 단계(B)를 포함하며,

서버 시스템의 단일 동작 주문 구성 요소의 제어에 따라,

요청 수신하는 단계(C);

수신된 요청에서 식별자에 의해 식별된 구매자에 대해 미리 저장된 추가 정보를 검색하는 단계(D); 및

상기 검색된 부가 정보를 이용하여, 상기 수신된 요청에서 상기 식별자에 의해 식별된 구매자에 대한 상기 요청된 아이템의 구매 명령을 생성하는 단계(E);

장바구니 주문 모델을 사용하지 않고 아이템이 주문되도록 아이템의 구매를 완성하는 생성된 구매 명령을 완료하는 단계(F)를 포함하는 것을 특징으로 하는 상품을 주문하는 방법


각 단계에 번호를 달고 핵심어에 밑줄만 그어도 파악이 훨씬 쉬워집니다.


위 특허의 청구항1은 정보 표시(A), 요청 전송(B), 요청 수신(C), 검색(D), 구매명령생성(E), 구매명령완료(F)으로 구성된 것이네요.


발명의 상세한 설명을 보니 한번의 마우스 클릭을 통해 상품 구입절차를 할 수 있게 한다는 것이 발명의 효과라고 하네요. 그러므로 청구항의 검색(D), 구매명령생성(E)의 내용이 특징이 되는 부분입니다.

이전 02화0. 왜 특허로 브랜딩인가?